先说结束语:最终向恶势力妥协,只支持单表查询,连表查的接口不能保证最终一致性,除非加一个定时校验缓存的逻辑
转载请说明出处
前言
1.为什么要用redis
2.什么是springcache
3.linux基础操作怎么用
4.docker怎么用
以上都不做解答,因为本文重点不是这些基础的东西
一:先说说怎么在docker上安装canal
1.首先直接使用官方提供的镜像
docker search canal
下载下图中这个:docker pull canal/canal-server

2.然后我们暴力的直接创建一个镜像
docker run -itd --name fuck canal/canal-server
目的是想把容器里的配置文件copy出来
然后找一个位置把里面的配置文件路径copy出来,我的文件路径是
/home/fd/wycplus/canal
然后开始复制:
docker cp fuck:/home/admin/canal-server/conf /home/fd/wycplus/canal/
3.canal有两个比较重要的配置文件:下边有图,分别是:
canal.properties (系统根配置文件)
instance.properties (instance级别的配置文件,每个instance一份)

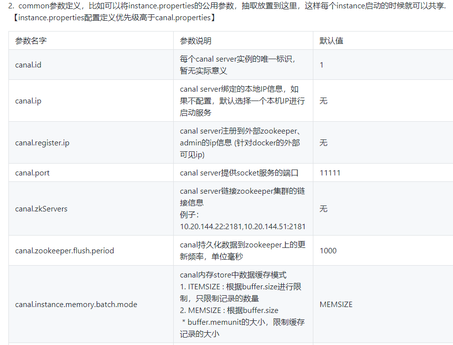
4.先介绍配置文件里都是啥意思(全是截图)
附上官方的图:(图有点长,不想看的就一直往下翻)
首先是cacal、然后是instance,可以直接去git上看
地址是:
https://github.com/alibaba/canal/wiki/AdminGuide







instance.properties介绍:
a. 在canal.properties定义了canal.destinations后,需要在canal.conf.dir对应的目录下建立同名的文件
比如:
canal.destinations = example1,example2
这时需要创建example1和example2两个目录,每个目录里各自有一份instance.properties


略过上述配置文件截图的直接看这里
1.修改canal.properties
修改的地方如下:
canal.ip =8.141.48.104
(现在还没有配mq)
2.修改example目录下的instance.properties
修改的地方如下:
canal.instance.mysql.slaveId=12
#这里填写你的mysql的master的ip
canal.instance.master.address=8.141.48.114:3339和端口
哦,突然想起来了一个事,你的主数据库要保证开启了binlog,
怎么开启,看我之前的主从复制的文章去吧。这里不说了
canal.instance.dbUsername=canal
canal.instance.dbPassword=canal
canal.instance.connectionCharset = UTF-8
canal.instance.filter.regex=.*\\..*
canal.instance.filter.black.regex=mysql\\.slave_.*
这里是指数据库的账号密码,当然我们要在主数据库上创建一个用户:
mysql -uroot -proot
#创建账号(账号:canal;密码:canal)
CREATE USER canal IDENTIFIED BY 'canal';
#授予权限
GRANT SELECT, REPLICATION SLAVE, REPLICATION CLIENT ON *.* TO 'canal'@'%';
#刷新并应用权限
FLUSH PRIVILEGES;
**如果我说的不明白怎么配置,就直接看下方的文章把,这东西 改改就行,不是我想说的重点内容。**
编写docker-compose.yml
version: "3.2"
services:
canal:
image: canal/canal-server
container_name: wyc_canal_01
volumes:
- "/home/fd/wycplus/canal/conf:/home/admin/canal_server/conf"
- "/home/fd/wycplus/canal/logs:/home/admin/canal_server/logs"
ports: # 11110 admin , 11111 canal , 11112 metrics, 9100 exporter
- "11110:11110"
- "11111:11111"
- "11112:11112"
- "9100:9100"
environment:
- canal.instance.mysql.slaveId=12
- canal.auto.scan=false
- canal.destinations=example
- canal.instance.master.address=8.141.48.104:3339
- canal.instance.dbUsername=canal
- canal.instance.dbPassword=canal
# - canal.mq.topic=test
- canal.instance.filter.regex=.*\\..*
然后docker-compose up -d 创建canal容器就行了
如果我上边写的有不明白的地方看看这两个文章也行
dockercompose安装canal:
https://blog.csdn.net/feichen2016/article/details/100299806?utm_medium=distribute.pc_relevant.none-task-blog-BlogCommendFromMachineLearnPai2-2.control&depth_1-utm_source=distribute.pc_relevant.none-task-blog-BlogCommendFromMachineLearnPai2-2.control
官网文档:
https://github.com/alibaba/canal/wiki/Docker-QuickStart
现在开始说重要内容
如何不了解缓存与mysql的一致性的话,先看这个文章
redis与mysql数据一致性的扫盲描述:
https://zhuanlan.zhihu.com/p/91770135
二、我要干什么
1.用springcache 实现对接口级的缓存添加和删除,(没有缓存更新奥)
2.使用canal实现清除redis中脏数据
3.修改springcache实现ttl
三、用springcache 实现对接口级的缓存添加和删除
1.首先就是引入依赖, pom文件中添加
<dependency>
<groupId>org.springframework.boot</groupId>
<artifactId>spring-boot-starter-data-redis</artifactId>
</dependency>
<dependency>
<groupId>com.alibaba.otter</groupId>
<artifactId>canal.client</artifactId>
<version>1.1.0</version>
</dependency>
<dependency>
<groupId>com.fasterxml.jackson.datatype</groupId>
<artifactId>jackson-datatype-jsr310</artifactId>
</dependency>
<dependency>
<groupId>com.fasterxml.jackson.core</groupId>
<artifactId>jackson-core</artifactId>
<version>2.10.1</version>
</dependency>
<dependency>
<groupId>com.fasterxml.jackson.core</groupId>
<artifactId>jackson-databind</artifactId>
<version>2.10.1</version>
</dependency>
<dependency>
<groupId>com.fasterxml.jackson.core</groupId>
<artifactId>jackson-annotations</artifactId>
<version>2.10.1</version>
</dependency>
<!--使用默认的Lettuce时,若配置spring.redis.lettuce.pool则必须配置该依赖-->
<dependency>
<groupId>org.apache.commons</groupId>
<artifactId>commons-pool2</artifactId>
</dependency>
2.在application.yml中添加redis的相关的东东
spring:
redis:
host: 8.141.48.104
port: 6379
ssl: false
database: 0
password:
timeout: 2000
lettuce:
pool:
# 最大空闲连接数
maxIdle: 8
# 最大活动连接数
maxActive: 20
cache:
type: redis
3.配置redisTemplate、redisCacheManager
@Configuration
public class BaseRedisConfig {
@Bean
public RedisTemplate<String, Object> redisTemplate(RedisConnectionFactory redisConnectionFactory) {
RedisSerializer<Object> serializer = redisSerializer();
RedisTemplate<String, Object> redisTemplate = new RedisTemplate<>();
redisTemplate.setConnectionFactory(redisConnectionFactory);
redisTemplate.setKeySerializer(new StringRedisSerializer());
redisTemplate.setValueSerializer(serializer);
redisTemplate.setHashKeySerializer(new StringRedisSerializer());
redisTemplate.setHashValueSerializer(serializer);
redisTemplate.afterPropertiesSet();
return redisTemplate;
}
@Bean
public RedisSerializer<Object> redisSerializer() {
//创建JSON序列化器
Jackson2JsonRedisSerializer<Object> serializer = new Jackson2JsonRedisSerializer<>(Object.class);
ObjectMapper objectMapper = new ObjectMapper();
//下面两行解决Java8新日期API序列化问题
objectMapper.disable(SerializationFeature.WRITE_DATES_AS_TIMESTAMPS);
objectMapper.registerModule(new JavaTimeModule());
//设置所有访问权限以及所有的实际类型都可序列化和反序列化
objectMapper.setVisibility(PropertyAccessor.ALL, JsonAutoDetect.Visibility.ANY);
//指定序列化输入的类型,类必须是非final修饰的
//必须设置,否则无法将JSON转化为对象,会转化成Map类型
objectMapper.activateDefaultTyping(LaissezFaireSubTypeValidator.instance, ObjectMapper.DefaultTyping.NON_FINAL);
serializer.setObjectMapper(objectMapper);
return serializer;
}
@Bean
public RedisCacheManager redisCacheManager(RedisConnectionFactory redisConnectionFactory) {
RedisCacheWriter redisCacheWriter = RedisCacheWriter.nonLockingRedisCacheWriter(redisConnectionFactory);
//设置Redis缓存有效期为30min
RedisCacheConfiguration redisCacheConfiguration = RedisCacheConfiguration.defaultCacheConfig()
.serializeValuesWith(RedisSerializationContext.SerializationPair.fromSerializer(redisSerializer())).entryTtl(Duration.ofMinutes(30));
return new EnableTTLRedisCacheManager(redisCacheWriter, redisCacheConfiguration);
}
@Bean
public RedisService redisService() {
return new RedisServiceImpl();
}
4.配置自定义RedisCache子类
public class CustomizedRedisCache extends RedisCache {
private final String name;
private final RedisCacheWriter cacheWriter;
private final ConversionService conversionService;
/**
* Create new {@link RedisCache}.
*
* @param name must not be {@literal null}.
* @param cacheWriter must not be {@literal null}.
* @param cacheConfig must not be {@literal null}.
*/
protected CustomizedRedisCache(String name, RedisCacheWriter cacheWriter, RedisCacheConfiguration cacheConfig) {
super(name, cacheWriter, cacheConfig);
this.name = name;
this.cacheWriter = cacheWriter;
this.conversionService = cacheConfig.getConversionService();
}
@Override
public void evict(Object key) {
if (key instanceof String) {
String keyString = key.toString();
if (keyString.endsWith("*")) {
evictLikeSuffix(keyString);
return;
}
if (keyString.startsWith("*")) {
evictLikePrefix(keyString);
return;
}
}
super.evict(key);
}
/**
* 前缀匹配
*
* @param key
*/
public void evictLikePrefix(String key) {
byte[] pattern = this.conversionService.convert(this.createCacheKey(key), byte[].class);
this.cacheWriter.clean(this.name, pattern);
}
/**
* 后缀匹配
*
* @param key
*/
public void evictLikeSuffix(String key) {
byte[] pattern = (byte[]) this.conversionService.convert(this.createCacheKey(key), byte[].class);
this.cacheWriter.clean(this.name, pattern);
}
}
5.配置自定义RedisCacheManager子类
public class EnableTTLRedisCacheManager extends RedisCacheManager {
public EnableTTLRedisCacheManager(RedisCacheWriter cacheWriter, RedisCacheConfiguration defaultCacheConfiguration) {
super(cacheWriter, defaultCacheConfiguration);
}
@Override
protected RedisCache createRedisCache(String name, RedisCacheConfiguration cacheConfig) {
String[] split = name.split("#");
String cacheName = split[0];
if (split.length > 1) {
long ttl = Long.parseLong(split[1]);
cacheConfig = cacheConfig.entryTtl(Duration.ofSeconds(ttl));
}
return super.createRedisCache(cacheName, cacheConfig);
}
}
6.配置自定义Key生成
@Configuration
public class RedisKeyGenerateConfig {
@Bean("fdKeyGenerator")
public KeyGenerator getFdKeyGenerator() {
return new KeyGenerator() {
@Override
public Object generate(Object target, Method method, Object... params) {
String key = "";
key += method.getName();
String paramsStr="";
for (Object o : params) {
String s = o.toString();
paramsStr +=","+ s;
}
paramsStr=paramsStr.replaceFirst(",","");
key+=paramsStr;
System.out.println("key: " + key);
return key;
}
};
}
}
7.编写canal客户端监听
@Service
public class SimpleCanalClientExampleService implements CommandLineRunner {
@Autowired
private RedisTemplate redisTemplate;
@Autowired
RedisService redisService;
// @Autowired
// private String dbName;
@Value("${spring.redis.host}")
private String ip;
private int port = 11111;
private final String prefix = "wyc_";
public void execute() {
// String ip = "8.141.48.104";
CanalConnector connector = CanalConnectors.newSingleConnector(new InetSocketAddress(ip, port), "example", "canal", "canal");
int batchSize = 2;
int emptyCount = 0;
try {
connector.connect();
connector.subscribe(".*\\..*");
connector.rollback();
int totalEmptyCount = 12000;
while (emptyCount < totalEmptyCount) {
Message message = connector.getWithoutAck(batchSize); // 获取指定数量的数据
long batchId = message.getId();
int size = message.getEntries().size();
if (batchId == -1 || size == 0) {
emptyCount++;
System.out.println("empty count : " + emptyCount);
try {
Thread.sleep(1000);
} catch (InterruptedException e) {
}
} else {
emptyCount = 0;
System.out.printf("message[batchId=%s,size=%s] \n", batchId, size);
printEntry(message.getEntries());
}
connector.ack(batchId); // 提交确认
// connector.rollback(batchId); // 处理失败, 回滚数据
}
System.out.println("empty too many times, exit");
} catch (Exception e) {
e.printStackTrace();
} finally {
connector.disconnect();
}
}
private void printEntry(List<Entry> entrys) {
for (Entry entry : entrys) {
if (entry.getEntryType() == EntryType.TRANSACTIONBEGIN || entry.getEntryType() == EntryType.TRANSACTIONEND) {
continue;
}
RowChange rowChage = null;
try {
rowChage = RowChange.parseFrom(entry.getStoreValue());
} catch (Exception e) {
throw new RuntimeException("ERROR ## parser of eromanga-event has an error , data:" + entry.toString(),
e);
}
EventType eventType = rowChage.getEventType();
System.out.println(String.format("================> binlog[%s:%s] , name[%s,%s] , eventType : %s",
entry.getHeader().getLogfileName(), entry.getHeader().getLogfileOffset(),
entry.getHeader().getSchemaName(), entry.getHeader().getTableName(),
eventType));
// entry.getHeader().getSchemaName(), entry.getHeader().getTableName(),
String dbName = entry.getHeader().getSchemaName();
if (dbName.equals("wyc_test")) {
String tableName = entry.getHeader().getTableName();
if (eventType == EventType.DELETE) {
deleteRedis(tableName);
} else if (eventType == EventType.INSERT) {
insertRedis(tableName);
} else {
updateRedis(tableName);
}
}
// for (RowData rowData : rowChage.getRowDatasList()) {
// if (eventType == EventType.DELETE) {
// printColumn(rowData.getBeforeColumnsList());
// deleteRedis(rowData.getBeforeColumnsList());
//
// } else if (eventType == EventType.INSERT) {
// printColumn(rowData.getAfterColumnsList());
// insertRedis(rowData.getAfterColumnsList());
// } else {
// System.out.println("-------> before");
// printColumn(rowData.getBeforeColumnsList());
// System.out.println("-------> after");
// printColumn(rowData.getAfterColumnsList());
// updateRedis(rowData.getAfterColumnsList());
// }
// }
}
}
private void printColumn(List<Column> columns) {
for (Column column : columns) {
System.out.println(column.getName() + " : " + column.getValue() + " update=" + column.getUpdated());
}
}
private void insertRedis(String tableName) {
tableName = tableName.replaceFirst(prefix, "");
Set<String> keys = redisTemplate.keys(tableName + "*");
for (String key : keys) {
Boolean success = redisTemplate.delete(key);
System.out.println("insert result: " + success);
}
}
private void deleteRedis(String tableName) {
tableName = tableName.replaceFirst(prefix, "");
Set<String> keys = redisTemplate.keys(tableName + "*");
for (String key : keys) {
Boolean success = redisTemplate.delete(key);
System.out.println("deleteRedis result: " + success);
}
}
private void updateRedis(String tableName) {
tableName = tableName.replaceFirst(prefix, "");
Set<String> keys = redisTemplate.keys(tableName + "*");
for (String key : keys) {
Boolean success = redisTemplate.delete(key);
System.out.println("updateRedis result: " + success);
}
}
@Override
public void run(String... args) throws Exception {
execute();
}
最后用我的一个service测试一下
@Service
@Transactional(readOnly = true)
@CacheConfig(cacheNames = "vehicle_checking_item")
public class VehicleCheckingItemService extends CrudService<VehicleCheckingItemDao, VehicleCheckingItem> {
private final String CACHE_NAME_VEHICLE_CHECKING_ITEM = "vehicle_checking_item";
#添加到redis中,并且300的有效期,通过fdKeyGenerator生成
@Cacheable(value = (CACHE_NAME_VEHICLE_CHECKING_ITEM + "#300"), keyGenerator = "fdKeyGenerator")
public CommonResult<Page<VehicleCheckingItem>> findCheckItemList(VehicleCheckingItemFindCheckItemListReqVO vo) {
VehicleCheckingItem vehicleCheckingItem = new VehicleCheckingItem();
BeanUtils.copyProperties(vo, vehicleCheckingItem);
List<VehicleCheckingItem> list = dao.testFindList(vo);
Page page = vo.getPage();
page.setList(list);
return new CommonResult<>(page);
}
#删除cacheName下所有的数据
@Transactional(readOnly = false)
@CacheEvict(beforeInvocation = true, allEntries = true)
public CommonResult updateTest(String newTopic, String oldTopic) {
dao.updateTest(oldTopic, newTopic);
return new CommonResult();
}
}
之后再详细写写上边都干了啥
四、补充:使用springcache太闹心,设置的expire不够直观,所以自己写一个切面来实现
编写缓存加入、删除注解
1.加入缓存注解
@Documented
@Retention(RetentionPolicy.RUNTIME)
@Target(ElementType.METHOD)
public @interface CusCacheable {
//cacheName 对应hash的名称
String cacheName() default "";
//key值 ,对应hash的key值
String key() default "";
//过期时间 默认 5分钟
int expire() default 5 * 60;
//key生成器
String keyGenerator() default "";
}
2.从缓存中移除注解
@Documented
@Retention(RetentionPolicy.RUNTIME)
@Target(ElementType.METHOD)
public @interface CusCacheDel {
//cacheName 对应hash的名称
String cacheName();
//key值 ,对应hash的key值
String key() default "";
}
3.编写缓存切面实现
/**
* @ClassName BusinessManErrorInfoVO
* @Description
* @Author fd
* @Date 2020/11/6 14:48
* @Version 1.0
*/
@Aspect
@Component
public class CusCacheAspect {
//yml文件中写一个配置用来指定缓存类型,是本地还是redis
@Value("${spring.cache.type}")
private String cacheType = "";
@Pointcut("@annotation(com.jeesite.modules.redis.service.CusCacheable)")
public void putPointCut() {
}
@Pointcut("@annotation(com.jeesite.modules.redis.service.CusCacheDel)")
public void delPointCut() {
}
@Around(value = "putPointCut()")
public Object executeAround(ProceedingJoinPoint joinPoint) {
Method method = ((MethodSignature) joinPoint.getSignature()).getMethod();
CusCacheable cusCacheable = method.getAnnotation(CusCacheable.class);
String keyGeneratorBeanName = cusCacheable.keyGenerator();
boolean useGen = StringUtils.isNotBlank(keyGeneratorBeanName);
Object target = joinPoint.getTarget();
Object[] args = joinPoint.getArgs();
String cacheName = cusCacheable.cacheName();
int expire = cusCacheable.expire();
String key = cusCacheable.key();
//使用key生成器
if (useGen) {
KeyGenerator keyGenerator = SpringUtils.getBean(keyGeneratorBeanName);
key = (String) keyGenerator.generate(target, method, args);
}
boolean isCloud = cacheType.equals("redis");
RedisService redisService = SpringUtils.getBean("redisServiceImpl");
Object cacheResult = isCloud ? redisService.hGet(cacheName, key) : CacheUtils.get(cacheName, key);
Object proceedResult = null;
if (cacheResult == null) {
try {
proceedResult = joinPoint.proceed(args);
if (!isCloud) {
CacheUtils.put(cacheName, key, proceedResult);
} else {
redisService.hSet(cacheName, key, proceedResult);
redisService.expire(cacheName, expire);
}
} catch (Throwable throwable) {
throwable.printStackTrace();
}
} else {
proceedResult = cacheResult;
}
return proceedResult;
}
@Before(value = "delPointCut()")
public void executeBefore(JoinPoint joinPoint) {
Method method = ((MethodSignature) joinPoint.getSignature()).getMethod();
CusCacheDel cusCacheDel = method.getAnnotation(CusCacheDel.class);
String cacheName = cusCacheDel.cacheName();
boolean isCloud = cacheType.equals("redis");
if (isCloud) {
RedisService redisService = SpringUtils.getBean("redisServiceImpl");
boolean successDel = redisService.del(cacheName);
System.out.println(successDel);
} else {
CacheUtils.removeCache(cacheName);
}
}
}
说点结语:以上内容,不准备过多文字描述,因为我更期待的是您在某个问题上废了一些时间后,仅仅差了一步时看到我写的文章后,
恰好让您有了一丝的其他的想法,那极好了!
版权声明:本文为qq_36016356原创文章,遵循CC 4.0 BY-SA版权协议,转载请附上原文出处链接和本声明。