面临问题:
很多时候数据量大了,特别是有几亿条数据的时候,可能你会发现,跑个搜索怎么一下 5~10s。
第一次搜索的时候,是 5~10s,后面反而就快了,可能就几百毫秒。
说实话,ES 性能优化是不可能随手调一个参数,就可以万能的应对所有的性能慢的场景。
也许有的场景是你换个参数,或者调整一下语法,就可以搞定,但是绝对不是所有场景都可以这样。
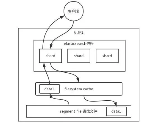
性能优化:Filesystem Cache
你往 ES 里写的数据,实际上都写到磁盘文件里去了,查询的时候,操作系统会将磁盘文件里的数据自动缓存到 Filesystem Cache 里面去。
整个过程,如下图所示:
ES 的搜索引擎严重依赖于底层的 Filesystem Cache,你如果给 Filesystem Cache 更多的内存,尽量让内存可以容纳所有的 IDX Segment File 索引数据文件,那么你搜索的时候就基本都是走内存的,性能会非常高。
性能差距究竟可以有多大?我们之前很多的测试和压测,如果走磁盘一般肯定上秒,搜索性能绝对是秒级别的,1 秒、5 秒、10 秒。
但如果是走 Filesystem Cache,是走纯内存的,那么一般来说性能比走磁盘要高一个数量级,基本上就是毫秒级的,从几毫秒到几百毫秒不等。
来看一个真实的案例:某个公司 ES 节点有 3 台机器,每台机器看起来内存很多 64G,总内存就是 64 * 3 = 192G。
每台机器给 ES JVM Heap 是 32G,那么剩下来留给 Filesystem Cache 的就是每台机器才 32G,总共集群里给 Filesystem Cache 的就是 32 * 3 = 96G 内存。
而此时,整个磁盘上索引数据文件,在 3 台机器上一共占用了 1T 的磁盘容量,ES 数据量是 1T,那么每台机器的数据量是 300G。
这样性能好吗?
Filesystem Cache 的内存才 100G,十分之一的数据可以放内存,其他的都在磁盘,然后你执行搜索操作,大部分操作都是走磁盘,性能肯定差。
归根结底,你要让 ES 性能好,最佳的情况下,就是你的机器的内存,至少可以容纳你的总数据量的一半。
根据我们自己的生产环境实践经验,最佳的情况下,是仅仅在 ES 中就存少量的数据。
也就是说,你要用来搜索的那些索引,如果内存留给 Filesystem Cache 的是 100G,那么你就将索引数据控制在 100G 以内。这样的话,你的数据几乎全部走内存来搜索,性能非常之高,一般可以在1秒以内。
比如说你现在有一行数据:id,name,age … 30 个字段。但是你现在搜索,只需要根据 id,name,age 三个字段来搜索。
如果你傻乎乎往 ES 里写入一行数据所有的字段,就会导致 90% 的数据是不用来搜索的。
但是呢,这些数据硬是占据了 ES 机器上的 Filesystem Cache 的空间,单条数据的数据量越大,就会导致 Filesystem Cahce 能缓存的数据就越少。
其实,仅仅写入 ES 中要用来检索的少数几个字段就可以了,比如说就写入 es id,name,age 三个字段。
然后你可以把其他的字段数据存在 MySQL/HBase 里,我们一般是建议用 ES + HBase 这么一个架构。
HBase是列式数据库,其特点是适用于海量数据的在线存储,就是对 HBase 可以写入海量数据,但是不要做复杂的搜索,做很简单的一些根据 id 或者范围进行查询的这么一个操作就可以了。
从 ES 中根据 name 和 age 去搜索,拿到的结果可能就 20 个 doc id,然后根据 doc id 到 HBase 里去查询每个 doc id 对应的完整的数据,给查出来,再返回给前端。
而写入 ES 的数据最好小于等于,或者是略微大于 ES 的 Filesystem Cache 的内存容量。
然后你从 ES 检索可能就花费 20ms,然后再根据 ES 返回的 id 去 HBase 里查询,查 20 条数据,可能也就耗费个 30ms。
如果你像原来那么玩儿,1T 数据都放 ES,可能会每次查询都是 5~10s,而现在性能就会很高,每次查询就是 50ms。
数据预热
假如你就按照上述的方案去做了,ES 集群中每个机器写入的数据量还是超过了 Filesystem Cache 一倍。
比如说你写入一台机器 60G 数据,结果 Filesystem Cache 就 30G,还是有 30G 数据留在了磁盘上。
这种情况下,其实可以做数据预热。举个例子,拿微博来说,你可以把一些大 V,平时看的人很多的数据,提前在后台搞个系统。
然后每隔一会儿,自己的后台系统去搜索一下热数据,刷到 Filesystem Cache 里去,后面用户实际上来看这个热数据的时候,他们就是直接从内存里搜索了,很快。
或者是电商,你可以将平时查看最多的一些商品,比如说 iPhone 8,热数据提前后台搞个程序,每隔 1 分钟自己主动访问一次,刷到 Filesystem Cache 里去。
总之,就是对于那些你觉得比较热的、经常会有人访问的数据,最好做一个专门的缓存预热子系统。
然后对热数据每隔一段时间,就提前访问一下,让数据进入 Filesystem Cache 里面去。这样下次别人访问的时候,性能一定会好很多。
冷热分离
ES 可以做类似于 MySQL 的水平拆分,就是说将大量的访问很少、频率很低的数据,单独写一个索引,然后将访问很频繁的热数据单独写一个索引。
最好是将冷数据写入一个索引中,然后热数据写入另外一个索引中,这样可以确保热数据在被预热之后,尽量都让他们留在 Filesystem OS Cache 里,别让冷数据给冲刷掉。
还是来一个例子,假设你有 6 台机器,2 个索引,一个放冷数据,一个放热数据,每个索引 3 个 Shard。3 台机器放热数据 Index,另外 3 台机器放冷数据 Index。
这样的话,你大量的时间是在访问热数据 Index,热数据可能就占总数据量的 10%,此时数据量很少,几乎全都保留在 Filesystem Cache 里面了,就可以确保热数据的访问性能是很高的。
但是对于冷数据而言,是在别的 Index 里的,跟热数据 Index 不在相同的机器上,大家互相之间都没什么联系了。
如果有人访问冷数据,可能大量数据是在磁盘上的,此时性能差点,就 10% 的人去访问冷数据,90% 的人在访问热数据,也无所谓了。
ES中的关联查询
对于 MySQL,我们经常有一些复杂的关联查询,在 ES 里该怎么玩儿?
ES 里面的复杂的关联查询尽量别用,一旦用了性能一般都不太好。最好是先在 Java 系统里就完成关联,将关联好的数据直接写入 ES 中。搜索的时候,就不需要利用 ES 的搜索语法来完成 Join 之类的关联搜索了。
Document 模型设计
Document 模型设计是非常重要的,很多操作,不要在搜索的时候才想去执行各种复杂的乱七八糟的操作。
ES 能支持的操作就那么多,不要考虑用 ES 做一些它不好操作的事情。如果真的有那种操作,尽量在 Document 模型设计的时候,写入的时候就完成。
另外对于一些太复杂的操作,比如 join/nested/parent-child 搜索都要尽量避免,性能都很差的。
分页性能优化
ES 的分页是较坑的,为啥呢?举个例子吧,假如你每页是 10 条数据,你现在要查询第 100 页,实际上是会把每个 Shard 上存储的前 1000 条数据都查到一个协调节点上。
如果你有 5 个 Shard,那么就有 5000 条数据,接着协调节点对这 5000 条数据进行一些合并、处理,再获取到最终第 100 页的 10 条数据。
由于是分布式的,你要查第 100 页的 10 条数据,不可能说从 5 个 Shard,每个 Shard 就查 2 条数据,最后到协调节点合并成 10 条数据吧?
你必须得从每个 Shard 都查 1000 条数据过来,然后根据你的需求进行排序、筛选等等操作,最后再次分页,拿到里面第 100 页的数据。
你翻页的时候,翻的越深,每个 Shard 返回的数据就越多,而且协调节点处理的时间越长,非常坑爹。所以用 ES 做分页的时候,你会发现越翻到后面,就越是慢。
我们之前也是遇到过这个问题,用 ES 作分页,前几页就几十毫秒,翻到 10 页或者几十页的时候,基本上就要 5~10 秒才能查出来一页数据了。
有什么解决方案吗?两个思路:
一、不允许深度分页(默认深度分页性能很差)。跟产品经理说,你系统不允许翻那么深的页,默认翻的越深,性能就越差。
二、类似于 App 里的推荐商品不断下拉出来一页一页的;类似于微博中,下拉刷微博,刷出来一页一页的,你可以用 Scroll API,关于如何使用,大家可以自行上网搜索学习一下。
Scroll是如何做的呢?它会一次性给你生成所有数据的一个快照,然后每次滑动向后翻页就是通过游标 scroll_id 移动,获取下一页、下一页这样子,性能会比上面说的那种分页性能要高很多很多,基本上都是毫秒级的。
但是,唯一的一点就是,这个适合于那种类似微博下拉翻页的,不能随意跳到任何一页的场景。也就是说,你不能先进入第 10 页,然后去第 120 页,然后又回到第 58 页,不能随意乱跳页。
所以现在很多产品,都是不允许你随意翻页的,你只能往下拉,一页一页的翻。
使用时需要注意,初始化必须指定 Scroll 参数,告诉 ES 要保存此次搜索的上下文多长时间。你需要确保用户不会持续不断翻页翻几个小时,否则可能因为超时而失败。
除了用 Scroll API,你也可以用 search_after 来做。search_after 的思想是使用前一页的结果来帮助检索下一页的数据。
显然,这种方式也不允许你随意翻页,你只能一页页往后翻。初始化时,需要使用一个唯一值的字段作为 Sort 字段。