知识点:
- 不同的 Redis 的客户端的特点
- 基于 Java 客户端实现 pipeline 和分布式锁的方法和原理
- 数据一致性问题的分析与解决方案
- 高并发下各种问题的解决方案
1 Redis 客户端
1.1 客户端通信原理
客户端和服务器通过 TCP 连接来进行数据交互, 服务器默认的端口号为 6379 。 客户端和服务器发送的命令或数据一律以 \r\n (CRLF 回车+换行)结尾。
如果使用 wireshark 对 jedis 抓包:
环境:Jedis 连接到虚拟机 202,运行 main,对 VMnet8 抓包。
过滤条件:ip.dst==192.168.8.202 and tcp.port in {6379}
客户端跟 Redis 之间 使用一种特殊的编码格式(在 AOF 文件里面我们看到了),叫 做 Redis Serialization Protocol (Redis 序列化协议)。特点:容易实现、解析快、可读 性强。客户端发给服务端的消息需要经过编码,服务端收到之后会按约定进行解码,反 之亦然。
官网推荐的 Java 客户端有 3 个 Jedis,Redisson 和 Luttuce。
| 客户端 | 描述 |
|---|---|
| Jedis | A blazingly small and sane redis java client |
| lettuce | Advanced Redis client for thread-safe sync, async, and reactive usage. Supports Cluster, Sentinel, Pipelining, and codecs. |
| Redisson | distributed and scalable Java data structures on top of Redis server |
Spring 连接 Redis 用的是什么?
RedisConnectionFactory 接口支持多种实现,例 如 : JedisConnectionFactory 、 JredisConnectionFactory 、 LettuceConnectionFactory、SrpConnectionFactory。
1.2 Jedis
https://github.com/xetorthio/jedis
1.2.1 特点
Jedis 是我们最熟悉和最常用的客户端。轻量,简洁,便于集成和改造。
public static void main(String[] args) {
Jedis jedis = new Jedis("127.0.0.1", 6379);
jedis.set("qingshan", "2673");
System.out.println(jedis.get("qingshan"));
jedis.close();
}
Jedis 多个线程使用一个连接的时候线程不安全。可以使用连接池,为每个请求创建 不同的连接,基于 Apache common pool 实现。跟数据库一样,可以设置最大连接数 等参数。Jedis 中有多种连接池的子类。

public static void main(String[] args) {
JedisPool pool = new JedisPool(ip, port);
Jedis jedis = jedisPool.getResource();
}
Jedis 有 4 种工作模式:单节点、分片、哨兵、集群
3 种请求模式:Client、Pipeline、事务。
Client 模式就是客户端发送一个命令,阻 塞等待服务端执行,然后读取 返回结果。
Pipeline 模式是一次性发送多个命令,最后一 次取回所有的返回结果,这种模式通过减少网络的往返时间和 io 读写次数,大幅度提高 通信性能。
第三种是事务模式。Transaction 模式即开启 Redis 的事务管理,事务模式开 启后,所有的命令(除了 exec,discard,multi 和 watch)到达服务端以后不会立即执 行,会进入一个等待队列。
1.2.2 Sentinel 获取连接原理
问题:Jedis 连接 Sentinel 的时候,我们配置的是全部哨兵的地址。Sentinel 是如 何返回可用的 master 地址的呢?
在构造方法中:
pool = new JedisSentinelPool(masterName, sentinels);
调用了
HostAndPort master = initSentinels(sentinels, masterName);
查看:
private HostAndPort initSentinels(Set<String> sentinels, final String masterName) {
HostAndPort master = null;
boolean sentinelAvailable = false;
log.info("Trying to find master from available Sentinels...");
// 有多个 sentinels,遍历这些个 sentinels
for (String sentinel : sentinels) {
// host:port 表示的 sentinel 地址转化为一个 HostAndPort 对象。
final HostAndPort hap = HostAndPort.parseString(sentinel);
log.fine("Connecting to Sentinel " + hap);
Jedis jedis = null;
try {
// 连接到 sentinel
jedis = new Jedis(hap.getHost(), hap.getPort());
// 根据 masterName 得到 master 的地址,返回一个 list,host= list[0], port =// list[1]
List<String> masterAddr = jedis.sentinelGetMasterAddrByName(masterName);
// connected to sentinel... sentinelAvailable = true;
if (masterAddr == null || masterAddr.size() != 2) {
log.warning("Can not get master addr, master name: " + masterName + ". Sentinel: " + hap
+ ".");
continue;
}
// 如果在任何一个 sentinel 中找到了 master,不再遍历 sentinels
master = toHostAndPort(masterAddr);
log.fine("Found Redis master at " + master);
break;
} catch (JedisException e) {
// resolves #1036, it should handle JedisException there's another chance
// of raising JedisDataException
log.warning("Cannot get master address from sentinel running @ " + hap + ". Reason: " + e
+ ". Trying next one.");
} finally {
if (jedis != null) {
jedis.close();
}
}
// 到这里,如果 master 为 null,则说明有两种情况,一种是所有的 sentinels 节点都 down 掉了,一种是 master节点没有被存活的 sentinels 监控到
if (master == null) {
if (sentinelAvailable) {
// can connect to sentinel, but master name seems to not
// monitored
throw new JedisException("Can connect to sentinel, but " + masterName
+ " seems to be not monitored...");
} else {
throw new JedisConnectionException("All sentinels down, cannot determine where is " + masterName + " master is running...");
}
}
// 如果走到这里,说明找到了 master 的地址
log.info("Redis master running at " + master + ", starting Sentinel listeners...");
// 启动对每个 sentinels 的监听为每个 sentinel 都启动了一个监听者 MasterListener。MasterListener 本身是一个线程,它会去订阅 sentinel 上关于 master 节点地址改变的消息。
for (String sentinel : sentinels) {
final HostAndPort hap = HostAndPort.parseString(sentinel);
MasterListener masterListener = new MasterListener(masterName, hap.getHost(), hap.getPort());
// whether MasterListener threads are alive or not, process can be stopped
masterListener.setDaemon(true);
masterListeners.add(masterListener);
masterListener.start();
}
return master;
}
}
1.2.3 Cluster 获取连接原理
问题:使用 Jedis 连接 Cluster 的时候,我们只需要连接到任意一个或者多个 redis group 中的实例地址,那我们是怎么获取到需要操作的 Redis Master 实例的?
关键问题:在于如何存储 slot 和 Redis 连接池的关系。
1、程序启动初始化集群环境,读取配置文件中的节点配置,无论是主从,无论多少 个,只拿第一个,获取 redis 连接实例(后面有个 break)。
// redis.clients.jedis.JedisClusterConnectionHandler#initializeSlotsCache
private void initializeSlotsCache(Set<HostAndPort> startNodes, GenericObjectPoolConfig poolConfig, String password)
{
for (HostAndPort hostAndPort : startNodes) {
// 获取一个 Jedis 实例
Jedis jedis = new Jedis(hostAndPort.getHost(), hostAndPort.getPort());
if (password != null) {
jedis.auth(password);
}
try {
// 获取 Redis 节点和 Slot 虚拟槽
cache.discoverClusterNodesAndSlots(jedis);
// 直接跳出循环
break;
} catch (JedisConnectionException e) {
// try next nodes
} finally {
if (jedis != null) {
jedis.close();
}
}
}
2、用获取的 redis 连接实例执行 clusterSlots ()方法,实际执行 redis 服务端 cluster slots 命令,获取虚拟槽信息。
该集合的基本信息为[long, long, List, List], 第一,二个元素是该节点负责槽点的起 始位置,第三个元素是主节点信息,第四个元素为主节点对应的从节点信息。该 list 的 基本信息为[string,int,string],第一个为 host 信息,第二个为 port 信息,第三个为唯一 id。

3、获取有关节点的槽点信息后,调用 getAssignedSlotArray(slotinfo)来获取所有 的槽点值。
4、再获取主节点的地址信息,调用 generateHostAndPort(hostInfo)方法,生成一 个 ostAndPort 对象。
5、再根据节点地址信息来设置节点对应的 JedisPool,即设置 Map nodes 的值。 接下来判断若此时节点信息为主节点信息时,则调用 assignSlotsToNodes 方法,设 置每个槽点值对应的连接池,即设置 Map slots 的值。
// redis.clients.jedis.JedisClusterInfoCache#discoverClusterNodesAndSlots
public void discoverClusterNodesAndSlots(Jedis jedis) {
w.lock();
try {
reset();
// 获取节点集合
List<Object> slots = jedis.clusterSlots();
// 遍历 3 个 master 节点
for (Object slotInfoObj : slots) {
// slotInfo 槽开始,槽结束,主,从
// {[0,5460,7291,7294],[5461,10922,7292,7295],[10923,16383,7293,7296]}
List<Object> slotInfo = (List<Object>) slotInfoObj;
// 如果<=2,代表没有分配 slot
if (slotInfo.size() <= MASTER_NODE_INDEX) {
continue;
}
// 获取分配到当前 master 节点的数据槽,例如 7291 节点的{0,1,2,3……5460}
List<Integer> slotNums = getAssignedSlotArray(slotInfo);
// hostInfos
int size = slotInfo.size(); // size 是 4,槽最小最大,主,从
// 第 3 位和第 4 位是主从端口的信息
for (int i = MASTER_NODE_INDEX; i < size; i++) {
List<Object> hostInfos = (List<Object>) slotInfo.get(i);
if (hostInfos.size() <= 0) {
continue;
}
// 根据 IP 端口生成 HostAndPort 实例
HostAndPort targetNode = generateHostAndPort(hostInfos);
// 据 HostAndPort 解析出 ip:port 的 key 值,再根据 key 从缓存中查询对应的 jedisPool 实例。如果没有 jedisPool实例,就创建 JedisPool 实例,最后放入缓存中。nodeKey 和 nodePool 的关系
setupNodeIfNotExist(targetNode);
// 把 slot 和 jedisPool 缓存起来(16384 个),key 是 slot 下标,value 是连接池
if (i == MASTER_NODE_INDEX) {
assignSlotsToNode(slotNums, targetNode);
}
}
}
} finally {
w.unlock();
}
}
从集群环境存取值:
1、把 key 作为参数,执行 CRC16 算法,获取 key 对应的 slot 值。
2、通过该 slot 值,去 slots 的 map 集合中获取 jedisPool 实例。
3、通过 jedisPool 实例获取 jedis 实例,最终完成 redis 数据存取工作。
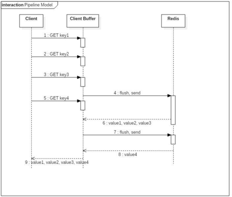
1.2.4 pipeline
单个命令的执行到底慢在哪里?
Redis 使用的是客户端/服务器(C/S)模型和请求/响应协议的 TCP 服务器。这意味 着通常情况下一个请求会遵循以下步骤:
- 客户端向服务端发送一个查询请求,并监听 Socket 返回,通常是以阻塞模式,等 待服务端响应。
- 服务端处理命令,并将结果返回给客户端
Redis 客户端与 Redis 服务器之间使用 TCP 协议进行连接,一个客户端可以通过一 个 socket 连接发起多个请求命令。每个请求命令发出后 client 通常会阻塞并等待 redis 服务器处理,redis 处理完请求命令后会将结果通过响应报文返回给 client,因此当执行 多条命令的时候都需要等待上一条命令执行完毕才能执行。执行过程如图:

Redis 本身提供了一些批量操作命令,比如 mget,mset,可以减少通信的时间,但是大部分命令是不支持 multi (事务)操作的,例如 hash 就没有。 由于通信会有网络延迟,假如 client 和 server 之间的包传输时间需要 10 毫秒,一 次交互就是 20 毫秒(RTT:Round Trip Time)。这样的话,client 1 秒钟也只能也只 能发送 50 个命令。这显然没有充分利用 Redis 的处理能力。另外一个,Redis 服务端执 行 I/O 的次数过多。
Pipeline 管道
https://redis.io/topics/pipelining
那我们能不能像数据库的 batch 操作一样,把一组命令组装在一起发送给 Redis 服 务端执行,然后一次性获得返回结果呢?这个就是 Pipeline 的作用。Pipeline 通过一个 队列把所有的命令缓存起来,然后把多个命令在一次连接中发送给服务器。

先来看一下效果(先 flushall):
要实现 Pipeline,既要服务端的支持,也要客户端的支持。对于服务端来说,需要 能够处理客户端通过一个 TCP 连接发来的多个命令,并且逐个地执行命令一起返回 。 对于客户端来说,要把多个命令缓存起来,达到一定的条件就发送出去,最后才处 理 Redis 的应答(这里也要注意对客户端内存的消耗)。
jedis-pipeline 的 client-buffer 限制:8192bytes,客户端堆积的命令超过 8192 bytes 时,会发送给服务端。
源码:redis.clients.util.RedisOutputStream.java
public RedisOutputStream(final OutputStream out) {
this(out, 8192);
}
pipeline 对于命令条数没有限制,但是命令可能会受限于 TCP 包大小。 如果 Jedis 发送了一组命令,而发送请求还没有结束,Redis 响应的结果会放在接收 缓冲区。如果接收缓冲区满了,jedis 会通知 redis win=0,此时 redis 不会再发送结果 给 jedis 端,转而把响应结果保存在 Redis 服务端的输出缓冲区中。
输出缓冲区的配置:redis.conf
client-output-buffer-limit
client-output-buffer-limit normal 0 0 0
client-output-buffer-limit replica 256mb 64mb 60
client-output-buffer-limit pubsub 32mb 8mb 60

每个客户端使用的输出缓冲区的大小可以用 client list 命令查看
redis> client list
id=5 addr=192.168.8.1:10859 fd=8 name= age=5 idle=0 flags=N db=0 sub=0 psub=0 multi=-1 qbuf=5 qbuf-free=32763 obl=16380 oll=227 omem=4654408 events=rw cmd=set
- obl : 输出缓冲区的长度(字节为单位, 0 表示没有分配输出缓冲区)
- oll : 输出列表包含的对象数量(当输出缓冲区没有剩余空间时,命令回复会以字符串对象的形式被入队到这个 队列里)
- omem : 输出缓冲区和输出列表占用的内存总量
使用场景
Pipeline 适用于什么场景呢?
如果某些操作需要马上得到 Redis 操作是否成功的结果,这种场景就不适合。
有些场景,例如批量写入数据,对于结果的实时性和成功性要求不高,就可以用 Pipeline。
1.2.5 Jedis 实现分布式锁
原文地址:https://redis.io/topics/distlock
中文地址:http://redis.cn/topics/distlock.html
分布式锁的基本特性或者要求:
1、互斥性:只有一个客户端能够持有锁。
2、不会产生死锁:即使持有锁的客户端崩溃,也能保证后续其他客户端可以获 取锁。
3、只有持有这把锁的客户端才能解锁。
public static boolean tryGetDistributedLock(Jedis jedis, String lockKey, String requestId, int expireTime) {
// set 支持多个参数 NX(not exist) XX(exist) EX(seconds) PX(million seconds)
String result = jedis.set(lockKey, requestId, SET_IF_NOT_EXIST, SET_WITH_EXPIRE_TIME, expireTime);
if (LOCK_SUCCESS.equals(result)) {
return true;
}
return false;
}
参数解读:
1、lockKey 是 Redis key 的名称,也就是谁添加成功这个 key 代表谁获取锁成 功。
2、requestId 是客户端的 ID(设置成 value),如果我们要保证只有加锁的客户端才能释放锁,就必须获得客户端的 ID(保证第 3 点)。
3、SET_IF_NOT_EXIST 是我们的命令里面加上 NX(保证第 1 点)。
4、SET_WITH_EXPIRE_TIME,PX 代表以毫秒为单位设置 key 的过期时间(保 证第 2 点)。
5、expireTime 是自动释放锁的时间,比如 5000 代表 5 秒。
释放锁,直接删除 key 来释放锁可以吗?就像这样:
public static void wrongReleaseLock1(Jedis jedis, String lockKey) {
jedis.del(lockKey);
}
没有对客户端 requestId 进行判断,可能会释放其他客户端持有的锁。
先判断后删除呢?
public static void wrongReleaseLock2(Jedis jedis, String lockKey, String requestId) {
// 判断加锁与解锁是不是同一个客户端
if (requestId.equals(jedis.get(lockKey))) {
// 若在此时,这把锁突然不是这个客户端的,则会误解锁
jedis.del(lockKey);
}
}
如果在释放锁的时候,这把锁已经不属于这个客户端(例如已经过期,并且被别的 客户端获取锁成功了),那就会出现释放了其他客户端的锁的情况。
所以我们把判断客户端是否相等和删除 key 的操作放在 Lua 脚本里面执行。
public static boolean releaseDistributedLock(Jedis jedis, String lockKey, String requestId) {
String script = "if redis.call('get', KEYS[1]) == ARGV[1] then return redis.call('del', KEYS[1]) else return 0 end";
Object result = jedis.eval(script, Collections.singletonList(lockKey), Collections.singletonList(requestId));
if (RELEASE_SUCCESS.equals(result)) {
return true;
}
return false;
}
这个是 Jedis 里面分布式锁的实现。
1.3 Luttece
与 Jedis 相比,Lettuce 则完全克服了其线程不安全的缺点:Lettuce 是一个可伸缩 的线程安全的 Redis 客户端,支持同步、异步和响应式模式(Reactive)。多个线程可 以共享一个连接实例,而不必担心多线程并发问题。
同步调用:com.gxedu.lettuce.LettuceSyncTest
异步的结果使用 RedisFuture 包装,提供了大量回调的方法
异步调用:com.gxedu.lettuce.LettuceASyncTest
它基于 Netty 框架构建,支持 Redis 的高级功能,如 Pipeline、发布订阅,事务、 Sentinel,集群,支持连接池。
Lettuce 是 Spring Boot 2.x 默认的客户端,替换了 Jedis。集成之后我们不需要单 独使用它,直接调用 Spring 的 RedisTemplate 操作,连接和创建和关闭也不需要我们 操心。
<dependency>
<groupId>org.springframework.boot</groupId>
<artifactId>spring-boot-starter-data-redis</artifactId>
</dependency>
1.4 Redisson
https://github.com/redisson/redisson/wiki/目录
1.4.1 本质
Redisson 是一个在 Redis 的基础上实现的 Java 驻内存数据网格(In-Memory Data Grid),提供了分布式和可扩展的 Java 数据结构。
1.4.2 特点
- 基于 Netty 实现,采用非阻塞 IO,性能高
- 支持异步请求
- 支持连接池、pipeline、LUA Scripting、Redis Sentinel、Redis Cluster
- 不支持事务,官方建议以 LUA Scripting 代替事务
- 主从、哨兵、集群都支持。Spring 也可以配置和注入 RedissonClient。
1.4.3 实现分布式锁
在 Redisson 里面提供了更加简单的分布式锁的实现

加锁:
public static void main(String[] args) throws InterruptedException {
RLock rLock=redissonClient.getLock("updateAccount");
// 最多等待 100 秒、上锁 10s 以后自动解锁
if(rLock.tryLock(100,10, TimeUnit.SECONDS)){
System.out.println("获取锁成功");
}
// do something
rLock.unlock();
}
在获得 RLock 之后,只需要一个 tryLock 方法,里面有 3 个参数:
1、watiTime:获取锁的最大等待时间,超过这个时间不再尝试获取锁
2、leaseTime:如果没有调用 unlock,超过了这个时间会自动释放锁
3、TimeUnit:释放时间的单位
Redisson 的分布式锁是怎么实现的呢?
在加锁的时候,在 Redis 写入了一个 HASH,key 是锁名称,field 是线程名称,value 是 1(表示锁的重入次数)。
[外链图片转存失败,源站可能有防盗链机制,建议将图片保存下来直接上传(img-pHpV0FxL-1603419811136)(C:\Users\17361\AppData\Local\Temp\1590740384610.png)]
源码: tryLock()——tryAcquire()——tryAcquireAsync()——tryLockInnerAsync()
最终也是调用了一段 Lua 脚本。里面有一个参数,两个参数的值。
| 占位 | 填充 | 含义 | 实际值 |
|---|---|---|---|
| KEYS[1] | getName() | 锁的名称(key) | updateAccount |
| ARGV[1] | internalLockLeaseTime | 锁释放时间(毫秒) | 10000 |
| ARGV[2] | getLockName(threadId) | 线程名称 | b60a9c8c-92f8-4bfe-b0e7-308967346336:1 |
// KEYS[1] 锁名称 updateAccount
// ARGV[1] key 过期时间 10000ms
// ARGV[2] 线程名称
// 锁名称不存在
if (redis.call('exists', KEYS[1]) == 0) then
// 创建一个 hash,key=锁名称,field=线程名,value=1
redis.call('hset', KEYS[1], ARGV[2], 1);
// 设置 hash 的过期时间
redis.call('pexpire', KEYS[1], ARGV[1]);
return nil;
end;
// 锁名称存在,判断是否当前线程持有的锁
if (redis.call('hexists', KEYS[1], ARGV[2]) == 1) then
// 如果是,value+1,代表重入次数+1
redis.call('hincrby', KEYS[1], ARGV[2], 1);
// 重新获得锁,需要重新设置 Key 的过期时间
redis.call('pexpire', KEYS[1], ARGV[1]);
return nil;
end;
// 锁存在,但是不是当前线程持有,返回过期时间(毫秒)
return redis.call('pttl', KEYS[1]);
释放锁,源码:
unlock——unlockInnerAsync
| 占位 | 填充 | 含义 | 实际值 |
|---|---|---|---|
| KEYS[1] | getName() | 锁名称 | updateAccount |
| KEYS[2] | getChannelName() | 频道名称 | redisson_lock__channel:{updateAccount} |
| ARGV[1] | LockPubSub.unlockMessage | 解锁时的消息 | 0 |
| ARGV[2] | internalLockLeaseTime | 释放锁的时间 | 10000 |
| ARGV[3] | getLockName(threadId) | 线程名称 | b60a9c8c-92f8-4bfe-b0e7-308967346336:1 |
// KEYS[1] 锁的名称 updateAccount
// KEYS[2] 频道名称 redisson_lock__channel:{updateAccount}
// ARGV[1] 释放锁的消息 0
// ARGV[2] 锁释放时间 10000
// ARGV[3] 线程名称
// 锁不存在(过期或者已经释放了)
if (redis.call('exists', KEYS[1]) == 0) then
// 发布锁已经释放的消息
redis.call('publish', KEYS[2], ARGV[1]);
return 1;
end;
// 锁存在,但是不是当前线程加的锁
if (redis.call('hexists', KEYS[1], ARGV[3]) == 0) then
return nil;
end;
// 锁存在,是当前线程加的锁
// 重入次数-1
local counter = redis.call('hincrby', KEYS[1], ARGV[3], -1);
// -1 后大于 0,说明这个线程持有这把锁还有其他的任务需要执行
if (counter > 0) then
// 重新设置锁的过期时间
redis.call('pexpire', KEYS[1], ARGV[2]);
return 0;
else
// -1 之后等于 0,现在可以删除锁了
redis.call('del', KEYS[1]);
// 删除之后发布释放锁的消息
redis.call('publish', KEYS[2], ARGV[1]);
return 1;
end;
// 其他情况返回 nil
return nil;
这个是 Redisson 里面分布式锁的实现,我们在调用的时候非常简单。 Redisson 跟 Jedis 定位不同,它不是一个单纯的 Redis 客户端,而是基于 Redis 实 现的分布式的服务,如果有需要用到一些分布式的数据结构,比如我们还可以基于 Redisson 的分布式队列实现分布式事务,就可以引入 Redisson 的依赖实现。
2 数据一致性
2.1 缓存使用场景
针对读多写少的高并发场景,我们可以使用缓存来提升查询速度。
当我们使用 Redis 作为缓存的时候,一般流程是这样的:
1、如果数据在 Redis 存在,应用就可以直接从 Redis 拿到数据,不用访问数据库。

2、如果 Redis 里面没有,先到数据库查询,然后写入到 Redis,再返回给应用。

2.2 一致性问题的定义
因为这些数据是很少修改的,所以在绝大部分的情况下可以命中缓存。但是,一旦 被缓存的数据发生变化的时候,我们既要操作数据库的数据,也要操作 Redis 的数据, 所以问题来了。现在我们有两种选择:
1、先操作 Redis 的数据再操作数据库的数据
2、先操作数据库的数据再操作 Redis 的数据
对于数据库的实时性一致性要求不是特别高的场合,比如 T+1 的报表,可以采用定 时任务查询数据库数据同步到 Redis 的方案。
由于我们是以数据库的数据为准的,所以给缓存设置一个过期时间,是保证最终一 致性的解决方案。
2.3 方案选择
2.3.1 Redis:删除还是更新?
更新缓存之前,是不是要经过其他表的查询、接口调用、计算才能得到最新的数据, 而不是直接从数据库拿到的值。如果是的话,建议直接删除缓存,这种方案更加简单, 而且避免了数据库的数据和缓存不一致的情况。在一般情况下,我们也推荐使用删除的 方案。
2.3.2 先更新数据库,再删除缓存
正常情况:
更新数据库,成功。
删除缓存,成功。
异常情况:
1、更新数据库失败,程序捕获异常,不会走到下一步,所以数据不会出现不一致。
2、更新数据库成功,删除缓存失败。数据库是新数据,缓存是旧数据,发生了不一 致的情况。
这种问题怎么解决呢?我们可以提供一个重试的机制。 比如:如果删除缓存失败,我们捕获这个异常,把需要删除的 key 发送到消息队列。 然后自己创建一个消费者消费,尝试再次删除这个 key。 这种方式有个缺点,会对业务代码造成入侵。
所以我们又有了第二种方案(异步更新缓存):
因为更新数据库时会往 binlog 写入日志,所以我们可以通过一个服务来监听 binlog 的变化(比如阿里的 canal),然后在客户端完成删除 key 的操作。如果删除失败的话, 再发送到消息队列。
总之,对于后删除缓存失败的情况,我们的做法是不断地重试删除,直到成功。
无论是重试还是异步删除,都是最终一致性的思想。
2.3.3 先删除缓存,再更新数据库
正常情况:
删除缓存,成功。
更新数据库,成功。
异常情况:
1、删除缓存,程序捕获异常,不会走到下一步,所以数据不会出现不一致。
2、删除缓存成功,更新数据库失败。 因为以数据库的数据为准,所以不存在数据 不一致的情况。
看起来好像没问题,但是如果有程序并发操作的情况下:
1)线程 A 需要更新数据,首先删除了 Redis 缓存
2)线程 B 查询数据,发现缓存不存在,到数据库查询旧值,写入 Redis,返回
3)线程 A 更新了数据库 这个时候,Redis 是旧的值,数据库是新的值,发生了数据不一致的情况。
那问题就变成了:能不能让对同一条数据的访问串行化呢?代码肯定保证不了,因 为有多个线程,即使做了任务队列也可能有多个服务实例。数据库也保证不了,因为会 有多个数据库的连接。只有一个数据库只提供一个连接的情况下,才能保证读写的操作 是串行的,或者我们把所有的读写请求放到同一个内存队列当中,但是这种情况吞吐量 太低了。
所以我们有一种延时双删的策略,在写入数据之后,再删除一次缓存。
A 线程:
- 删除缓存
- 更新数据库
- 休眠 500ms(这个时间,依据读取数据的耗时而定)
- 再次删除缓存
public void write(String key,Object data){
redis.delKey(key);
db.updateData(data);
Thread.sleep(500);
redis.delKey(key);
}
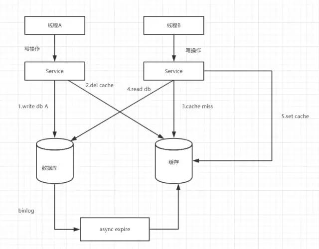
缓存维护方案一
假设有一写(线程A)一读(线程B)操作,先操作缓存,在操作数据库。,如下流程图所

1)线程A发起一个写操作,第一步del cache
2)线程A第二步写入新数据到DB
3)线程B发起一个读操作,cache miss,
4)线程B从DB获取最新数据
5)请求B同时set cache
这样看,没啥问题。我们再看第二个流程图,如下:

1)线程A发起一个写操作,第一步del cache
2)此时线程B发起一个读操作,cache miss
3)线程B继续读DB,读出来一个老数据
4)然后老数据入cache
5)线程A写入了最新的数据
OK,酱紫,就有问题了吧,老数据入到缓存了,每次读都是老数据啦,缓存与数据与数据库数据不一致。
缓存维护方案二
双写操作,先操作缓存,在操作数据库。
[外链图片转存失败,源站可能有防盗链机制,建议将图片保存下来直接上传(img-umPd2axO-1603419811139)(https://i.loli.net/2020/05/30/hn2WRzJHudl7Gr8.png)]
1)线程A发起一个写操作,第一步set cache
2)线程A第二步写入新数据到DB
3)线程B发起一个写操作,set cache,
4)线程B第二步写入新数据到DB
这样看,也没啥问题。,但是有时候可能事与愿违,我们再看第二个流程图,如下:

1)线程A发起一个写操作,第一步set cache
2)线程B发起一个写操作,第一步setcache
3)线程B写入数据库到DB
4)线程A写入数据库到DB
执行完后,缓存保存的是B操作后的数据,数据库是A操作后的数据,缓存和数据库数据不一致。
缓存维护方案三
一写(线程A)一读(线程B)操作,先操作数据库,再操作缓存。

1)线程A发起一个写操作,第一步write DB
2)线程A第二步del cache
3)线程B发起一个读操作,cache miss
4)线程B从DB获取最新数据
5)线程B同时set cache
这种方案没有明显的并发问题,但是有可能步骤二删除缓存失败,虽然概率比较小,优于方案一和方案二,平时工作中也是使用方案三。
综上对比,我们一般采用方案三,但是有没有完美全解决方案三的弊端的方法呢?
缓存维护方案四
这个是方案三的改进方案,都是先操作数据库再操作缓存,我们来看一下流程图:

通过数据库的binlog来异步淘汰key,以mysql为例 可以使用阿里的canal将binlog日志采集发送到MQ队列里面,然后通过ACK机制 确认处理 这条更新消息,删除缓存,保证数据缓存一致性。
但是呢还有个问题,如果是主从数据库呢?
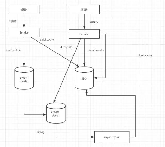
缓存维护方案五
主从DB问题:因为主从DB同步存在同时延时时间如果删除缓存之后,数据同步到备库之前已经有请求过来时,会从备库中读到脏数据,如何解决呢?解决方案如下流程图:

缓存维护总结
综上所述,在分布式系统中,缓存和数据库同时存在时,如果有写操作的时候,先操作数据库,再操作缓存。如下:
(1)读取缓存中是否有相关数据
(2)如果缓存中有相关数据value,则返回
(3)如果缓存中没有相关数据,则从数据库读取相关数据放入缓存中key->value,再返回
(4)如果有更新数据,则先更新数据,再删除缓存
(5)为了保证第四步删除缓存成功,使用binlog异步删除
(6)如果是主从数据库,binglog取自于从库
(7)如果是一主多从,每个从库都要采集binlog,然后消费端收到最后一台binlog数据才删除缓存
3 高并发问题
在 Redis 存储的所有数据中,有一部分是被频繁访问的。有两种情况可能会导致热 点问题的产生,一个是用户集中访问的数据,比如抢购的商品,明星结婚和明星出轨的 微博。还有一种就是在数据进行分片的情况下,负载不均衡,超过了单个服务器的承受 能力。热点问题可能引起缓存服务的不可用,最终造成压力堆积到数据库。 出于存储和流量优化的角度,我们必须要找到这些热点数据
3.1 热点数据发现
除了自动的缓存淘汰机制之外,怎么找出那些访问频率高的 key 呢?或者说,我们 可以在哪里记录 key 被访问的情况呢?
3.1.1 客户端
第一个当然是在客户端了,比如我们可不可以在所有调用了 get、set 方法的地方, 加上 key 的计数。但是这样的话,每一个地方都要修改,重复的代码也多。如果我们用 的是 Jedis 的客户端,我们可以在 Jedis 的 Connection 类的 sendCommand()里面,用 一个 HashMap 进行 key 的计数。
但是这种方式有几个问题:
1、不知道要存多少个 key,可能会发生内存泄露的问题。
2、会对客户端的代码造成入侵。
3、只能统计当前客户端的热点 key。
3.1.2 代理
第二种方式就是在代理端实现,比如 TwemProxy 或者 Codis,但是不是所有的项目 都使用了代理的架构。
3.1.3 服务端
第三种就是在服务端统计,Redis 有一个 monitor 的命令,可以监控到所有 Redis 执行的命令。
jedis.monitor(new JedisMonitor() {
@Override
public void onCommand(String command) {
System.out.println("#monitor: " + command);
}
});
[外链图片转存失败,源站可能有防盗链机制,建议将图片保存下来直接上传(img-SSjBKfWz-1603419811142)(https://i.loli.net/2020/06/01/nEbvfl1Nch9UxGz.png)]
Facebook 的 开 源 项 目 redis-faina (https://github.com/facebookarchive/redis-faina.git)就是基于这个原理实现的。 它是一个 python 脚本,可以分析 monitor 的数据。
redis-cli -p 6379 monitor | head -n 100000 | ./redis-faina.py
这种方法也会有两个问题:
- monitor 命令在高并发的场景下,会影响性能,所以 不适合长时间使用。-
- 只能统计一个 Redis 节点的热点 key。
3.1.4 机器层面
还有一种方法就是机器层面的,通过对 TCP 协议进行抓包,也有一些开源的方案, 比如 ELK 的 packetbeat 插件。
当我们发现了热点 key 之后,我们来看下热点数据在高并发的场景下可能会出现的 问题,以及怎么去解决。
3.2 缓存雪崩
3.2.1 什么是缓存雪崩
缓存雪崩就是 Redis 的大量热点数据同时过期(失效),因为设置了相同的过期时 间,刚好这个时候 Redis 请求的并发量又很大,就会导致所有的请求落到数据库。
3.2.2 缓存雪崩的解决方案
- 加互斥锁或者使用队列,针对同一个 key 只允许一个线程到数据库查询
- 缓存定时预先更新,避免同时失效
- 通过加随机数,使 key 在不同的时间过期
- 缓存永不过期
3.3 缓存穿透
3.3.1 缓存穿透何时发生

还有一种情况,数据在数据库和 Redis 里面都不存在,可能是一次条件错误的查询。 在这种情况下,因为数据库值不存在,所以肯定不会写入 Redis,那么下一次查询相同的 key 的时候,肯定还是会再到数据库查一次。那么这种循环查询数据库中不存在的值,并 且每次使用的是相同的 key 的情况,我们有没有什么办法避免应用到数据库查询呢?
缓存空数据
缓存特殊字符串,比如&&
我们可以在数据库缓存一个空字符串,或者缓存一个特殊的字符串,那么在应用里 面拿到这个特殊字符串的时候,就知道数据库没有值了,也没有必要再到数据库查询了。 但是这里需要设置一个过期时间,不然的话数据库已经新增了这一条记录,应用也 还是拿不到值。
这个是应用重复查询同一个不存在的值的情况,如果应用每一次查询的不存在的值 是不一样的呢?即使你每次都缓存特殊字符串也没用,因为它的值不一样,比如我们的 用户系统登录的场景,如果是恶意的请求,它每次都生成了一个符合 ID 规则的账号,但 是这个账号在我们的数据库是不存在的,那 Redis 就完全失去了作用。 这种因为每次查询的值都不存在导致的 Redis 失效的情况,我们就把它叫做缓存穿透。这个问题我们应该怎么去解决呢?
3.3.2 缓存穿透之布隆过滤器
其实它也是一个通用的问题,关键就在于我们怎么知道请求的 key 在我们的数据库 里面是否存在,如果数据量特别大的话,我们怎么去快速判断。
这也是一个非常经典的面试题:
如何在海量元素中(例如 10 亿无序、不定长、不重复)快速判断一个元素是否存在?
如果是缓存穿透的这个问题,我们要避免到数据库查询不存的数据,肯定要把这 10 亿放在别的地方。这些数据在 Redis 里面也是没有的,为了加快检索速度,我们要把数 据放到内存里面来判断,问题来了: 如果我们直接把这些元素的值放到基本的数据结构(List、Map、Tree)里面,比如 一个元素 1 字节的字段,10 亿的数据大概需要 900G 的内存空间,这个对于普通的服务 器来说是承受不了的。 所以,我们存储这几十亿个元素,不能直接存值,我们应该找到一种最简单的最节 省空间的数据结构,用来标记这个元素有没有出现。 这个东西我们就把它叫做位图,他是一个有序的数组,只有两个值,0 和 1。0 代表 不存在,1 代表存在。

那我们怎么用这个数组里面的有序的位置来标记这10亿个元素是否存在呢?我们是 不是必须要有一个映射方法,把元素映射到一个下标位置上?
对于这个映射方法,我们有几个基本的要求:
因为我们的值长度是不固定的,我希望不同长度的输入,可以得到固定长度的输出。
转换成下标的时候,我希望他在我的这个有序数组里面是分布均匀的,不然的话 全部挤到一对去了,我也没法判断到底哪个元素存了,哪个元素没存。
这个就是哈希函数,比如 MD5、SHA-1 等等这些都是常见的哈希算法。

比如,这 6 个元素,我们经过哈希函数和位运算,得到了相应的下标。
3.3.3 哈希碰撞
这个时候,Tom 和 Mic 经过计算得到的哈希值是一样的,那么再经过位运算得到的 下标肯定是一样的,我们把这种情况叫做哈希冲突或者哈希碰撞。
如果发生了哈希碰撞,这个时候对于我们的容器存值肯定是有影响的,我们可以通 过哪些方式去降低哈希碰撞的概率呢?
第一种就是扩大位数组的长度或者说位图容量。因为我们的函数是分布均匀的,所 以,位图容量越大,在同一个位置发生哈希碰撞的概率就越小。
是不是位图容量越大越好呢?不管存多少个元素,都创建一个几万亿大小的位图, 可以吗?当然不行,因为越大的位图容量,意味着越多的内存消耗,所以我们要创建一 个合适大小的位图容量。
除了扩大位图容量,我们还有什么降低哈希碰撞概率的方法呢? 如果两个元素经过一次哈希计算,得到的相同下标的概率比较高,我可以不可以计 算多次呢? 原来我只用一个哈希函数,现在我对于每一个要存储的元素都用多个哈希函 数计算,这样每次计算出来的下标都相同的概率就小得多了。
同样的,我们能不能引入很多个哈希函数呢?比如都计算 100 次,都可以吗?当然 也会有问题,第一个就是它会填满位图的更多空间,第二个是计算是需要消耗时间的。 所以总的来说,我们既要节省空间,又要很高的计算效率,就必须在位图容量和函 数个数之间找到一个最佳的平衡。 比如说:我们存放 100 万个元素,到底需要多大的位图容量,需要多少个哈希函数 呢?
3.3.4 布隆过滤器原理
当然,这个事情早就有人研究过了,在 1970 年的时候,有一个叫做布隆的前辈对于 判断海量元素中元素是否存在的问题进行了研究,也就是到底需要多大的位图容量和多 少个哈希函数,它发表了一篇论文,提出的这个容器就叫做布隆过滤器。
首先,布隆过滤器的本质就是我们刚才分析的,一个位数组,和若干个哈希函数。

集合里面有 3 个元素,要把它存到布隆过滤器里面去,应该怎么做?首先是 a 元素, 这里我们用 3 次计算。b、c 元素也一样。
元素已经存进去之后,现在我要来判断一个元素在这个容器里面是否存在,就要使 用同样的三个函数进行计算。
比如 d 元素,我用第一个函数 f1 计算,发现这个位置上是 1,没问题。第二个位置 也是 1,第三个位置也是 1 。
如果经过三次计算得到的下标位置值都是 1,这种情况下,能不能确定 d 元素一定 在这个容器里面呢? 实际上是不能的。比如这张图里面,这三个位置分别是把 a,b,c 存进去的时候置成 1 的,所以即使 d 元素之前没有存进去,也会得到三个 1,判断返回 true。
所以,这个是布隆过滤器的一个很重要的特性,因为哈希碰撞不可避免,所以它会 存在一定的误判率。这种把本来不存在布隆过滤器中的元素误判为存在的情况,我们把 它叫做假阳性(False Positive Probability,FPP)。
我们再来看另一个元素,e 元素。我们要判断它在容器里面是否存在,一样地要用这 三个函数去计算。第一个位置是 1,第二个位置是 1,第三个位置是 0。
e 元素是不是一定不在这个容器里面呢? 可以确定一定不存在。如果说当时已经把 e 元素存到布隆过滤器里面去了,那么这三个位置肯定都是 1,不可能出现 0。
e 元素是不是一定不在这个容器里面呢? 可以确定一定不存在。如果说当时已经把 e 元素存到布隆过滤器里面去了,那么这三个位置肯定都是 1,不可能出现 0。
总结:布隆过滤器的特点:
从容器的角度来说:
1、如果布隆过滤器判断元素在集合中存在,不一定存在
2、如果布隆过滤器判断不存在,一定不存在
从元素的角度来说:
3、如果元素实际存在,布隆过滤器一定判断存在
4、如果元素实际不存在,布隆过滤器可能判断存在
利用,第二个特性,我们是不是就能解决持续从数据库查询不存在的值的问题?
3.3.5 Guava 的实现
谷歌的 Guava 里面就提供了一个现成的布隆过滤器。
<dependency>
<groupId>com.google.guava</groupId>
<artifactId>guava</artifactId>
<version>21.0</version>
</dependency>
创建布隆过滤器:
BloomFilter<String> bf = BloomFilter.create(Funnels.stringFunnel(Charsets.UTF_8), insertions);
布隆过滤器提供的存放元素的方法是 put()。
布隆过滤器提供的判断元素是否存在的方法是 mightContain()。
if (bf.mightContain(data)) {
if (sets.contains(data)) {
// 判断存在实际存在的时候,命中
right++;
continue;
}
// 判断存在却不存在的时候,错误
wrong++;
}
布隆过滤器把误判率默认设置为 0.03,也可以在创建的时候指定。
public static <T> BloomFilter<T> create(Funnel<? super T> funnel, long expectedInsertions) {
return create(funnel, expectedInsertions, 0.03D);
}
位图的容量是基于元素个数和误判率计算出来的。
long numBits = optimalNumOfBits(expectedInsertions, fpp);
根据位数组的大小,我们进一步计算出了哈希函数的个数。
int numHashFunctions = optimalNumOfHashFunctions(expectedInsertions, numBits);
存储 100 万个元素只占用了 0.87M 的内存,生成了 5 个哈希函数。
https://hur.st/bloomfilter/?n=1000000&p=0.03&m=&k=
3.3.6 布隆过滤器在项目中的使用
布隆过滤器的工作位置:

因为要判断数据库的值是否存在,所以第一步是加载数据库所有的数据。在去 Redis 查询之前,先在布隆过滤器查询,如果 bf 说没有,那数据库肯定没有,也不用去查了。 如果 bf 说有,才走之前的流程。
3.3.7 布隆过滤器的其他应用场景
布隆过滤器解决的问题是什么?如何在海量元素中快速判断一个元素是否存在。所 以除了解决缓存穿透的问题之外,我们还有很多其他的用途。
比如爬数据的爬虫,爬过的 url 我们不需要重复爬,那么在几十亿的 url 里面,怎么 判断一个 url 是不是已经爬过了?
ns(data)) {
// 判断存在实际存在的时候,命中
right++;
continue;
}
// 判断存在却不存在的时候,错误
wrong++;
}
布隆过滤器把误判率默认设置为 0.03,也可以在创建的时候指定。
~~~java
public static <T> BloomFilter<T> create(Funnel<? super T> funnel, long expectedInsertions) {
return create(funnel, expectedInsertions, 0.03D);
}
位图的容量是基于元素个数和误判率计算出来的。
long numBits = optimalNumOfBits(expectedInsertions, fpp);
根据位数组的大小,我们进一步计算出了哈希函数的个数。
int numHashFunctions = optimalNumOfHashFunctions(expectedInsertions, numBits);
存储 100 万个元素只占用了 0.87M 的内存,生成了 5 个哈希函数。