姿态表示
姿态检测算法:姿态的表示可以用欧拉角,也可以用四元数。姿态检测算法的作用就是将加速度计、陀螺仪等传感器的测量值解算成姿态,进而作为系统的反馈量。在获取sensors值之前需要对数据进行滤波,滤波算法主要是将获取到的陀螺仪和加速度计的数据融合进行去噪声及融合,得出正确的角度数据(欧拉角或四元数),数据融合主要采用互补滤波或者卡尔曼滤波。
欧拉角
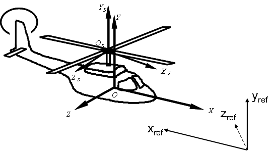
用欧拉角进行姿态表示,实质上描述的体轴系与其他坐标系的转化,首先我们先明确直升机的三个坐标系:体轴系、地轴系、桨轴系。
我们使用欧拉角表述姿态角就是要表示体轴系到地轴系的转换关系。我们给出下图体轴系与地轴系的转换关系。下图引用陈仁良教授的直升机飞行动力学教材。
将OXD YD ZD 绕轴OYD转过偏航角Ψ,成为OX‘YD Z’,其转换矩阵为
然后绕轴OZ’转过俯仰角θ,成为OXYZ‘,其转换矩阵为
再绕OX转过侧倾角γ,与通州西OXYZ重合,其转换矩阵为
利用上述转换矩阵可得到地轴系到体轴系的变换矩阵
这样地轴系到体轴系的转换矩阵可以表示为
以上坐标转换具有正交性,其变换是可逆的,从而实现体轴系到地轴系的转换。
特别提出,由于部分直升机桨轴具有前倾角δ。
我们需要计算桨轴系到体轴系的坐标转换。
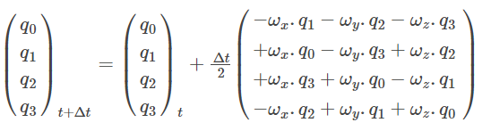
四元数
初始化四元数。
一阶龙格库塔法更新四元素。wx 等是经过数据融合后的测量角速度。
最后我们需要从四元数转换为姿态角信息。
APM姿态解算过程

版权声明:本文为yinxian5224原创文章,遵循CC 4.0 BY-SA版权协议,转载请附上原文出处链接和本声明。