element ui官网的table多选后的样式如下图

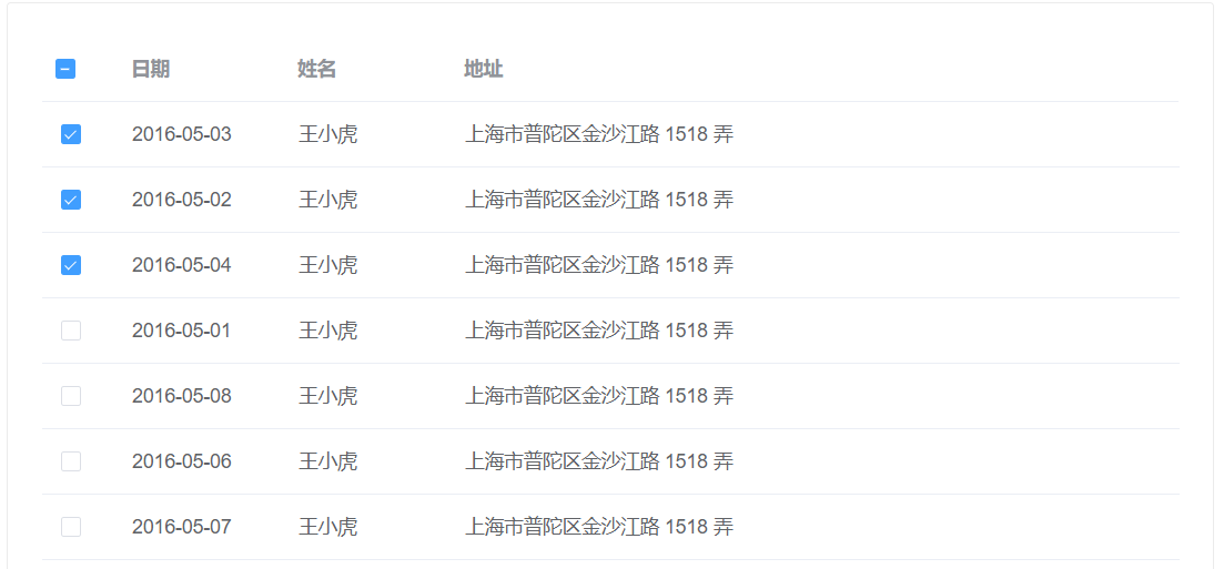
我们想要的效果如下图(选中的是有底色/高亮的)
用到的主要知识点如下图(2张)

为了方便后期修改颜色,我们把样式写在了公共样式中–common.less
//table选中高亮
.el-table .slecleRowColor {
background: #EAF4FF !important;
}
//改变element ui自带的hover高亮颜色
.el-table tbody tr:hover > td {
background-color: #EAF4FF !important;
}
在界面组件中—index.vue
主要代码 :row-class-name="rowClass" ,@selection-change="handleSelectionChange"
html:
<el-table ref="inspectTable"
:data="inspectTable.data"
size="mini"
:row-class-name="rowClass"
@selection-change="handleSelectionChange">
<el-table-column type="selection"
width="55"></el-table-column>
<el-table-column v-for="item in inspectTable.columns"
:key="item[inspectTable.key]"
:show-overflow-tooltip="true"
:prop="item.prop"
:label="item.label"
:width="item.width"
:sortable="item.sortable"
:formatter="item.formatter"></el-table-column>
<el-table-column label="操作"
width="150px">
<template slot-scope="scope">
<el-button size="mini"
type="text"
v-if="judge('inspection-list:update')"
@click="btnEvent('edit',scope.row)">编辑</el-button>
<el-button size="mini"
type="text"
v-if="judge('inspection-list:delete')"
@click="btnEvent('deleteInfo',scope.row)">删除</el-button>
<el-button size="mini"
type="text"
@click="btnEvent('detail',scope.row)">详情</el-button>
</template>
</el-table-column>
</el-table>
script:
<script>
export default {
data () {
return {
selectRow: [],//选中的行
selectData: [],//选中的数据
},
watch: {
//监听多选的选择状态、数据
selectData (data) {
this.selectRow = []
if (data.length > 0) {
data.forEach((item, index) => {
this.selectRow.push(this.inspectTable.data.indexOf(item))
})
}
}
},
//勾选数据行的 Checkbox 时触发的事件
rowClass ({ row, rowIndex }) {
if (this.selectRow.includes(rowIndex)) {
return 'slecleRowColor ';
}
},
// 选中的信息
handleSelectionChange (val) {
this.selectData = val
},
}
style:
(这个路径根据自己文件的来)
<style lang="less">
@import '../../assets/css/Common.less';
</style>
注意:
watch中的 this.selectRow.push(this.inspectTable.data.indexOf(item))中的inspectTable.data是根据html部分的 :data="inspectTable.data"来写
如果不对应会报错,如下图:
版权声明:本文为weixin_42555643原创文章,遵循CC 4.0 BY-SA版权协议,转载请附上原文出处链接和本声明。