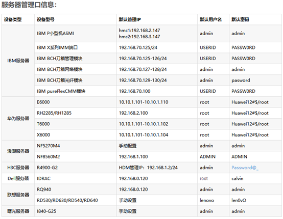
1、华为服务器:
管理默认IP:192.168.2.100/24
默认用户名密码:
V3机器:root/Huawei12#$
V5机器:Administrator/Admin@9000
2、IBM X系列:
管理默认IP:192.168.70.125/24
默认用户名密码:USERID/PASSW0RD (0是数字0);
IBM RD系列:
管理默认IP:192.168.70.125/24
默认用户名密码:USERID/PASSW0RD (0是数字0) 或者lenovo/len0v0 (0是数字0);
3、IBM P小型机:
管理默认IP:192.168.2.147/3.147
默认用户名密码:admin/admin;
4、联想ThinkServer RQ940:
管理默认IP:192.168.0.120
默认用户名密码:admin/admin;
5、联想RD350:
管理默认IP:192.168.70.125
默认用户名密码:USERID/PASSW0RD (0是数字0);
6、联想SR550:
管理默认IP:192.168.70.125/24
默认用户名密码:USERID/PASSW0RD (0是数字0);
7、H3C服务器:
管理默认IP:192.168.1.2/24
默认用户名密码:admin/Password@_;
8、HP管理ILO:
管理默认IP:无
默认用户名密码:Administrator/password;
9、DELL服务器IDRAC:
管理默认IP:192.168.0.120
默认用户名密码: root/calvin;
10、HDS 2100存储:
默认用户名密码:system/manager;
0控:
绿色区192.168.0.16(此口地址也是默认地址,用户没有修改)
黄色区10.61.59.10 (此口上面有一个透明塑料盖子封上了,此口的ip地址不能更改);
1控:
绿色区192.168.0.17(此口地址也是默认地址,用户没有修改)
黄色区10.0.0.17 (此口上面有一个透明塑料盖子封上了,此口的ip地址不能更改);
网页登录:http://127.0.0.1:23015/StorageNavigatorModular/
或者:http://<x.x.x.x>:23015/StorageNavigatorModular/Login
11、EMC vnx5300:
管理默认IP:
SPA:1.1.1.1
SPB:1.1.1.2
维护默认IP:
SPA:128.221.1.250
SPB:128.221.1.251
255.255.255.248
默认用户名密码:admin/password
12、EMC VNX5700:
管理默认IP:1.1.1.1/1.1.1.2
默认用户名密码:sysadmin/sysadmin
13、宏杉存储MS系列:
管理默认IP:192.168.0.210/220
默认用户名密码:admin/admin
14、HP3PARManagementConsole:
管理默认IP:Ip:192.168.100.100
User:3paradm
Password:3pardata
3paradm/3parInServ
15、IBM V5030 T口:
管理默认IP:192.168.0.1
superuser/passw0rd
16、IBM V7000:
管理默认IP:
192.168.128.101/24
192.168.128.102/24
superuser/passw0rd (0是数字0)
17、DS4700
管理默认IP:
port1 A控:192.168.128.101/24
port1 B控:192.168.128.102/24
port2 A控:192.168.129.101/24
port2 B控:192.168.129.101/24
18、IBM DS5020存储:
管理默认IP:192.168.128.101/102
账号shellUsr
密码wy3oo&w4
微码为07.70以下清密码命令;
clearSYMbolPassword
或者
symbolPwdReset
微码为7.70及以上:
spriMenuPwdReset
对于微码在07.10以上的DS4000/DS5000,用户名是“shellUsr”,密码是“wy3oo&w4”(大小写敏感,密码实际上是在键盘上用户名字符左上角的字符)
19、浪潮管理口:
IPMI默认 IP 为: 192.168.1.1
默认用户/密码:admin/admin
浪潮AS5300/5500
管理软件登录用户名默认,密码为root
浏览器登录用户名默认,密码为空
20、浪潮AS5600
默认 IP 为 :192.168.1.1
浏览器登录默认用户名:superuser 密码:passw0rd (0是数字0)
21、dell 管理口 idrac:
默认IP:192.168.0.120
默认用户与密码:root/calvin
22、爱数一体机vx1210
em1网卡默认IP为:192.168.0.253
管理口默认IP:192.168.2.100
默认用户与密码:root/Huawei12#$
23、brocade 博科交换机
默认IP:10.77.77.77
通过telnet方式登录255.255.255.0
默认用户与密码:admin/password
最高权限 root/fibranne(恢复出厂密码)
串口登录,恢复出厂密码命令:passwddefault (root用户下)
24、常见服务器存储默认信息(作为补充):


各厂家服务器存储默认登录信息
版权声明:本文为huangzhangjian922原创文章,遵循CC 4.0 BY-SA版权协议,转载请附上原文出处链接和本声明。