前言
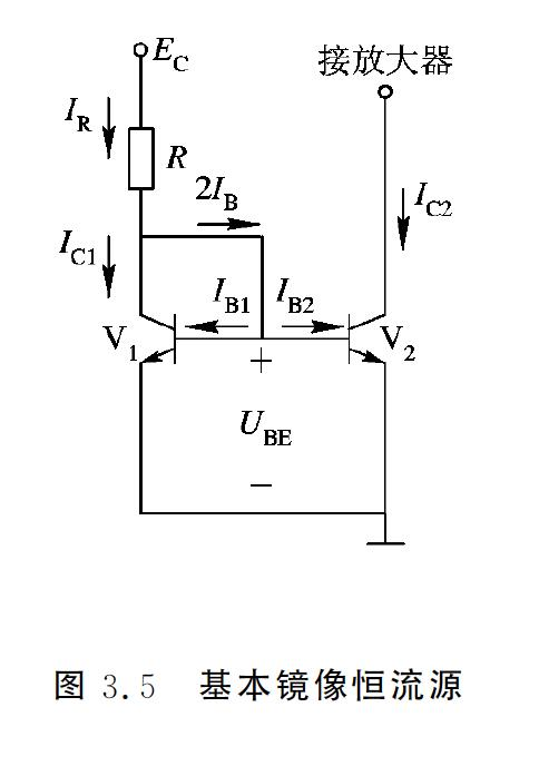
镜像恒流源是模拟集成电路中普遍存在的一种标准部件,它的受控电流与输入参考电 流相等,即输入输出电流传输比等于1。其特点是输出电流是对输入电流按一定比例的“复制”,用来产生偏置电流和作为有源负载。
镜像恒流源是电流控制电流源,镜像恒流源可以有多路输出电流。人们对镜像恒流源所关心的问题是其输出电阻、Io对IR的跟随精度以及它对电源电压和温度的灵敏性等。在传统的电压模式运算放大器设计中,镜像恒流源用来产生偏置电流和作为有源负载。在新型电流模式模拟集成电路设计中,镜像恒流源除了用来产生偏置电流外,还被广泛用来实现电流信号的复制或倍乘,极性互补的镜像恒流源还可以实现差动一单端电流信号的变换。镜像恒流源是设计集成电路的基本单元电路
1、镜像恒流源电路的输出电流与参考电流成镜像关系,即IC2~=IR
2、参考电流仅取决于外电路参数,与晶体管参数无关,即与温度无关,这样就将IC2稳定住了可以为放大电路提供稳定的偏置电流
3、输出电流与参考电流存在一定的误差。当采用的BJT的β较小时,用一个参考电路同时带动多个输出电流的镜像恒流源电路,其误差将会大大增加。可见基本镜像恒流源输出电流与参考电流之间不完全成镜像关系,精度较差。
4、电流源的输出电阻等于V1管的输出电阻,相对较小,因此恒流源内阻并不大。在实际应用中输出电流受负载波动的影响较显著。
5、V1和V2工作状态并不对称,集电结偏置差别很大,当考虑到基区宽调效应时,其电流精度要大打折扣
NPN型镜像电流源
如图所示为NPN型三极管搭建的镜像电流源,IR~=Iout

大家知道镜像电流源的前提就是使用的两个三极管的参数要尽量对称。但是 在仿真时发现,使用两个MMBT3904的NPN型三极管仿真效果很差,两边的电流相差比较大,想着可能是因为仿真软件中器件的参数设置比较贴近真实器件的参数:器件的参数为离散的,两个不同的器件参数不可能完全一样。
最后选择仿真软件中理想的器件进行仿真,结果跟理论较符,电流相差不大。
## 分析
1、由于左右两边的三极管的参数是对称的,所以流向两个三极管的电流应该是一样的,都为IB.
2、左侧三极管T2的集电极与基极连在一起,可以理解为:等效为一个二极管。
IR= IC + 2IB
Iout= βIB => IB= Iout/β
IC = Iout
以上可推导出: IR= Iout + 2Iout/β => Iout = IR/(1+2/β) 只要β足够大,2/β就足够小,Iout ~= IR
带负载能力:
R1阻值为10k,观察负载电阻变化时,输出电流的变化情况:
可以看出。恒定电流为2.33mA时,电路的最大带负载能力为9.82k,可以看出当电源电压变大,最大负载也会变大,这里我们把电压加到48V,看下波形:

电流不变,可带负载变为原来的两倍。
PNP型镜像电流源

原理同NPN。这里就不过多分析,
直接来看下仿真波形:
电源电压为5V .R1为1K
电流随负载变化曲线,可见此参数下的电路没带负载能力为1.04k.