1.1深圳地铁一、二期工程专用无线通信系统
深圳地铁一期工程于2001年3月正式动工建设,2004年12月28日开通试运营,由1号线东段和4号线南段组成,横跨罗湖区、福田区和南山区,全部为地下线路,正线里程为双线21.453km,设19座车站、1个车辆段及综合基地、1个指挥控制中心。
深圳地铁二期工程于2011年6月28日建成开通,包括1号线北延、4号线北延、2号线、3号线、5号线和北站枢纽工程,大部分是地下铁路,少部分是高架铁路。
截止2013年底,深圳地铁共开通1~5号线五条线路,长度达170km,由深圳地铁集团和港铁4号线公司分别运营。
深圳地铁一、二期工程五条线路的专用无线通信系统采用TETRA制式800MHz数字集群进口设备,各条线路独立建设,但每条线路的系统构成基本相同。
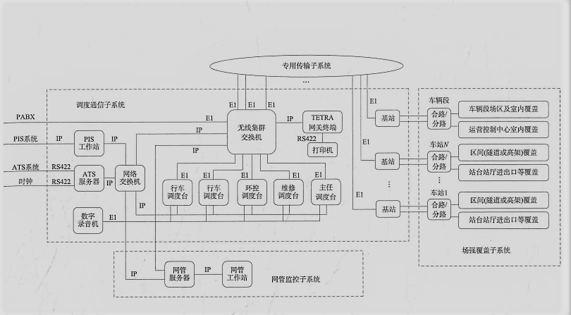
如图所示,在控制中心设有:
(1)无线调度台,包括1号线调度台、4号线调度台、环控调度台和维修调度台
(2)调度台控制器DCS
(3)控制交换机DXTip、网络交换机TCP/IP-SW和-48V电源
(4)通信接口服务器TCS和自动列车监控服务器ATS
(5)交换机网管、无线子系统集中网管和中继器监测终端NMS
(6)基站(含双工器)和室外天馈线
(7)数字录音机和打印机
在各车站设有:基站或中继器、固定台和室内天馈线
在车辆段设有:车辆段信号值班调度台、固定台和便携台(若干)
其他设备包括:
(1)800MHz漏泄电缆(装在隧道壁上,收发共用一根)
(2)开放式传输网络OTN(与其他专用通信设备共用)
(3)车载台及天线(主机与控制盒装在列车控制室,天线装在车顶,每列车两套)

如图所示,相对一期工程而言,深圳地铁二期工程专用无线通信系统的主要技术改进如下:
(1)一期工程信源配置为中区制(基站+中继器),二期工程改为小区制(全基站)
(2)根据深圳市无线电管理局指令,二期工程对1~5号线800MHz频率重新统一配置,原一期工程的频率配置限期使用完毕后作废
(3)一期工程全部是地下线路,二期工程有部分高架线路,因此在场强覆盖设计与安装上有所改进
(4)一期工程越区切换控制采用加装衰减器的硬件方式,二期工程改为在中心控制交换机上设置各区间切换门限的软件方式
(5)一期工程时,1、4号线未互联互通,二期工程实现了1~5号线的中心互联互通,移动台可以无缝漫游
(6)二期工程在1、2、5号线换乘站设置1台基站,为网络化下的资源共享迈出了成功的一步
(7)一期工程时,对调度台无线通信、专用电话和公务电话三个系统,不能同步录音;在二期工程的5号线中,实现了对上述三个系统的同步录音
1.2北京地铁7号线专用无线通信系统
北京地铁7号线是穿越北京市南城区的东西向骨干线路,西起北京西站,东至焦化厂,全长23.67km,共设车站21座,于2014年12月28日开通运营。北京地铁7号线装备国产化率达到92%,远远超出同一时期国内地铁国产化率的平均水平,其核心技术也已全部实现国产化,达到了最小发车间隔4min的运营要求。
北京地铁7号线的专用无线通信系统采用了中国电子科技集团公司第五十四研究所、河北远东通信系统工程有限公司研制的AcroTetra数字集群系统,是我国首条采用自主知识产权、国产化的TETRA数字集群系统的地铁线路。
北京地铁7号线专用无线通信系统规模包括:交换管理中心1套、基站22套、调度台6套、网管2套、直放站近端机6套、直放站远端机15套、车载台74套、固定台22套、手持台480部。国产化系统在以下方面实现了创新及突破:
(1)系统首次采用双中心工程模式,加快了工程进度
(2)系统首次将调度台与二次开发调度台合二为一,简化了调度坐席
(3)系统首次支持对手持台录音,实现了全网录音
(4)系统首次支持与电话系统的双路由互联,实现了路由自动切换
(5)系统首次采用统一的标准机柜,实现了机房设备整齐划一
(6)基站首次支持天馈下出线模式,降低了工程难度
(7)基站首次提供触摸液晶屏,提高了现场开通和维护效率