一、需求
1、相邻的日期如果一样,用同种颜色标记
2、不同日期要有对比间隔
3、日期为空不做样式
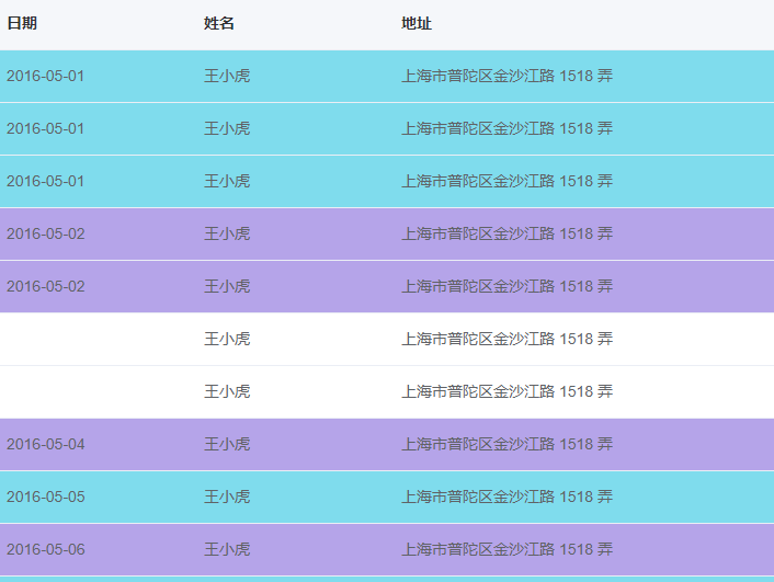
二、效果

三、思路
1、要怎么判断上下时间是一样的?
2、判断以后要怎么标记?
3、标记以后怎么控制样式?
四、实现
1、首先要整理数据,判断出上下数据是否是一样的,因为是后一个与前一个比较,所以需要单独判断第一条数据。判断第一次的时间重复几次;接下来的数据就可以按照正常的来;最后一项也需要单独判断,判断是否和上一条数据一样。
代码:
// rowI 是自己定义的相同数据会重复几次的一个标记参数
this.tableData.forEach((e, i) => {
// i === 0时单独判断
if (i === 0) {
// 判断第一条数据的时间最后出现的位置
e.rowI = this.tableData.map(k => k.date).lastIndexOf(e.date)
} else if (i - 1 >= 0 && e.date !== this.tableData[i - 1].date) {
// 当前的和上一个的属性相同,标记rowI
e.rowI = i
} else if (i === this.tableData.length - 1) {
// 最后一个也是单独判断,如果最后一条数据和上一条数据的时间不一致,rowI标记为当前的i
if (e.date !== this.tableData[i - 1].date) {
e.rowI = i
}
}
})
2、这个时候我们得到this.tableData中是有的数据有了rowI标记,我们接下来的要做的就是怎么可以把索引0-2的设置为一种颜色,索引3-4设置另一种颜色,然后5-6要重复原来的颜色。
我们可以定义两个空数组,里面分开存放两个不同颜色的标记
// 定义两个空数组,对有rowI标记的做分割
let a = []
let b = []
// 过滤undefined无效数值
let inList = this.tableData.filter(item => item.rowI || item.rowI === 0)
// 区分奇偶、可以把颜色间隔开
inList.forEach((e, i) => {
if (i % 2) {
a.push(e)
} else {
b.push(e)
}
})
// 两个在区分颜色时备用
this.aList = a
this.bList = b
3、接下来就是区分样式,el-table自带控制行样式属性:row-class-name="tableRowClassName"
时间为空的不做样式,还需要判断当前行的rowI有没有,没有的话需要填充上。上一步分开的两个存放区分不同颜色的数组就用上了,如果当前行的rowI能够和其中一个list中的rowI匹配上的话,设置当前行为一种颜色,另一个道理相同。
// 无数据==>无样式
if (!row.date) {
return ''
}
// 第一行,如果和下面行相同的话,返回的是一样的,不一样的话会间隔开,不限数量
if (rowIndex === 0) {
if (this.list[0].date === this.list[rowIndex + 1].date) {
return 'success-row'
} else {
return 'warning-row'
}
}
// 其他按照每部分不同隔开
if (rowIndex <= this.list.length - 1 && rowIndex > 0) {
row.rowI = !row.rowI ? this.list[rowIndex - 1].rowI : row.rowI
if (this.aList.map(a => a.rowI).indexOf(row.rowI) !== -1) return 'warning-row'
if (this.bList.map(b => b.rowI).indexOf(row.rowI) !== -1) return 'success-row'
}
五、完整代码
<template>
<el-card shadow="never" class="aui-card--fill">
<el-table :data="list" :row-class-name="tableRowClassName">
<el-table-column prop="date" label="日期" width="180"></el-table-column>
<el-table-column prop="name" label="姓名" width="180"></el-table-column>
<el-table-column prop="address" label="地址"></el-table-column>
</el-table>
</el-card>
</template>
<script>
export default {
data () {
return {
tableData: [
{ date: '2016-05-01', name: '王小虎', address: '上海市普陀区金沙江路 1518 弄' },
{ date: '2016-05-01', name: '王小虎', address: '上海市普陀区金沙江路 1518 弄' },
{ date: '2016-05-01', name: '王小虎', address: '上海市普陀区金沙江路 1518 弄' },
{ date: '2016-05-02', name: '王小虎', address: '上海市普陀区金沙江路 1518 弄' },
{ date: '2016-05-02', name: '王小虎', address: '上海市普陀区金沙江路 1518 弄' },
{ date: '', name: '王小虎', address: '上海市普陀区金沙江路 1518 弄' },
{ date: '', name: '王小虎', address: '上海市普陀区金沙江路 1518 弄' },
{ date: '2016-05-04', name: '王小虎', address: '上海市普陀区金沙江路 1518 弄' },
{ date: '2016-05-05', name: '王小虎', address: '上海市普陀区金沙江路 1518 弄' }
],
list: [],
aList: [],
bList: []
}
},
mounted () {
let that = this
setTimeout(() => {
this.colspanMethod()
}, 300)
},
methods: {
colspanMethod () {
// 判断当前和下一个数据若是时间相同
this.tableData.forEach((e, i) => {
// i === 0时单独判断
if (i === 0) {
e.rowI = this.tableData.map(k => k.date).lastIndexOf(e.date)
} else if (i - 1 >= 0 && e.date !== this.tableData[i - 1].date) {
// 当前的和上一个的属性形同,标记rowI
e.rowI = i
} else if (i === this.tableData.length - 1) {
// 最后一个也是单独判断
if (e.date !== this.tableData[i - 1].date) {
e.rowI = i
}
}
})
// 定义两个空数组,对有rowI标记的做分割
let a = []
let b = []
// 过滤undefined无效数值
let inList = this.tableData.filter(item => item.rowI || item.rowI === 0)
// 区分奇偶、可以把颜色间隔开
inList.forEach((e, i) => {
if (i % 2) {
a.push(e)
} else {
b.push(e)
}
})
// 找一个容器把当前循环好的数据放进去,表格绑定list,如果绑定tableData的话,一进页面数据还没有加载完全,会出错
this.list = this.tableData
// 两个在区分颜色时备用
this.aList = a
this.bList = b
},
// 控制样式
tableRowClassName ({ row, rowIndex }) {
// 无数据==>无样式
if (!row.date) {
return ''
}
// 第一行,如果和下面行相同的话,返回的是一样的,不一样的话会间隔开,不限数量
if (rowIndex === 0) {
if (this.list[0].date === this.list[rowIndex + 1].date) {
return 'success-row'
} else {
return 'warning-row'
}
}
// 其他按照每部分不同隔开
if (rowIndex <= this.list.length - 1 && rowIndex > 0) {
row.rowI = !row.rowI ? this.list[rowIndex - 1].rowI : row.rowI
if (this.aList.map(a => a.rowI).indexOf(row.rowI) !== -1) return 'warning-row'
if (this.bList.map(b => b.rowI).indexOf(row.rowI) !== -1) return 'success-row'
}
}
}
}
</script>
<style>
.el-table .warning-row {
background: rgb(181,164,233);
}
.el-table .success-row {
background: rgb(127,220,237);
}
</style>
版权声明:本文为qq_37881606原创文章,遵循CC 4.0 BY-SA版权协议,转载请附上原文出处链接和本声明。