文章目录
1.TCP/IP是一个名字
2.TCP/IP是一个网络协议族的名字
3.这个协议族有这些协议
3.1 控制数据的协议:
TCP(传输控制协议 Transmission Control Protocol)以连接为基础,也就是说两台电脑 必须先建立一个连接,然后才能传输数据。
事实上,发送和接受的电脑必须一直互相通讯 和联系。
UDP(使用者数据报协议 User Datagram Protocol)它是一个无连接服务,数据可以直 接发送而不必在两台电脑之间建立一个网
络连接。它和有连接的 TCP 相比,占用带宽少,但是你不知道你的数据是否真正到达了你的客户端,而客户端收到的数据也不知
道是否还是原来的发送顺序。
3.2 数据路由协议:
路由协议分析数据包的地址并且决定传输数据到目的电脑最佳路线。他们也可以把大的数据分成几部分,并且在目的地再把他们组合起来。
IP(因特网协议 Internet Protocol)处理实际上传输数据。
ICMP(因特网控制信息协议 Internet Control Message Protocol)处理 IP 的状态信息,比如能影响路由决策的数据错误或改变。
RIP(路由信息协议 Routing Information Protocol)它是几个决定信息传输的最佳路由 路线协议中的一个。
OSPF(Open Shortest Path First)一个用来决定路由的协议。网络地址协议决定了命名 电脑地址的方法:使用一个唯一的数字和一
个字母名字。
ARP(地址决定协议 Address Resolution Protocol)确定网络上一台电脑的数字地址。
DNS(域名系统 Domain Name System)从机器的名字确定一个机器的数字地址。
RARP(反向地址决定协议 Reverse Address Resolution Protocol)确定网络上一台计算机的地址,
和 ARP(地址决定协议 Address Resolution Protocol)正好相反。
3.3 用户服务:
BOOTP(启动协议 Boot Protocol) 由网络服务器上取得启动信息,然后将本地的网络计算机启动。
FTP(文件传输协议 File Transfer Protocol)通过国际互连网从一台计算机上传输一个或多个文件到另外一台计算机。
TELNET(远程登陆)允许一个远程登陆,使用者可以从网络上的一台机器通过 TELNET连线到另一台机器,就像使用者直接在本地操作一样
EGP(外部网关协议 Exterior Gateway Protocol)为外部网络传输路由信息。
GGP(网关到网关协议 Gateway-to-Gateway Protocol)在网关和网关之间传输路由协议。
IGP(内部网关协议 Interior Gateway Protocol)在内部网络传输路由信息。
3.4 其他:
NFS(网络文件系统 Network File System)允许将一台机器的目录被另一台机器上的用户 安装(Mount)到自己的机器上
,就像是对本地文件系统进行操作一样进行各式各样的操作。
NIS(网络信息服务 Network Information Service)对整个网络用户的用户名、密码进行统一管理,简化在 NIS 服务下整个
网络登陆的用户名/密码检查。
RPC(远程过程调用 Remote Procedure Call)通过它可以允许远程的应用程序通过简单的、有效的手段联系本地的应用程序,
反之也是。
SMTP(简单邮件传输协议 Simple Mail Transfer Protocol)一个专门为电子邮件在多台机器中传输的协议,
平时发邮件的 SMTP 服务器提供的必然服务。
SNMP(简单网络管理协议 Simple Network Management Protocol)这是一项为超级用户准备的服务,
超级用户可以通过它来进行简单的网络管理。
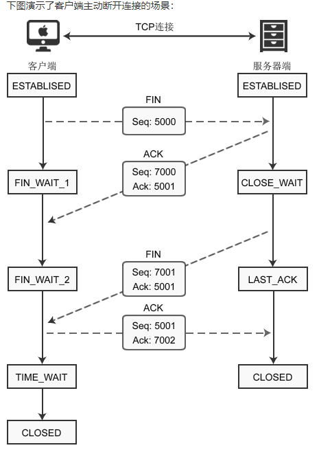
4.TCP/IP的连接与断开


5.TCP/IP的重点
TCP/IP只是协议族,重点在于使用相应的API——socket编程。
参考
http://c.biancheng.net/cpp/html/3042.html
《Linux网络编程》提取码:bxmn
版权声明:本文为qq_14877637原创文章,遵循CC 4.0 BY-SA版权协议,转载请附上原文出处链接和本声明。