购买完云服务器ECS后,对于新手而言如何搭建Web环境是比较棘手的,分享一款简单易用的主机面板:宝塔面板,分享阿里云服务器安装宝塔面板图文教程:
本文以:Linux云服务器,CentOS 7.4 64位系统为例。
一、开放安全组端口
什么是安全组?是阿里云ECS云服务器特有的虚拟防火墙,是一种安全机制,默认情况下宝塔面板依赖的端口并没有开放,所以我们第一步是自定义安全组开放端口,如下图所示:

我们以开放8888号端口为例:
1、登录到云服务器ECS控制台;
2、点击“更多”–“网络和安全组”–“安全组配置”,点击“配置规则”
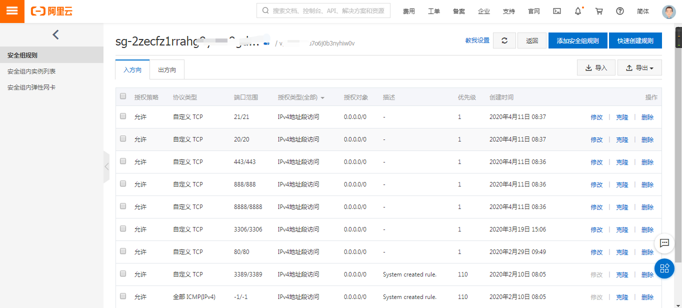
3、如下图所示,端口范围填:8888/8888,授权对象填:0.0.0.0/0

端口范围按照格式,填写我们需要开放的端口;授权对象填0.0.0.0/0的意思是对所有人开放这个端口,授权范围大家可以按照自己的需求自定义。
宝塔面板需要开放的端口有:8888、888、80、443、20、21,这6个端口都需要开放,大家按照上面的方法开放即可。
安全组不会操作,可以参考阿里云官方文档: 阿里云安全组的典型应用示例
二、安装宝塔面板
SSH的方式登录到你的云服务器ECS上,命令:ssh root@你的服务器IP
执行命令:
yum install -y wget && wget -O install.sh http://download.bt.cn/install/install_6.0.sh && sh install.sh
然后输入字母“y”,等待程序自行安装,大约2分钟
三、保存宝塔面板后台登录名和密码
执行上述命令后,程序自动安装,安装完毕后,会出现宝塔后台登录的账户名和密码,大家保存下来
Complete!
Congratulations! Install succeeded!
Bt-Panel: http://47.104.71.103:8888
username: admin
password: 66d52887
Warning:
If you cannot access the panel,
release the following port (8888|888|80|443|20|21) in the security group
宝塔面板后台登录地址为:http://你的服务器IP/8888
默认登录名为:admin
密码:安装完成后,会随机生成一段密码,请保存好
四、登录到宝塔面板后台,安装web环境
使用刚才保存的账户名和密码,登录到宝塔面吧后台,一键安装Web环境,登录宝塔面板后台,地址:http://你的服务器IP/8888,输入刚才保存好的账户和密码
登录后会自动弹出安装Web环境页面,如下图所示:

可选LNMP和LAMP两种Web环境,大家按需选择(推荐选择第一个LNMP),然后点击“一键安装”,等待即可。大约需要8分钟。
五、创建站点
Web环境一键安装完毕后,点击左侧“网站”—“添加站点”,如下图所示:
输入域名后,默认不会自动创建FTP和MySQL数据库,我们可以选择自动创建,方便省事,点击“提交”,创建成功后,会显示你的FTP和MySQL数据信息,例如:
FTP账号资料
用户:aliyunbaike_com
密码:625GcrKSc3
只要将网站上传至以上FTP即可访问!
数据库账号资料
数据库名:aliyunbaike_com
用户:aliyunbaike_com
密码:e8QZfQDPDT
大家将新建站点的FTP账户密码、数据库账户密码都保存好。
六、域名解析
将域名解析到你的服务器IP,解析出成功后,会显示“恭喜,站点创建成功!”
七、网站安装
将你的网站程序上传到域名所对应的根目录,如果是新站,输入第五步的数据库账户和密码。