本博文是在阿里云服务器上面安装Redis,在配置一些文件,最后连接可视化工具。
本博主安装与配置所有用的工具:
1.Redis安装包:redis-6.2.1
2.Linux操作工具:Xshell5,Xftp5 - - -Xmanager Enterprise 5
3.可视化工具:RedisClient
4.阿里云服务器
博文目录
1.redis的官方下载安装包
2.redis在云服务器上的安装与配置
3.连接可视化工具
一、Redis的官方下载安装包
安装包下载地址:http://redis.io/download


二、Redis在云服务器上的安装与配置
打开Xftp并连接好服务器(博主使用的是阿里云服务器),创建一个redis文件夹并且将所下载的压缩把复制粘贴至redis文件夹

打开Xshell连接服务器输入命令–>cd redis>ls

先解压命令–>tar -zxvf redis-6.2.1.tar.gz
打开—>cd redis-6.2.1>ls
再编译(注:一定要编译不然不会有redis配置文件)—>make
--------->如果 编译时出现gcc错误,如果没有出现gcc错误即跳过

gcc解决方法:
1)安装gcc依赖—>yum install gcc——安装过程有点长如不知道选择,全选Y。
2) 再次编译安装:(注意大写)—>make MALLOC=libc
编译完后,可以看到解压文件redis中会对应的src、conf等文件夹。
进入/redis/redis-6.2.1/src文件夹,找到Redis服务命令:redis-server
启动redis服务—>./redis-server
退出:Ctrl+c
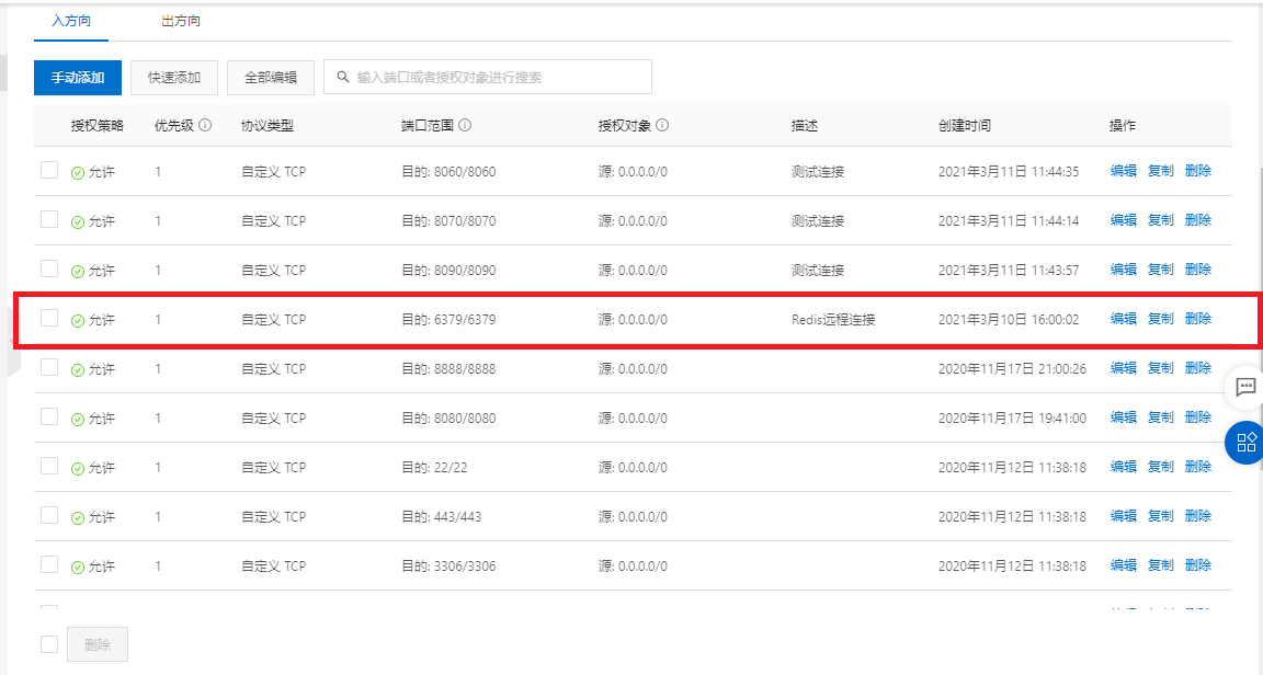
如果是在阿里云服务器所以必须在阿里云上面开放端口redis端口:6379
添加路径:控制台(阿里云)>云服务器>网络与安全>安全组>配置规则----->添加6379端口

添加后重启阿里云服务器实例
回到Xshell,向服务器防火墙开放6379端口号
有关命令:
1)查看端口:netstat -tlunp
2)开放6379端口:firewall-cmd --permanent --zone=public --add-port=6379/tcp
提示:success成功
有关防火墙的命令:
1)开启防火墙:systemctl start firewalld
2)关闭防火墙:systemctl stop firewalld
3)查看防火墙状态:firewall-cmd --state
最后修改配置文件redis.conf
注意是在redis.conf文件是在/redis-6.2.1下,而不是/redis-6.2.1/src下
修改方式
第一种方式是命令修改方式
打开文件:vim redis.conf
编写:insert 状态下才能编写文件
1)注释bind 127.0.0.1:#bind 127.0.0.1----------->注释后允许任意网址访问
2)protected-mode yes 修改为:protected-mode no ------------->关闭保护设置
3)daemonize no 修改为:daemonize yes--------------->启用守护进程
按esc退出,:wq! 保存
第二种方式打开Xftp找到redis.conf文件右击记事本打开修改
路径:/redis/redis-6.2.1
修改:
1)注释bind 127.0.0.1:#bind 127.0.0.1----------->注释后允许任意网址访问
2)protected-mode yes 修改为:protected-mode no ------------->关闭保护设置
3)daemonize no 修改为:daemonize yes--------------->启用守护进程
注意保存
重新加载配置文件,注意路径:/redis/redis-6.2.1/src—>./redis-server …/redis.conf
其他命令:
1)查看redis进程:ps -aux | grep redis
第一条表示redis服务运行进程
2)杀死进程:kill -9 731996
3)在Linux中启用客户端 :./redis-cli
4)测试是否连接成功 :ping 退出客户端:exit
5)启动redis服务注意路径是在src下:./redis-server
三、连接可视化工具
下载并安装好工具:RedisClient
打开
新建:Server—>add


连接注意事项:
1.redis服务必须启动在进行的时候启动路径:/redis/redis-6.2.1/src
启动命令:./redis-server 或 ./redis-server …/redis.conf
2.Host输入的是服务器ip地址,博主这是阿里云服务器的公网ip
3.密码默认都是没有密码如果想设置密码打开redis.conf文件找到 #Requirepass。将注释取消,如:Requirepass ****** (*代表密码,中间是空格)