项目运行
环境配置:
Jdk1.8 + Tomcat7.0 + Mysql + HBuilderX(Webstorm也行)+ Eclispe(IntelliJ IDEA,Eclispe,MyEclispe,Sts都支持)。
项目技术:
SSM + mybatis + Maven + Vue 等等组成,B/S模式 + Maven管理等等。
环境需要
1.运行环境:最好是java jdk 1.8,我们在这个平台上运行的。其他版本理论上也可以。
2.IDE环境:IDEA,Eclipse,Myeclipse都可以。推荐IDEA;
3.tomcat环境:Tomcat 7.x,8.x,9.x版本均可
4.硬件环境:windows 7/8/10 1G内存以上;或者 Mac OS;
5.是否Maven项目: 否;查看源码目录中是否包含pom.xml;若包含,则为maven项目,否则为非maven项目
6.数据库:MySql 5.7/8.0等版本均可;
毕设帮助,指导,本源码分享,调试部署(见文末)
3.1可行性分析
在开发系统之前要进行系统可行性分析,目的是在用最简单的方法去解决最大的问题,程序一旦开发出来满足了用户的需要,所带来的利益也很多。下面我们将从技术、操作、经济等方面来选择这个系统最终是否开发。
3.1.1技术可行性
本系统开发选择SSM框架,JSP为开发者提供了丰富的类库,大大减少了使用windows编程的难度,减少开发人员在设计算法上的难度,作为JSP开发 Visual Studio更是一个必不可少的角色,它友好的界面,以及强大的功能,给程序开发人员带来了很多方便,加上环境简单,转移方便,无疑使此系统最佳的选择。所以后台设计选择使用MySQL数据库主要用来的建立和维护信息。对于后台数据库的要求则是能够建立和维护数据信息的统一性和完整性。
依据上述目标来分析本系统的硬件如下:
奔腾3的处理器;
内存是 2G;
硬盘是50G;
操作系统是Window10;
在软件方面的话,安装了Visul Studio 0 和MySQL数据库开发工具。根据以上的软件与硬件要求,得到这个系统的技术是可行的。
3.1.2经济可行性
基于JSP的出版社样书申请管理系统,该系统软件开发仅需要一台普通的计算机便可完成实现开发,其成本很低。另外,作为毕业设计作品来讲,开发成本基本上可以忽略不计,且该系统软件的投入使用,可以实现更加快速高效的出版社样书申请管理系统,同时还能实现对人力资源和管理资源的有效节约,该出版社样书申请管理系统在经济上完全可行。
3.1.3操作可行性
现在随着科技的飞速发展,计算机早已经进入了人们的日常生活中,人们的工作环境也不像以前有那么多的要求,不需要工作人员一定要到公司办公,有的工作在家也可以完成。这使得人们的工作效益有了很大的提高。操作的多样性也变高了。因此,管理的计算机化,智能化是社会发展而带来的必然趋势,各种智能的软件层出不穷,不同的软件能完成用户不同的需求,这不仅提高了工作效率还能完成一些客户特定的一些需求。本系统不仅界面简洁明了还采用可视化界面,用户只要用鼠标和键盘就可以完成对相关信息的修改,删除,添加等操作。因为这个系统的操作十分简单,方便上手,对于第一次使用系统的人,只需要很少的时间就可以上手操作。由此可见,本系统在操作上是可行的。
3.2网站性能需求分析
对网站性能进行分析,可对系统反应度、界面简洁清晰度、储存能性、易学性和稳定性进行分析;
系统反应度:同时上万人在线时反应时间应该在两三秒以内,。
界面简洁清晰:系统界面要求简单明了,操作简单,用户操作容易上手。
储存性能高:出版社样书申请管理系统中需要存储的信息有很多,所以对系统的存储量要求很高,因此数据库就应该很强大,才能保证信息能安全稳定的进行存储;
易学性:该系统在操作上必须简单好上手,没有很多复杂的操作,只需要简单的进行学习就能操作该系统。
稳定性:要求出版社样书申请管理系统运行要稳定,界面清楚、字体清晰等。
3.3网站功能分析
考虑到实际生活中在出版社样书申请管理系统方面的需要以及对该系统认真的分析,将系统权限按管理员和普通管理员、教师这三类涉及用户划分。
(a) 管理员;管理员使用本系统涉到的功能主要有首页、个人中心、普通管理员管理、出版社名称管理、教师管理、书籍信息管理、样书申请管理、教材申请管理等功能。管理员用例图如图3-1所示。

图3-1 管理员用例图
(b)普通管理员进入系统可以查看首页、个人中心、书籍信息管理、样书申请管理、教材申请管理等功能。普通管理员用例图如图3-2所示。

图3-2普通管理员用例图
(C)教师进入系统可以查看首页、个人中心、书籍信息管理、样书申请管理、教材申请管理等功能。教师用例图如图3-3所示。

图3-3教师用例图
3.4系统流程的分析
由于不同的系统实际使用用户角色的不同,他们的业务分析也会变得有所不一样,为了论述方便接下来都将以管理员、普通管理员、教师功能权限下的系统业务流程来分析,如下图所展示:
3.4.1 用户管理的流程

图3-4 用户管理流程
3.4.2 个人中心管理流程

图3-5 个人中心管理流程
3.4.3 登录流程

图3-6 登录流程
4系统设计
4.1 软件功能模块设计
网站整功能如下图所示:

图 4-1出版社样书申请管理系统总体功能模块图
4.2 数据库设计
4.2.1 概念模型设计
概念模型是对现实中的问题出现的事物的进行描述,ER图是由实体及其关系构成的图,通过E-R图可以清楚地描述系统涉及到的实体之间的相互关系。
书籍信息实体图如图4-2所示:

图4-2书籍信息实体图
教师信息实体图如图4-3所示:

图4-3教师信息实体图
样书申请信息实体图如图4-4所示:

图4-4样书申请信息实体图
5.1管理员功能模块
管理员进行登录,进入系统前在登录页面根据要求填写用户名和密码,选择角色等信息,点击登录进行登录操作,如图5-1所示。

图5-1管理员登录界面图
管理员登录系统后,可以对首页、个人中心、普通管理员管理、出版社名称管理、教师管理、书籍信息管理、样书申请管理、教材申请管理等进行相应的操作管理,如图5-2所示。

图5-2管理员功能界面图
个人中心,在个人中心页面可以修改密码和修改个人信息,管理员个人中心管理如图5-3所示。

图5-3个人中心界面图
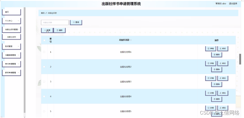
出版社名称管理,在出版社名称管理页面可以对出版社名称等内容进行详情、修改、删除等操作,如图5-4所示。

图5-4出版社名称管理界面图
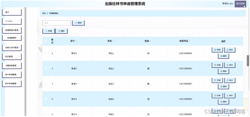
普通管理员管理,在普通管理员管理页面可以对账号、姓名、性别、联系电话等内容进行详情、修改、删除等操作,如图5-5所示。

图5-5普通管理员管理界面图
教师管理,在教师管理页面可以对手机号、姓名、学校、院系、年级、邮箱、地址、照片、审核回复、审核状态、审核等内容进行详情、修改、删除等操作,如图5-6所示。

图5-6教师管理界面图
书籍信息管理,在书籍信息管理页面可以对书籍编号、书籍名称、书籍作者、数量、出版社名称、存放地址等内容进行详情、修改、删除等操作,如图5-7所示。

图5-7书籍信息管理界面图
样书申请管理,在样书申请管理页面可以对书籍编号、书籍名称、书籍作者、数量、出版社名称、姓名、手机号、学校、院系、年级、地址、申请时间、审核回复、审核状态、审核等内容进行详情、删除等操作,如图5-8所示。

图5-8样书申请管理界面图
教材申请管理,在教材申请管理页面可以对书籍编号、书籍名称、书籍作者、数量、出版社名称、姓名、手机号、学校、院系、年级、地址、申请时间、审核回复、审核状态、审核等内容进行详情、删除等操作,如图5-9所示。

图5-9教材申请管理界面图
5.2普通管理员功能模块
普通管理员,在登录页面填写用户名、密码进行登录,如果出现错误信息会有相应提示,信息无误进入系统页面。如图5-10所示。

图5-10普通管理员登录界面图