因果图法:因果图法比较适合输条件比较多的情况,测试所有的输入条件的排列组合。所谓的原因就是输入,所谓的结果就是输出。
用事件触发来控制流程的,事件触发时的情景便形成了场景,而同一事件不同的触发顺序和处理结果就形成事件流。这种在软件设计方面的思想也可以引入到软件测试中,可以比较生动地描绘出事件触发时的情景,有利于测试设计者设计测试用例,同时使测试用例更容易理解和执行。用事件触发来控制流程的,事件触发时的情景便形成了场景,而同一事件不同的触发顺序和处理结果就形成事件流。这种在软件设计方面的思想也可以引入到软件测试中,可以比较生动地描绘出事件触发时的情景,有利于测试设计者设计测试用例,同时使测试用例更容易理解和执行。
测试计划 测试背景 测试目标 测试范围 测试输出文档 测试策略测试规模工作量分析 测试进程测试 进度及时间安排 测试资源 人力,设备 风险管理

加入购物车:

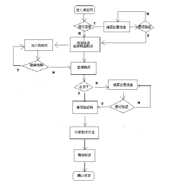
备用流与基本流:

测试用例与思维导图


思维导图:

版权声明:本文为bug_pass原创文章,遵循CC 4.0 BY-SA版权协议,转载请附上原文出处链接和本声明。