1.F28335系统时钟来源

图中用绿色文字标识出从外部晶振如何设置自己想要的CPU时钟频率 ,通常我们选用的外部晶振为30MHz,硬件连接如图中所示,通过PLL使能后先进行倍频,倍频的倍数值是由寄存器规定,不可用寄存器规定值之外的数组进行倍频,分频数值同理。这里的30MHz最多可以让CPU的时钟达到150MHz,具体过程为30MHz*10(倍频数)/2(分频数)=150MHz。
(1)外部时钟源信号接入方法有2种,分别针对的是电压为3.3V的外部时钟和1.9V的外部时钟。 (A)外部时钟信号接入方式1,即采用3.3V的外部时钟。

这里的VDDIO数值在0-3.3V之间。
(B)外部时钟信号接入方式2,即采用1.9V的外部时钟。

这里的VDD数值在0-1.9V之间。
(2)内部时钟源信号接法(推荐)

通常晶振选中30MHz
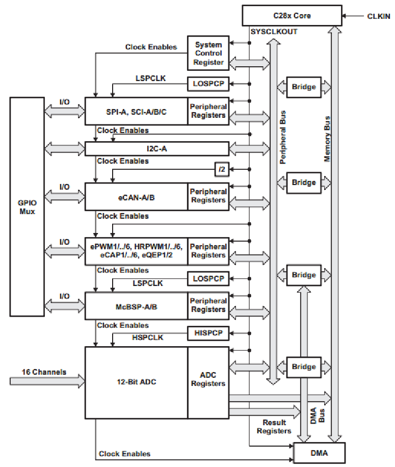
2.F28335系统控制及外设时钟

3.时钟单元常用寄存器

3.1 外设时钟控制寄存器PCLCCR0/1/3
(1)外设时钟控制寄存器PCLKCR0各位定义

(2)外设时钟控制寄存器PCLKCR1各位定义

(3)外设时钟控制寄存器PCLKCR3各位定义

4.自定义系统时钟
/*-----------------------------------------------------------------------------
Specify the PLL control register (PLLCR) and divide select (DIVSEL) value.
-----------------------------------------------------------------------------*/
//#define DSP28_DIVSEL 0 // Enable /4 for SYSCLKOUT
//#define DSP28_DIVSEL 1 // Disable /4 for SYSCKOUT
#define DSP28_DIVSEL 2 // Enable /2 for SYSCLKOUT
//#define DSP28_DIVSEL 3 // Enable /1 for SYSCLKOUT
#define DSP28_PLLCR 10
//#define DSP28_PLLCR 9
//#define DSP28_PLLCR 8
//#define DSP28_PLLCR 7
//#define DSP28_PLLCR 6
//#define DSP28_PLLCR 5
//#define DSP28_PLLCR 4
//#define DSP28_PLLCR 3
//#define DSP28_PLLCR 2
//#define DSP28_PLLCR 1
//#define DSP28_PLLCR 0 // PLL is bypassed in this mode//---------------------------------------------------------------------------
// InitSysCtrl:
//---------------------------------------------------------------------------
// 这段函数的功能就是将系统控制寄存器初始化到想要的状态;
//具体步骤可以分成四部分:
// - 禁止看门狗电路
// - 给PLLCR寄存器赋值以获得想要的系统时钟频率
// - 给高、低速外设时钟预定标寄存器赋值以获得想要的高、低速外设时钟频率
// - 对需要使用的外设时钟进行使能
void InitSysCtrl(void)
{
// Disable the watchdog
DisableDog();
// Initialize the PLL control: PLLCR and DIVSEL
// DSP28_PLLCR and DSP28_DIVSEL are defined in DSP2833x_Examples.h
InitPll(DSP28_PLLCR,DSP28_DIVSEL);
// Initialize the peripheral clocks
InitPeripheralClocks();
}//---------------------------------------------------------------------------
// PLL相关寄存器初始化函数
//---------------------------------------------------------------------------
// 此函数初始化PLLSTS[CLKINDIV]和PLLCR控制寄存器
void InitPll(Uint16 val, Uint16 divsel)//val 倍频系数 divsel 分频系数
{
// Make sure the PLL is not running in limp mode
if (SysCtrlRegs.PLLSTS.bit.MCLKSTS != 0)
{
// Missing external clock has been detected
// Replace this line with a call to an appropriate
// SystemShutdown(); function.
asm(" ESTOP0");
}
// DIVSEL MUST be 0 before PLLCR can be changed from
// 0x0000. It is set to 0 by an external reset XRSn
// This puts us in 1/4
if (SysCtrlRegs.PLLSTS.bit.DIVSEL != 0)
{
EALLOW;
SysCtrlRegs.PLLSTS.bit.DIVSEL = 0;
EDIS;
}
// Change the PLLCR
if (SysCtrlRegs.PLLCR.bit.DIV != val)
{
EALLOW;
// Before setting PLLCR turn off missing clock detect logic
SysCtrlRegs.PLLSTS.bit.MCLKOFF = 1;
SysCtrlRegs.PLLCR.bit.DIV = val;
EDIS;
// Optional: Wait for PLL to lock.
// During this time the CPU will switch to OSCCLK/2 until
// the PLL is stable. Once the PLL is stable the CPU will
// switch to the new PLL value.
//
// This time-to-lock is monitored by a PLL lock counter.
//
// Code is not required to sit and wait for the PLL to lock.
// However, if the code does anything that is timing critical,
// and requires the correct clock be locked, then it is best to
// wait until this switching has completed.
// Wait for the PLL lock bit to be set.
// The watchdog should be disabled before this loop, or fed within
// the loop via ServiceDog().
// Uncomment to disable the watchdog
DisableDog();
while(SysCtrlRegs.PLLSTS.bit.PLLLOCKS != 1)
{
// Uncomment to service the watchdog
// ServiceDog();
}
EALLOW;
SysCtrlRegs.PLLSTS.bit.MCLKOFF = 0;
EDIS;
}
// If switching to 1/2
if((divsel == 1)||(divsel == 2))
{
EALLOW;
SysCtrlRegs.PLLSTS.bit.DIVSEL = divsel;
EDIS;
}
// If switching to 1/1
// * First go to 1/2 and let the power settle
// The time required will depend on the system, this is only an example
// * Then switch to 1/1
if(divsel == 3)
{
EALLOW;
SysCtrlRegs.PLLSTS.bit.DIVSEL = 2;
DELAY_US(50L);
SysCtrlRegs.PLLSTS.bit.DIVSEL = 3;
EDIS;
}
}
//--------------------------------------------------------------------------
// 函数名:初始化外设时钟
//---------------------------------------------------------------------------
//这个是用来初始化外设模块的时钟,具体分2个步骤:
//首先设置高、低速外设预定标寄存器;
//第二是对各个外设时钟进行有选择的使能;
//为了降低功耗,尽量不使能不用的外设模块时钟;
//
//注:如果某一外设时钟没使能,则不能对其相关的寄存器进行读写;
void InitPeripheralClocks(void)
{
EALLOW;
// HISPCP/LOSPCP prescale register settings, normally it will be set to default values
SysCtrlRegs.HISPCP.all = 0x0001;
SysCtrlRegs.LOSPCP.all = 0x0002;//Lowspeedclock=SYSCLKOUT/4=150/4=37.5MHZ;
// XCLKOUT to SYSCLKOUT ratio. By default XCLKOUT = 1/4 SYSCLKOUT
// XTIMCLK = SYSCLKOUT/2
XintfRegs.XINTCNF2.bit.XTIMCLK = 1;
// XCLKOUT = XTIMCLK/2
XintfRegs.XINTCNF2.bit.CLKMODE = 1;
// Enable XCLKOUT
XintfRegs.XINTCNF2.bit.CLKOFF = 0;
// Peripheral clock enables set for the selected peripherals.
// If you are not using a peripheral leave the clock off
// to save on power.
//
// Note: not all peripherals are available on all 2833x derivates.
// Refer to the datasheet for your particular device.
//
// This function is not written to be an example of efficient code.
SysCtrlRegs.PCLKCR0.bit.ADCENCLK = 1; // ADC
// *IMPORTANT*
// The ADC_cal function, which copies the ADC calibration values from TI reserved
// OTP into the ADCREFSEL and ADCOFFTRIM registers, occurs automatically in the
// Boot ROM. If the boot ROM code is bypassed during the debug process, the
// following function MUST be called for the ADC to function according
// to specification. The clocks to the ADC MUST be enabled before calling this
// function.
// See the device data manual and/or the ADC Reference
// Manual for more information.
ADC_cal();
SysCtrlRegs.PCLKCR0.bit.I2CAENCLK = 1; // I2C
SysCtrlRegs.PCLKCR0.bit.SCIAENCLK = 1; // SCI-A
SysCtrlRegs.PCLKCR0.bit.SCIBENCLK = 1; // SCI-B
SysCtrlRegs.PCLKCR0.bit.SCICENCLK = 1; // SCI-C
SysCtrlRegs.PCLKCR0.bit.SPIAENCLK = 1; // SPI-A
SysCtrlRegs.PCLKCR0.bit.MCBSPAENCLK = 1; // McBSP-A
SysCtrlRegs.PCLKCR0.bit.MCBSPBENCLK = 1; // McBSP-B
SysCtrlRegs.PCLKCR0.bit.ECANAENCLK=1; // eCAN-A
SysCtrlRegs.PCLKCR0.bit.ECANBENCLK=1; // eCAN-B
SysCtrlRegs.PCLKCR0.bit.TBCLKSYNC = 0; // Disable TBCLK within the ePWM
SysCtrlRegs.PCLKCR1.bit.EPWM1ENCLK = 1; // ePWM1
SysCtrlRegs.PCLKCR1.bit.EPWM2ENCLK = 1; // ePWM2
SysCtrlRegs.PCLKCR1.bit.EPWM3ENCLK = 1; // ePWM3
SysCtrlRegs.PCLKCR1.bit.EPWM4ENCLK = 1; // ePWM4
SysCtrlRegs.PCLKCR1.bit.EPWM5ENCLK = 1; // ePWM5
SysCtrlRegs.PCLKCR1.bit.EPWM6ENCLK = 1; // ePWM6
SysCtrlRegs.PCLKCR0.bit.TBCLKSYNC = 1; // Enable TBCLK within the ePWM
SysCtrlRegs.PCLKCR1.bit.ECAP3ENCLK = 1; // eCAP3
SysCtrlRegs.PCLKCR1.bit.ECAP4ENCLK = 1; // eCAP4
SysCtrlRegs.PCLKCR1.bit.ECAP5ENCLK = 1; // eCAP5
SysCtrlRegs.PCLKCR1.bit.ECAP6ENCLK = 1; // eCAP6
SysCtrlRegs.PCLKCR1.bit.ECAP1ENCLK = 1; // eCAP1
SysCtrlRegs.PCLKCR1.bit.ECAP2ENCLK = 1; // eCAP2
SysCtrlRegs.PCLKCR1.bit.EQEP1ENCLK = 1; // eQEP1
SysCtrlRegs.PCLKCR1.bit.EQEP2ENCLK = 1; // eQEP2
SysCtrlRegs.PCLKCR3.bit.CPUTIMER0ENCLK = 1; // CPU Timer 0
SysCtrlRegs.PCLKCR3.bit.CPUTIMER1ENCLK = 1; // CPU Timer 1
SysCtrlRegs.PCLKCR3.bit.CPUTIMER2ENCLK = 1; // CPU Timer 2
SysCtrlRegs.PCLKCR3.bit.DMAENCLK = 1; // DMA Clock
SysCtrlRegs.PCLKCR3.bit.XINTFENCLK = 1; // XTIMCLK
SysCtrlRegs.PCLKCR3.bit.GPIOINENCLK = 1; // GPIO input clock
EDIS;
}
版权声明:本文为u012616827原创文章,遵循CC 4.0 BY-SA版权协议,转载请附上原文出处链接和本声明。