异常的简单介绍
异常时程序中的一些错误,异常发生的原因有很多,通常包含以下几大类:
- 用户输入了非法数据。
- 要打开的文件不存在。
- 网络通信时连接中断,或者JVM内存溢出。
这些异常有的是因为用户错误引起,有的是程序错误引起的,还有其它一些是因为物理错误引起的。-
要理解Java异常处理是如何工作的,你需要掌握以下三种类型的异常:
- 检查性异常:最具代表的检查性异常是用户错误或问题引起的异常,这是程序员无法预见的。例如要打开一个不存在文件时,一个异常就发生了,这些异常在编译时不能被简单地忽略。
- 运行时异常: 运行时异常是可能被程序员避免的异常。与检查性异常相反,运行时异常可以在编译时被忽略。
- 错误: 错误不是异常,而是脱离程序员控制的问题。错误在代码中通常被忽略。例如,当栈溢出时,一个错误就发生了,它们在编译也检查不到的。
注意:
- 运行时异常都是RuntimeException类及其子类异常,如NullPointerException、IndexOutOfBoundsException等,这些异常是不检查异常,程序中可以选择捕获处理,也可以不处理。这些异常一般是由程序逻辑错误引起的,程序应该从逻辑角度尽可能避免这类异常的发生。当出现RuntimeException的时候,我们可以不处理。当出现这样的异常时,总是由虚拟机接管。比如:我们从来没有人去处理过NullPointerException异常,它就是运行时异常,并且这种异常还是最常见的异常之一。
出现运行时异常后,如果没有捕获处理这个异常(即没有catch),系统会把异常一直往上层抛,一直到最上层,如果是多线程就由Thread.run()抛出,如果是单线程就被main()抛出。抛出之后,如果是线程,这个线程也就退出了。如果是主程序抛出的异常,那么这整个程序也就退出了。运行时异常是Exception的子类,也有一般异常的特点,是可以被catch块处理的。只不过往往我们不对他处理罢了。也就是说,你如果不对运行时异常进行处理,那么出现运行时异常之后,要么是线程中止,要么是主程序终止。
如果不想终止,则必须捕获所有的运行时异常,决不让这个处理线程退出。队列里面出现异常数据了,正常的处理应该是把异常数据舍弃,然后记录日志。不应该由于异常数据而影响下面对正常数据的处理。 - 非运行时异常是RuntimeException以外的异常,类型上都属于Exception类及其子类。如IOException、SQLException等以及用户自定义的Exception异常。对于这种异常,JAVA编译器强制要求我们必需对出现的这些异常进行catch并处理,否则程序就不能编译通过。所以,面对这种异常不管我们是否愿意,只能自己去写一大堆catch块去处理可能的异常。
Exception 类的层次
所有的异常类是从 java.lang.Exception 类继承的子类。
Exception 类是 Throwable 类的子类。除了Exception类外,Throwable还有一个子类Error 。
Java 程序通常不捕获错误。错误一般发生在严重故障时,它们在Java程序处理的范畴之外。
Error 用来指示运行时环境发生的错误。
例如,JVM 内存溢出。一般地,程序不会从错误中恢复。
异常类有两个主要的子类:IOException 类和 RuntimeException 类。
Java 内置异常类
ava 语言定义了一些异常类在 java.lang 标准包中。
标准运行时异常类的子类是最常见的异常类。由于 java.lang 包是默认加载到所有的 Java 程序的,所以大部分从运行时异常类继承而来的异常都可以直接使用。
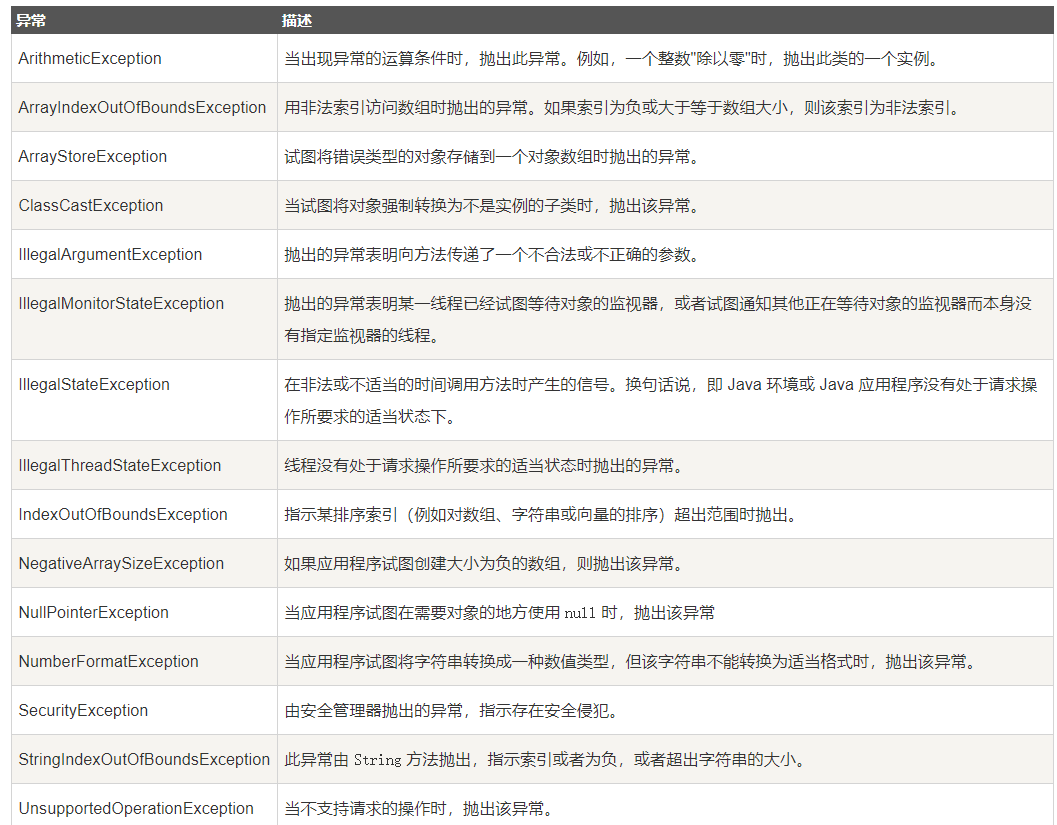
Java 根据各个类库也定义了一些其他的异常,下面的表中列出了 Java 的非检查性异常。
下面的表中列出了 Java 定义在 java.lang 包中的检查性异常类。
异常方法
下面的列表是 Throwable 类的主要方法:
捕获异常
使用 try 和 catch 关键字可以捕获异常。try/catch 代码块放在异常可能发生的地方。
try/catch代码块中的代码称为保护代码,使用 try/catch 的语法如下:
try
{
// 程序代码
}catch(ExceptionName e1)
{
//Catch 块
}
Catch 语句包含要捕获异常类型的声明。当保护代码块中发生一个异常时,try 后面的 catch 块就会被检查。
如果发生的异常包含在 catch 块中,异常会被传递到该 catch 块,这和传递一个参数到方法是一样。
也就是说,在try中的代码运行时如果发生了异常,那么catch则捕获这个异常,然后运行catch中的代码。这里要说明,catch括号内的参数应当为你判断可能会出现的异常。
一个 try 代码块后面跟随多个 catch 代码块的情况就叫多重捕获。
多重捕获块的语法如下所示:
try{
// 程序代码
}catch(异常类型1 异常的变量名1){
// 程序代码
}catch(异常类型2 异常的变量名2){
// 程序代码
}catch(异常类型2 异常的变量名2){
// 程序代码
}
上面的代码段包含了 3 个 catch块。
可以在 try 语句后面添加任意数量的 catch 块。
如果保护代码中发生异常,异常被抛给第一个 catch 块。
如果抛出异常的数据类型与 ExceptionType1 匹配,它在这里就会被捕获。
如果不匹配,它会被传递给第二个 catch 块。
如此,直到异常被捕获或者通过所有的 catch 块。
throw和throws关键字
- throw是语句抛出一个异常,一般是在代码块的内部,当程序出现某种逻辑错误时由程序员主动抛出某种特定类型的异常
- 当某个方法可能会抛出某种异常时用于throws 声明可能抛出的异常,然后交给上层调用它的方法程序处理
接下来我们通过一个实例来了解一下,以下实例是一个银行账户的模拟,通过银行卡的号码完成识别,可以进行存钱和取钱的操作:
首先我们自定义一个异常类(关于如何自定义一个异常类我们等会再介绍)
//InsufficientFundsException.java 文件代码:
// 文件名InsufficientFundsException.java
import java.io.*;
//自定义异常类,继承Exception类
public class InsufficientFundsException extends Exception
{
//此处的amount用来储存当出现异常(取出钱多于余额时)所缺乏的钱
private double amount;
public InsufficientFundsException(double amount)
{
this.amount = amount;
}
public double getAmount()
{
return amount;
}
}
为了展示如何使用我们自定义的异常类,
在下面的 CheckingAccount 类中包含一个 withdraw() 方法抛出一个 InsufficientFundsException 异常。
//CheckingAccount.java 文件代码:
// 文件名称 CheckingAccount.java
import java.io.*;
//此类模拟银行账户
public class CheckingAccount
{
//balance为余额,number为卡号
private double balance;
private int number;
public CheckingAccount(int number)
{
this.number = number;
}
//方法:存钱
public void deposit(double amount)
{
balance += amount;
}
//方法:取钱
public void withdraw(double amount) throws
InsufficientFundsException
{
if(amount <= balance)
{
balance -= amount;
}
else
{
double needs = amount - balance;
throw new InsufficientFundsException(needs);
//在这里通过throw关键字我们主动抛出之前自定义的异常,也就是说如果取的钱要大于余额的话我们就抛出一个异常,相当于当前情况下自动产生异常
}
}
//方法:返回余额
public double getBalance()
{
return balance;
}
//方法:返回卡号
public int getNumber()
{
return number;
}
}
下面的 BankDemo 程序示范了如何调用 CheckingAccount 类的 deposit() 和 withdraw() 方法。
BankDemo.java 文件代码:
//文件名称 BankDemo.java
public class BankDemo
{
public static void main(String [] args)
{
CheckingAccount c = new CheckingAccount(101);
System.out.println("Depositing $500...");
c.deposit(500.00);
try
{
System.out.println("\nWithdrawing $100...");
c.withdraw(100.00);
System.out.println("\nWithdrawing $600...");
c.withdraw(600.00);//这里在执行withdraw方法的时候会抛出异常
}catch(InsufficientFundsException e)
{
System.out.println("Sorry, but you are short $"
+ e.getAmount());
e.printStackTrace();
}
}
}
编译上面三个文件,并运行程序 BankDemo,得到结果如下所示:
Depositing $500...
Withdrawing $100...
Withdrawing $600...
Sorry, but you are short $200.0
InsufficientFundsException
at CheckingAccount.withdraw(CheckingAccount.java:25)
at BankDemo.main(BankDemo.java:13)
在这里需要特别强调一下,throw是消极处理异常的方式(这里的消极并不是说这种方式不好),只是抛出异常,但是不会由函数去处理异常,真正的处理异常由函数的上层调用处理。
我们可以看到,当withdraw抛出异常后,我们自定义的异常类并没有处理异常的方法,而withdraw方法和它所在的CheckingAccount类也不能处理异常,然后再往上看一层,就到了我们的主类,是在main方法中通过catch捕获了这个异常并且进行了异常处理。
throw和throws的区别:
- throws出现在方法函数头;而throw出现在函数体。
- throws表示出现异常的一种可能性,并不一定会发生这些异常;throw则是抛出了异常,执行throw则一定抛出了某种异常对象。
声明自定义异常
在 Java 中你可以自定义异常。编写自己的异常类时需要记住下面的几点:
- 所有异常都必须是 Throwable 的子类。
- 如果希望写一个检查性异常类,则需要继承 Exception 类。
- 如果你想写一个运行时异常类,那么需要继承 RuntimeException 类。
可以像下面这样定义自己的异常类:
class MyException extends Exception{
}
只继承Exception 类来创建的异常类是检查性异常类。
上面的 InsufficientFundsException 类是用户定义的异常类,它继承自 Exception。
一个异常类和其它任何类一样,包含有变量和方法。
最后附上一些好的习惯:
- 在写程序时,对可能会出现异常的部分通常要用try{…}catch{…}去捕捉它并对它进行处理;
- 用try{…}catch{…}捕捉了异常之后一定要对在catch{…}中对其进行处理,那怕是最简单的一句输出语句,或栈输入e.printStackTrace();
- 果是捕捉IO输入输出流中的异常,一定要在try{…}catch{…}后加finally{…}把输入输出流关闭;
- 如果在函数体内用throw抛出了某种异常,最好要在函数名中加throws抛异常声明,然后交给调用它的上层函数进行处理。