目的:
通过window系统的映射网络驱动器,将阿里云服务器的开发目录映射到window系统上,这样就可以在window系统上编写代码,然后通过Xshell终端上编译运行,极大提高码代码方便性!
方法:
阿里云的购买以及远程ssh连接在这里我就不赘述了,网上资料很多,遇到的问题搜索一下几分钟就能解决,这里主要讲如何通过samba映射网络驱动器。查阅网上资料,发现似乎在WannaCrypt蠕虫勒索病毒后运营商将445端口封禁了,这真是一个天坑。。。
笔者的系统环境:
阿里云:Ubuntu 16.04 64位
本地: Win10 64位1、安装samba
apt-get install samba2.、备份一份samba配置文件
cp /etc/samba/smb.conf /etc/samba/smb.conf.bak3、利用vim进入配置文件修改
vim /etc/samba/smb.conf(利用vim命令进入文件后具体的文件修改/保存命令请自行搜索)
在末尾添加:
[share]
comment = Share
path = /home/sam/share
available = yes
browseable = yes
public = no
writable = yes其中path参数是你要共享的目录,public为no则不允许匿名访问,writable参数是可读写,browseable是该共享目录可浏览,comment是描述,可随便写。
为了使用其他端口(我这里使用4455端口)连接云服务器,在[global]处添加
[global]
smb ports = 4455保存退出
4、创建用户
sudo useradd sam
sudo smbpasswd -a sam输入“sudo smbpasswd -a sam”命令后会提示配置密码,自行配置
5、创建共享目录,修改权限:
mkdir /home/sam
mkdir /home/sam/share
cd /home/sam
chmod 777 -R share6、重启samba服务
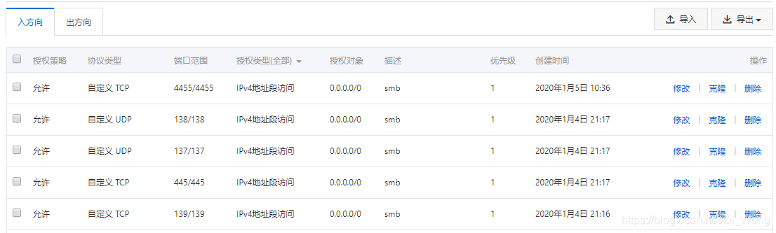
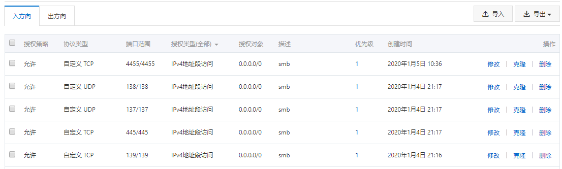
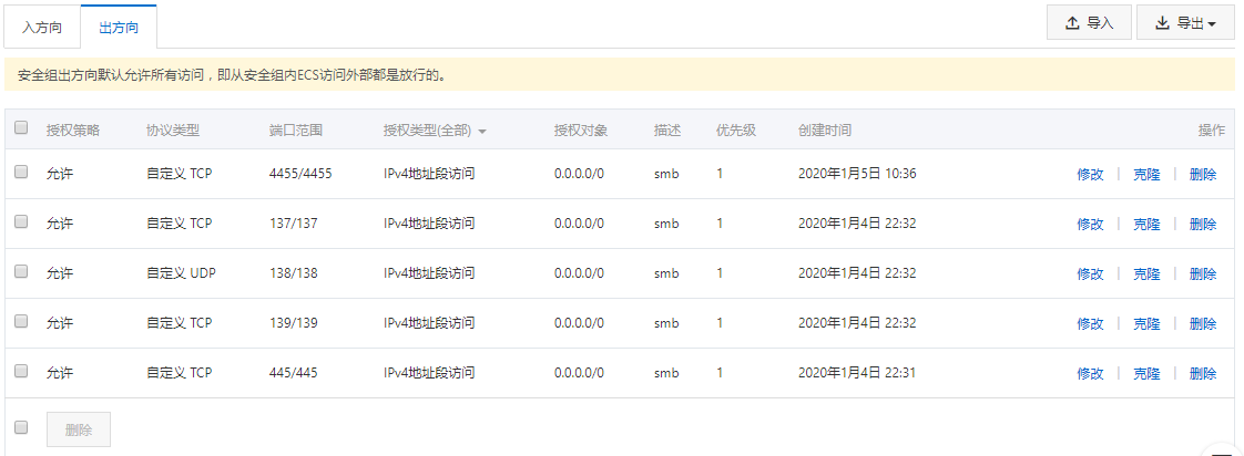
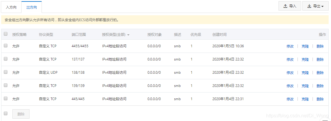
sudo service smbd restart7、在阿里云的安全组配置端口(出入网都需要配置):
备注(139和445是默认的端口,但是似乎被运营商屏蔽了,所以我在这里添加了修改后的端口号4455)


8、本地Windows端修改端口号
通过第三方工具,进行端口映射(来源https://github.com/Arno0x/DivertTCPconn)
可以直接在我的网盘下载
链接:https://pan.baidu.com/s/1O7UHotdXDYgHr_WzNqvkRg
提取码:uhfq
下载完成后,利用管理员权限运行cmd,cd至文件夹目录下,运行命令
divertTCPconn.exe 445 4455如图,则运行成功

9、映射网络驱动器
右键“此电脑” --> “映射网络驱动器” --> 输入“\\你的服务器ip\share” --> 点击完成

输入用户名、密码(刚才建的用户“sam”,密码是你自行配置的)

到这里就结束啦~~可以愉快的在本地编程了~
参考资料:
阿里云搭建 samba服务器:https://blog.csdn.net/zgj10086/article/details/82813015
腾讯云部署samba:https://blog.csdn.net/zhuxian2009/article/details/98213993