1、概述
服务化接口和参考点是5G架构所引入的两种不同的网络实体之间的模型化交互方式,通过对网络功能块和网络实体之间的接口和连接的灵活的定义,来实现5G网络对于多样的、特定的服务类型在各个协议层的灵活的处理方法和处理流程的实现。
- 服务化接口:Service-basedinterface,这个是类似微服务化架构的服务注册和服务发现来实现的功能体对外暴露的接口,这种接口只针对于单个功能体,相关功能体通过服务化接口向外与其他的功能体进行交互,而其他的功能体通过该功能体暴露的接口与此功能体进行交互,实际上这种机制提供了一种多对一访问的机制,并且由于采用服务注册和服务发现,相互之间无需相互知道对方地址即可访问。
- 参考点:reference point,参考点类似于传统接口,就是两个不同功能体之间相互约定的互访问接口。两个功能体之间的参考点一般可以通过一个或更多的服务化接口来代替,从而提供完全相同却更灵活扩展性更好的实现。
5G以前的网络架构模型都是参考点架构,参考点架构也可以看出是点到点架构。需要通信的两个网元之间由规范定义了二者唯一的参考点。参考点架构简单、易于交流,问题也很明显,就是不具有扩展性。网元之间的参考点都是固定的,如果想调整,就只能靠厂家私有方案了。
因为微服务灵活性、扩展性更好,通信网络中,也在不断践行微服务的理念。5G将网元功能拆分成多种服务,并通过API调用方式对外提供服务。每个NF对外提供的服务在7.2.2节介绍。
服务化接口和参考点有联系、相同点,也有区别。一个服务化接口只针对于某个网络功能块,网络功能块通过这个接口向外与其他的功能块进行交互,而其他的功能块通过与那个网络功能块相应的接口与此功能块进行交互;而参考点是特定两个功能块之间的交互界面,是标准的双方之间的协议映射关系。所以,两个功能块之间的参考点一般可以通过一个或更多的服务化接口来代替,从而提供完全相同的功能实现。如下图所示:

同一个功能块既可以用不同的参考点面向不同的功能块网元,也可以以相同的接口面向不同的功能网元,需要通过实际的网络应用和网络结构来确定。
2、5G服务化接口列表
5G的服务化接口,其命名规则就是在功能体的名字前面加N,包括如下:
- Namf: AMF提供的服务化接口
- Nsmf: SMF提供的服务化接口
- Nnef: NEF提供的服务化接口
- Npcf: PCF提供的服务化接口
- Nudm: UDM提供的服务化接口
- Naf: AF提供的服务化接口
- Nnrf: NRF提供的服务化接口
- Nnssf: NSSF提供的服务化接口
- Nausf: AUSF提供的服务化接口
- Nudr: UDR提供的服务化接口
- Nudsf: UDSF提供的服务化接口
- N5g-eir: 5G-EIR提供的服务化接口
- Nnwdaf: NWDAF提供的服务化接口
- Ni-nef: I-NEF提供的服务化接口
- Nchf: CHF提供的服务化接口
- Nucmf: UCMF提供的服务化接口
3、5G参考点列表
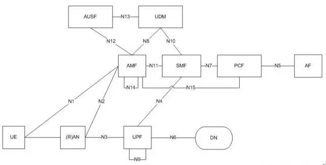
5G功能体之间的部分参考点如下:
- N1:UE和AMF之间的参考点
- N2: ®AN和AMF之间的参考点
- N3: ®AN和UPF之间的参考点
- N4:SMF和UPF之间的参考点
- N6:UPF和数据网之间的参考点
- N9:两UPF之间的参考点
- N5:PCF和AF之间的参考点
- N7:SMF和PCF之间的参考点
- N8:UDM和AMF之间的参考点
- N10:UDM和SMF之间的参考点
- N11:AMF和SMF之间的参考点
- N12:AMF和AUSF之间的参考点
- N13:UDM和AUSF之间的参考点
- N14:两AMF之间的参考点
- N15:非漫游场景下PCF和AMF之间的参考点,或者漫游场景下拜访地的PCF和AMF之间的参考点
- N16:两个SMF之间的参考点(漫游场景下拜访地SMF和归属地SMF之间)
- N17:AMF和5G-EIR之间的参考点
- N18:任意NF和UDSF之间的参考点
- N22:AMF和NSSF之间的参考点
- N24:拜访地PCF和归属地PCF之间的参考点
- N27:拜访地NRF和归属地NRF之间的参考点
4、系统架构图
非漫游情况下,基于服务化接口的5G系统架构图如下,SBI接口特指核心网元之间,UE/AN/UPF/DN依然采用参考点架构,不需要扩展。

图2 基于服务化接口的5G系统架构图
图3 基于参考点的5G系统架构图
5、参考
版权声明:本文为songfeihu0810232原创文章,遵循CC 4.0 BY-SA版权协议,转载请附上原文出处链接和本声明。