文章目录
Hystrix重要概念
为什么需要断路器功能
在微服务架构中,我们将业务拆分成一个个的服务,服务与服务之间可以相互调用。为了保证其高可用,单个服务又必须集群部署。由于网络原因或者自身的原因,服务并不能保证100%可用, 如果单个服务出现问题,调用这个服务就会出现网络延迟,此时若有大量的网络请求涌入,会形成任务累积,导致服务瘫痪,甚至导致服务“雪崩”。为了解决这个问题,就出现断路器模型。
Hystrix是一个用于处理分布式系统的延迟和容错的开源库,在分布式系统里,许多依赖不可避免的会调用失败,比如超时、异常等, Hystrix能够保证在一个依赖出问题的情况下,不会导致整体服务失败,避免级联故障,以提高分布式系统的弹性。
Hystrix的作用
断路器机制:当Hystrix Command请求后端服务失败数量超过一 定比例(默认50%),断路器会切换到开路状态(Open)。这时所有请求会直接失败而不会发送到后端服务。断路器保持在开路状态一段时间后(默认5秒),自动切换到半开路状态(HALF-OPEN)。这时会判断下一次请求的返回情况,如果请求成功,断路器切回闭路状态 (CLOSED),否则重新切换到开路状态(OPEN)。 Hystrix的断路器就像我们家庭电路中的保险丝,一旦后端服务不可用,断路器会直接切断请求链,避免发送大量无效请求影晌系统吞吐量,并且断路器有自我检测并恢复的能力。

Fallback: Fallback相当于是降级操作。对于查询操作,我们可以实现一个fallback方法,当请求后端服务出现异常的时候,可以使用fallback方法返回的值。fallback方法的返回值一般是设置的默认值或者来自缓存。
资源隔离:在Hystrix中,主要通过线程池来实现资源隔离。通常在使用的时候我们会根据调用的远程服务划分出多个线程池。例如调用产品服务的Command放入A线程池,调用账户服务的Command放入B线程池。这样做的主要优点是运行环境被隔离开了。这样就算调用服务的代码存在bug或者由于其他原因导致自己所在线程池被耗尽时,不会对系统的其他服务造成影响。但是带来的代价就是维护多个线程池会对系统带来额外的性能开销。
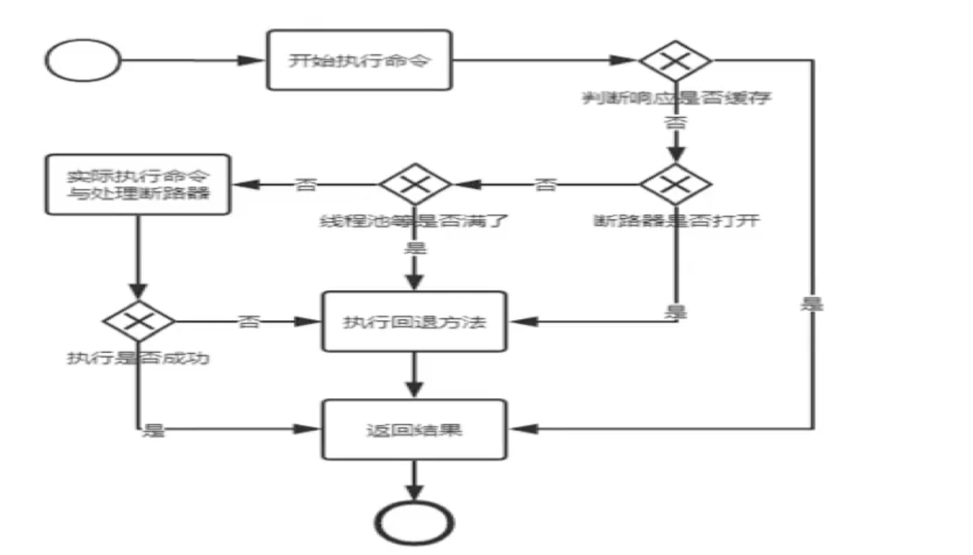
Hystrix命令执行流程

Hystrix使用教程
代码准备
添加hystrix依赖
<!--hystrix-->
<dependency>
<groupId>org.springframework.cloud</groupId>
<artifactId>spring-cloud-starter-netflix-hystrix</artifactId>
</dependency>
服务提供端添加俩个测试方法 模拟 成功 和失败 场景
Service层
public interface HystrixTsetService {
/**
* 请求成功
* @param id
* @return
*/
String requestSuccess(Integer id);
/**
* 模拟失败 超时、异常
* @param id
* @return
*/
String requestFail(Integer id);
}
@Service
@Slf4j
public class HystrixTsetServiceImpl implements HystrixTsetService {
/**
* 请求成功
* @param id
* @return
*/
@Override
public String requestSuccess(Integer id) {
return "线程池: " + Thread.currentThread().getName() + " requestSuccess,id:" + id;
}
/**
* 模拟失败 超时、异常
* @param id
* @return
*/
@Override
public String requestFail(Integer id) {
try {
// 睡眠6妙
TimeUnit.MILLISECONDS.sleep(6000);
} catch (Exception e) {
log.error(e.getMessage());
}
return "线程池:" + Thread.currentThread().getName() + " id:" + id + "耗时6s";
}
}
Controller 层
@Api(tags = "Hystrix测试")
@RestController
@Slf4j
@RequestMapping("/hystrix")
public class HystrixTestController {
@Autowired
private HystrixTsetService hystrixTsetService;
@Value("${server.port}")
private String serverPort;
/**
* requestSuccess
* @param id id
* @return String
*/
@GetMapping("/success/{id}")
public String requestSuccess(@PathVariable("id") Integer id) {
String result = hystrixTsetService.requestSuccess(id);
log.info("*****result: " + result);
return result;
}
/**
* 模拟失败
* @param id id
* @return String
*/
@GetMapping("/timeout/{id}")
public String requestFail(@PathVariable("id") Integer id) {
String result = hystrixTsetService.requestFail(id);
log.info("*****result: " + result);
return result;
}
}
以上述为根基平台,从正确 -> 错误 -> 降级熔断 -> 恢复 演示。
服务消费端调用服务提供者
通过 Feign 调用
@Component
@FeignClient(value = "cloud-provider-service"})
public interface RemoteUserService {
@RequestMapping("/user/search/v1") // 要调用的接口
RestResult<List<UserTest>> searchUser(@RequestBody UserTest userTest);
/**
* 模拟成功
* @param id
* @return
*/
@GetMapping("/hystrix/success/{id}")
String requestSuccess(@PathVariable("id") Integer id);
/**
* 模拟超时
* @param id
* @return
*/
@GetMapping("/hystrix/timeout/{id}")
String requestFail(@PathVariable("id") Integer id);
}
Controller 层
@RestController
@Api(tags = "消费端Hystrix")
public class ConsumerHystrixController {
@Autowired
private RemoteUserService remoteUserService;
@ApiOperation(value="requestSuccess")
@PostMapping(value = "/hystrix/success/{id}")
public String requestSuccess(@PathVariable("id") Integer id) {
String result = remoteUserService.requestSuccess(id);
return result;
}
@ApiOperation(value="requestFail")
@PostMapping(value = "/hystrix/timeout/{id}")
public String requestFail(@PathVariable("id") Integer id) {
String result = remoteUserService.requestFail(id);
return result;
}
}
Hystrix之服务降级(服务端)
降级配置 - @HystrixCommand
设置自身调用超时时间的峰值,峰值内可以正常运行,超过了需要有兜底的方法处埋,作服务降级fallback。
—旦调用服务方法失败并抛出了错误信息后,会自动调用@HystrixCommand标注好的fallbackMethod调用类中的指定方法,向调用方返回一个符合预期的、可处理的备选响应,而不是长时间的等待或者抛出调用方无法处理的异常。
@Service
@Slf4j
public class HystrixTsetServiceImpl implements HystrixTsetService {
/**
* 模拟失败 超时、异常
*
* @param id
* @return
*/
@Override
@HystrixCommand(fallbackMethod = "timeOutHandler", commandProperties = {
@HystrixProperty(name = "execution.isolation.thread.timeoutInMilliseconds", value = "3000")
})
public String requestFail(Integer id) {
try {
// int age = 10/0;
// 睡眠6妙
TimeUnit.MILLISECONDS.sleep(6000);
} catch (Exception e) {
log.error(e.getMessage());
}
return "线程池:" + Thread.currentThread().getName() + " id:" + id + "耗时6s";
}
// 用来善后的方法
public String timeOutHandler(Integer id) {
return "线程池:" + Thread.currentThread().getName() + "8001系统繁忙或者运行报错,请稍后再试,id:" + id ;
}
}
主启动类激活
添加新注解@EnableCircuitBreaker
@SpringBootApplication
@EnableEurekaClient
@EnableCircuitBreaker
public class ProviderApplication {
public static void main(String[] args) {
SpringApplication.run(ProviderApplication.class,args);
}
}
测试

Hystrix之服务降级(消费端)
消费端自己异常,也要降级
YML 开启 Hystrix
feign:
hystrix:
enabled: true
启动类添加 @EnableHystrix 注解
@SpringBootApplication
@EnableEurekaClient
@EnableFeignClients
@EnableHystrix
public class ConsumerApplication {
public static void main(String[] args) {
SpringApplication.run(ConsumerApplication.class,args);
}
}
业务类 使用 @HystrixCommand
@RestController
@Api(tags = "消费端Hystrix")
public class ConsumerHystrixController {
@Autowired
private RemoteUserService remoteUserService;
@ApiOperation(value="requestFail")
@PostMapping(value = "/hystrix/timeout/{id}")
@HystrixCommand(fallbackMethod = "timeOutHandler", commandProperties = {
@HystrixProperty(name = "execution.isolation.thread.timeoutInMilliseconds", value = "1500")
})
public String requestFail(@PathVariable("id") Integer id) {
String result = remoteUserService.requestFail(id);
return result;
}
// 用来善后的方法
public String timeOutHandler(Integer id) {
return "我是消费者80,系统繁忙请10秒钟后再试或者自己运行出错请检查自己,o(╥﹏╥)o";
}
}
测试

Hystrix之全局服务降级DefaultProperties
每个业务方法对应一个兜底的方法,代码膨胀
使用 @DefaultProperties(defaultFallback = “global_FallbackMethod”) 全局Fallback。
@RestController
@Api(tags = "消费端Hystrix")
@DefaultProperties(defaultFallback = "global_FallbackMethod")
public class ConsumerHystrixController {
@Autowired
private RemoteUserService remoteUserService;
@ApiOperation(value = "requestSuccess")
@PostMapping(value = "/hystrix/success/{id}")
@HystrixCommand //用全局的fallback方法
public String requestSuccess(@PathVariable("id") Integer id) {
String result = remoteUserService.requestSuccess(id);
return result;
}
@ApiOperation(value = "requestFail")
@PostMapping(value = "/hystrix/timeout/{id}")
// 使用自己的
@HystrixCommand(fallbackMethod = "timeOutHandler", commandProperties = {
@HystrixProperty(name = "execution.isolation.thread.timeoutInMilliseconds", value = "1500")
})
public String requestFail(@PathVariable("id") Integer id) {
String result = remoteUserService.requestFail(id);
return result;
}
// 用来善后的方法
public String timeOutHandler(Integer id) {
return "我是消费者80,系统繁忙请10秒钟后再试或者自己运行出错请检查自己,o(╥﹏╥)o";
}
// 下面是全局fallback方法
public String global_FallbackMethod() {
return "Global异常处理信息,请稍后再试,/(ㄒoㄒ)/~~";
}
}
Hystrix之服务降级FeignFallback
只需要为Feign客户端定义的接口添加一个服务降级处理的实现类即可实现解耦。
重新新建一个类(RemoteUserFallbackService)实现Feign客户端接口,统一为接口里面的方法进行异常处理。
/**
* @ClassName RemoteUserFallbackService
* @author: shouanzh
* @Description Fallback 出现异常交给 feign 客户端实现处理
* @date 2022/4/20 09:08
*/
@Component
@Slf4j
public class RemoteUserFallbackService implements RemoteUserService {
@Override
public RestResult<List<UserTest>> searchUser(UserTest userTest) {
return RestResult.fail(ResultCode.DATA_ACCESS_ERROR);
}
/**
* 模拟成功
* @param id
* @return
*/
@Override
public String requestSuccess(Integer id) {
log.info("requestSuccess fall back...");
return "requestSuccess fall back...";
}
/**
* 模拟超时
* @param id
* @return
*/
@Override
public String requestFail(Integer id) {
log.info("requestFail fall back...");
return "requestFail fall back...";
}
}
yml 配置 在Feign中开启Hystrix
# 用于服务降级,在注解@FeignClient添加fallback属性
feign:
hystrix:
enabled: true #在Feign中开启Hystrix
在注解@FeignClient添加fallback属性
@Component
// 服务提供者名称
@FeignClient(value = "cloud-provider-service", fallback = RemoteUserFallbackService.class , configuration = {FeignClientInterceptorConfig.class, FeignConfig.class})
public interface RemoteUserService {
@RequestMapping("/user/search/v1") // 要调用的接口
RestResult<List<UserTest>> searchUser(@RequestBody UserTest userTest);
/**
* 模拟成功
* @param id
* @return
*/
@GetMapping("/hystrix/success/{id}")
String requestSuccess(@PathVariable("id") Integer id);
/**
* 模拟超时
* @param id
* @return
*/
@GetMapping("/hystrix/timeout/{id}")
String requestFail(@PathVariable("id") Integer id);
}
测试
只启动 Eureka 和消费端,不启动 服务提供端,模拟服务宕机。

fallback 不推荐:不能捕获异常打印堆栈信息,不利于问题排查。
Hystrix之服务降级FeignFallbackFactory(推荐)
fallbackFactory 推荐:可以捕获异常信息并返回默认降级结果。可以打印堆栈信息。
新建RemoteUserFallbackFactoryService 实现FallbackFactory<T> 泛型为feign客户端接口
/**
* @ClassName RemoteUserFallbackFactoryService
* @author: shouanzh
* @Description RemoteUserFallbackFactoryService
* @date 2022/4/20 09:48
*/
@Slf4j
@Component
public class RemoteUserFallbackFactoryService implements FallbackFactory<RemoteUserService> {
@Override
public RemoteUserService create(Throwable throwable) {
return new RemoteUserService() {
@Override
public RestResult<List<UserTest>> searchUser(UserTest userTest) {
return RestResult.fail(ResultCode.DATA_ACCESS_ERROR);
}
/**
* 模拟成功
*
* @param id
* @return
*/
@Override
public String requestSuccess(Integer id) {
log.info("requestSuccess fall back... 异常信息:" + throwable.getMessage(),throwable);
return "requestSuccess fall back...";
}
/**
* 模拟超时
*
* @param id
* @return
*/
@Override
public String requestFail(Integer id) {
log.info("requestFail fall back...异常信息:" + throwable.getMessage(),throwable);
return "requestFail fall back...";
}
};
}
}
在注解@FeignClient添加fallbackFactory属性
@Component
// 服务提供者名称
//@FeignClient(value = "cloud-provider-service", fallback = RemoteUserFallbackService.class , configuration = {FeignClientInterceptorConfig.class, FeignConfig.class})
@FeignClient(value = "cloud-provider-service", fallbackFactory = RemoteUserFallbackFactoryService.class , configuration = {FeignClientInterceptorConfig.class, FeignConfig.class})
public interface RemoteUserService {
@RequestMapping("/user/search/v1") // 要调用的接口
RestResult<List<UserTest>> searchUser(@RequestBody UserTest userTest);
/**
* 模拟成功
* @param id
* @return
*/
@GetMapping("/hystrix/success/{id}")
String requestSuccess(@PathVariable("id") Integer id);
/**
* 模拟超时
* @param id
* @return
*/
@GetMapping("/hystrix/timeout/{id}")
String requestFail(@PathVariable("id") Integer id);
}
测试

2022-04-20 10:06:09.147 INFO 20419 --- [vider-service-1] c.d.s.f.RemoteUserFallbackFactoryService : requestSuccess fall back... 异常信息:com.netflix.client.ClientException: Load balancer does not have available server for client: cloud-provider-service
Hystrix之服务熔断
熔断机制是应对雪崩效应的一种微服务链路保护机制。当扇出链路的某个微服务出错不可用或者响应时间太长时,会进行服务的降级,进而熔断该节点微服务的调用,快速返回错误的响应信息。当检测到该节点微服务调用响应正常后,恢复调用链路。
在Spring Cloud框架里,熔断机制通过Hystrix实现。Hystrix会监控微服务间调用的状况,当失败的调用到一定阈值,缺省是5秒内20次调用失败,就会启动熔断机制。熔断机制的注解是@HystrixCommand。
@Service
@Slf4j
public class HystrixTsetServiceImpl implements HystrixTsetService {
/**
* 请求成功
*
* @param id
* @return
*/
//=====服务熔断 10秒内 达到10次请求 失败6次 熔断
@HystrixCommand(fallbackMethod = "timeOutHandler",commandProperties = {
@HystrixProperty(name = "circuitBreaker.enabled",value = "true"),// 是否开启断路器
@HystrixProperty(name = "circuitBreaker.requestVolumeThreshold",value = "10"),// 请求次数
@HystrixProperty(name = "circuitBreaker.sleepWindowInMilliseconds",value = "10000"), // 时间范围
@HystrixProperty(name = "circuitBreaker.errorThresholdPercentage",value = "60"),// 失败率达到多少后跳闸
})
@Override
public String requestSuccess(Integer id) {
if(id < 0) {
throw new RuntimeException("******id 不能负数");
}
return "线程池: " + Thread.currentThread().getName() + " requestSuccess,id:" + id;
}
/**
* 模拟失败 超时、异常
*
* @param id
* @return
*/
@Override
@HystrixCommand(fallbackMethod = "timeOutHandler", commandProperties = {
@HystrixProperty(name = "execution.isolation.thread.timeoutInMilliseconds", value = "3000")
})
public String requestFail(Integer id) {
try {
// int age = 10/0;
// 睡眠6妙
TimeUnit.MILLISECONDS.sleep(6000);
} catch (Exception e) {
log.error(e.getMessage());
}
return "线程池:" + Thread.currentThread().getName() + " id:" + id + "耗时6s";
}
// 用来善后的方法
public String timeOutHandler(Integer id) {
return "线程池:" + Thread.currentThread().getName() + "8001系统繁忙或者运行报错,请稍后再试,id:" + id ;
}
}
测试
正确:http://localhost:8001/hystrix/success/1
错误:http://localhost:8001/hystrix/success/-1
多次错误,再来次正确,继续返回错误。
多次错误,然后慢慢正确,发现刚开始不满足条件,就算是正确的访问地址也不能进行。
ALL配置
@HystrixCommand(fallbackMethod = "fallbackMethod",
groupKey = "strGroupCommand",
commandKey = "strCommand",
threadPoolKey = "strThreadPool",
commandProperties = {
// 设置隔离策略,THREAD 表示线程池 SEMAPHORE:信号池隔离
@HystrixProperty(name = "execution.isolation.strategy", value = "THREAD"),
// 当隔离策略选择信号池隔离的时候,用来设置信号池的大小(最大并发数)
@HystrixProperty(name = "execution.isolation.semaphore.maxConcurrentRequests", value = "10"),
// 配置命令执行的超时时间
@HystrixProperty(name = "execution.isolation.thread.timeoutinMilliseconds", value = "10"),
// 是否启用超时时间
@HystrixProperty(name = "execution.timeout.enabled", value = "true"),
// 执行超时的时候是否中断
@HystrixProperty(name = "execution.isolation.thread.interruptOnTimeout", value = "true"),
// 执行被取消的时候是否中断
@HystrixProperty(name = "execution.isolation.thread.interruptOnCancel", value = "true"),
// 允许回调方法执行的最大并发数
@HystrixProperty(name = "fallback.isolation.semaphore.maxConcurrentRequests", value = "10"),
// 服务降级是否启用,是否执行回调函数
@HystrixProperty(name = "fallback.enabled", value = "true"),
// 是否启用断路器
@HystrixProperty(name = "circuitBreaker.enabled", value = "true"),
// 该属性用来设置在滚动时间窗中,断路器熔断的最小请求数。例如,默认该值为 20 的时候,如果滚动时间窗(默认10秒)内仅收到了19个请求, 即使这19个请求都失败了,断路器也不会打开。
@HystrixProperty(name = "circuitBreaker.requestVolumeThreshold", value = "20"),
// 该属性用来设置在滚动时间窗中,表示在滚动时间窗中,在请求数量超过 circuitBreaker.requestVolumeThreshold 的情况下,如果错误请求数的百分比超过50, 就把断路器设置为 "打开" 状态,否则就设置为 "关闭" 状态。
@HystrixProperty(name = "circuitBreaker.errorThresholdPercentage", value = "50"),
// 该属性用来设置当断路器打开之后的休眠时间窗。 休眠时间窗结束之后,会将断路器置为 "半开" 状态,尝试熔断的请求命令,如果依然失败就将断路器继续设置为 "打开" 状态,如果成功就设置为 "关闭" 状态。
@HystrixProperty(name = "circuitBreaker.sleepWindowinMilliseconds", value = "5000"),
// 断路器强制打开
@HystrixProperty(name = "circuitBreaker.forceOpen", value = "false"),
// 断路器强制关闭
@HystrixProperty(name = "circuitBreaker.forceClosed", value = "false"),
// 滚动时间窗设置,该时间用于断路器判断健康度时需要收集信息的持续时间
@HystrixProperty(name = "metrics.rollingStats.timeinMilliseconds", value = "10000"),
// 该属性用来设置滚动时间窗统计指标信息时划分"桶"的数量,断路器在收集指标信息的时候会根据设置的时间窗长度拆分成多个 "桶" 来累计各度量值,每个"桶"记录了一段时间内的采集指标。
// 比如 10 秒内拆分成 10 个"桶"收集这样,所以 timeinMilliseconds 必须能被 numBuckets 整除。否则会抛异常
@HystrixProperty(name = "metrics.rollingStats.numBuckets", value = "10"),
// 该属性用来设置对命令执行的延迟是否使用百分位数来跟踪和计算。如果设置为 false, 那么所有的概要统计都将返回 -1。
@HystrixProperty(name = "metrics.rollingPercentile.enabled", value = "false"),
// 该属性用来设置百分位统计的滚动窗口的持续时间,单位为毫秒。
@HystrixProperty(name = "metrics.rollingPercentile.timeInMilliseconds", value = "60000"),
// 该属性用来设置百分位统计滚动窗口中使用 “ 桶 ”的数量。
@HystrixProperty(name = "metrics.rollingPercentile.numBuckets", value = "60000"),
// 该属性用来设置在执行过程中每个 “桶” 中保留的最大执行次数。如果在滚动时间窗内发生超过该设定值的执行次数,
// 就从最初的位置开始重写。例如,将该值设置为100, 滚动窗口为10秒,若在10秒内一个 “桶 ”中发生了500次执行,
// 那么该 “桶” 中只保留 最后的100次执行的统计。另外,增加该值的大小将会增加内存量的消耗,并增加排序百分位数所需的计算时间。
@HystrixProperty(name = "metrics.rollingPercentile.bucketSize", value = "100"),
// 该属性用来设置采集影响断路器状态的健康快照(请求的成功、 错误百分比)的间隔等待时间。
@HystrixProperty(name = "metrics.healthSnapshot.intervalinMilliseconds", value = "500"),
// 是否开启请求缓存
@HystrixProperty(name = "requestCache.enabled", value = "true"),
// HystrixCommand的执行和事件是否打印日志到 HystrixRequestLog 中
@HystrixProperty(name = "requestLog.enabled", value = "true"),
},
threadPoolProperties = {
// 该参数用来设置执行命令线程池的核心线程数,该值也就是命令执行的最大并发量
@HystrixProperty(name = "coreSize", value = "10"),
// 该参数用来设置线程池的最大队列大小。当设置为 -1 时,线程池将使用 SynchronousQueue 实现的队列,否则将使用 LinkedBlockingQueue 实现的队列。
@HystrixProperty(name = "maxQueueSize", value = "-1"),
// 该参数用来为队列设置拒绝阈值。 通过该参数, 即使队列没有达到最大值也能拒绝请求。
// 该参数主要是对 LinkedBlockingQueue 队列的补充,因为 LinkedBlockingQueue 队列不能动态修改它的对象大小,而通过该属性就可以调整拒绝请求的队列大小了。
@HystrixProperty(name = "queueSizeRejectionThreshold", value = "5"),
}
)
public String doSomething() {
...
}
Hystrix图形化Dashboard监控
除了隔离依赖服务的调用以外,Hystrix还提供了准实时的调用监控(Hystrix Dashboard),Hystrix会持续地记录所有通过Hystrix发起的请求的执行信息,并以统计报表和图形的形式展示给用户,包括每秒执行多少请求多少成功,多少失败等。
监控平台配置
1、添加依赖
<dependency>
<groupId>org.springframework.cloud</groupId>
<artifactId>spring-cloud-starter-netflix-hystrix-dashboard</artifactId>
</dependency>
2、yml配置
hystrix:
dashboard:
proxy-stream-allow-list: "localhost"
如果不加这个 图形监控一直 Loading…
Origin parameter: http://172.0.0.1:8001/actuator/hystrix.stream is not in the allowed list of proxy host names. If it should be allowed add it to hystrix.dashboard.proxyStreamAllowList.
3、启动类添加注解 @EnableHystrixDashboard
@SpringBootApplication
@EnableEurekaClient
@EnableFeignClients
@EnableHystrix
@EnableHystrixDashboard
public class ConsumerApplication {
public static void main(String[] args) {
SpringApplication.run(ConsumerApplication.class,args);
}
}
4、所有Provider微服务提供端(8001/8002/8003)都需要监控依赖配置
<dependency>
<groupId>org.springframework.boot</groupId>
<artifactId>spring-boot-starter-actuator</artifactId>
</dependency>
浏览器访问:http://localhost/hystrix
服务端配置监控路径
1、启动类配置
@SpringBootApplication
@EnableEurekaClient
@EnableDiscoveryClient
@EnableCircuitBreaker
public class ProviderApplication {
public static void main(String[] args) {
SpringApplication.run(ProviderApplication.class,args);
}
/**
*此配置是为了服务监控而配置,与服务容错本身无关,springcloud升级后的坑
*ServletRegistrationBean因为springboot的默认路径不是"/hystrix.stream",
*只要在自己的项目里配置上下面的servlet就可以了
*否则,Unable to connect to Command Metric Stream 404
*/
@Bean
public ServletRegistrationBean getServlet() {
HystrixMetricsStreamServlet streamServlet = new HystrixMetricsStreamServlet();
ServletRegistrationBean registrationBean = new ServletRegistrationBean(streamServlet);
registrationBean.setLoadOnStartup(1);
registrationBean.addUrlMappings("/hystrix.stream");
registrationBean.setName("HystrixMetricsStreamServlet");
return registrationBean;
}
}
输入被监控端地址
访问系统
