一、简介:
Redis支持RDB和AOF两种持久化机制,持久化功能有效地避免因进程退出造成的数据丢失问题,当下次重启时利用之前持久化的文件即可实现数据恢复。理解掌握持久化机制对于Redis运维非常重要。
二、RDB
1.概念:
RDB 持久化是把当前进程数据生成快照保存到硬盘的过程,触发 RDB 持久化过程分为手动触发和自动触发
2.触发机制:
2.1手动触发
(1)save命令
阻塞当前Redis服务器,直到RDB过程完成为止,对于内存 比较大的实例会造成长时间阻塞,线上环境不建议使用。
(2)bgsave命令
Redis 进程执行 fork 操作创建子进程, RDB 持久化过程由子进程负责,完成后自动结束。阻塞只发生在fork 阶段,一般时间很短。
显然 bgsave 命令是针对 save 阻塞问题做的优化。因此 Redis 内部所有的涉 及RDB 的操作都采用 bgsave 的方式,而 save 命令已经废弃。如下图为bgsave工作流程

2.2自动触发
(1)使用 save 相关配置,如 “save m n” 。表示 m 秒内数据集存在 n 次修改时,自动触发bgsave 。
(2)如果从节点执行全量复制操作,主节点自动执行 bgsave 生成 RDB 文件并发送给从节点
(3)执行debug reload命令重新加载Redis时,也会自动触发save操作。(4)默认情况下执行shutdown命令时,如果没有开启AOF持久化功能则自动执行bgsave。
3.RDB优缺点
RDB的优点:
(1)RDB 是一个紧凑压缩的二进制文件,代表 Redis 在某个时间点上的数据 快照。非常适用于备份,全量复制等场景。比如每6 小时执行 bgsave 备份, 并把RDB 文件拷贝到远程机器或者文件系统中(如 hdfs ),用于灾难恢复。
(2)Redis 加载 RDB 恢复数据远远快于 AOF 的方式
RDB的缺点:
(1)RDB 方式数据没办法做到实时持久化 / 秒级持久化。因为 bgsave 每次运
行都要执行 fork 操作创建子进程,属于重量级操作,频繁执行成本过高。
(2)RDB 文件使用特定二进制格式保存, Redis 版本演进过程中有多个格式
的 RDB 版本,存在老版本 Redis 服务无法兼容新版 RDB 格式的问题。
三、AOF(append only file)持久化
1.概念
以独立日志的方式记录每次写命令, 重启时再重新执行AOF文件中的命令达到恢复数据的目的。AOF的主要作用是解决了数据持久化的实时性,目前已经是Redis持久化的主流方式
2.开启方式
开启 AOF自动触发 功能需要设置配置: appendonly yes ,默认不开启。 AOF 文件名 通过appendfilename 配置设置,默认文件名是 appendonly.aof 。保存路径同 RDB持久化方式一致,通过 dir 配置指定
3.工作流程

1 )所有的写入命令会追加到 aof_buf (缓冲区)中。
2 ) AOF 缓冲区根据对应的策略向硬盘做同步操作。
3 )随着 AOF 文件越来越大,需要定期对 AOF 文件进行重写,达到压缩
的目的。
4 )当 Redis 服务器重启时,可以加载 AOF 文件进行数据恢复。
4.AOF命令写入
4.1.AOF为什么直接采用文本协议格式?
(1)文本协议具有很好的兼容性。 开启AOF 后,所有写入命令都包含追加操作,直接采用协议格式,避免了二次处理开销
(2)文本协议具有可读性,方便直接修改和处理。
4.2.AOF为什么把命令追加到aof_buf中?
Redis 使用单线程响应命令,如果每次写AOF 文件命令都直接追加到硬盘,那么性能完全取决于当前硬盘负载
5.文件同步
Redis 提供了多种 AOF 缓冲区同步文件策略,由参数 appendfsync 控制

配置为 always 时,每次写入都要同步 AOF 文件,在一般的 SATA 硬盘 上,Redis 只能支持大约几百 TPS 写入,显然跟 Redis 高性能特性背道而驰, 不建议配置。
配置为 no ,由于操作系统每次同步 AOF 文件的周期不可控,而且会加 大每次同步硬盘的数据量,虽然提升了性能,但数据安全性无法保证。·
配置为 everysec ,是建议的同步策略,也是默认配置,做到兼顾性能和数据安全性。理论上只有在系统突然宕机的情况下丢失1 秒的数据。(严格来说最多丢失1 秒数据是不准确的,当AOF堵塞时会丢失两秒,后面会介绍 )
6.AOF文件重写机制
随着命令不断写入 AOF ,文件会越来越大,为了解决这个问题, Redis 引入AOF 重写机制压缩文件体积。 AOF 文件重写是把 Redis 进程内的数据转化为写命令同步到新AOF 文件的过程。
6.1触发方式
(1)手动触发
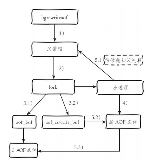
使用bgrewriteaof命令:Redis主进程fork子进程来执行AOF重写,这个子进程创建新的AOF文件来存储重写结果,防止影响旧文件。因为fork采用了写时复制机制,子进程不能访问在其被创建出来之后产生的新数据。Redis使用“AOF重写缓冲区”保存这部分新数据,最后父进程将AOF重写缓冲区的数据写入新的AOF文件中然后使用新AOF文件替换老文件。
(2)自动触发:
根据 auto-aof-rewrite-min-size 和 auto-aof-rewrite-percentage 参 数确定自动触发时机
auto-aof-rewrite-min-size :表示运行 AOF 重写时文件最小体积,默认为64MB 。
auto-aof-rewrite-percentage :代表当前 AOF 文件空间(aof_current_size )和上一次重写后 AOF 文件空间( aof_base_size )的比值
6.2工作流程

(3.1)主进程 fork 操作完成后,继续响应其他命令。所有修改命令依然写入AOF 缓冲区并根据 appendfsync 策略同步到硬盘,保证原有 AOF 机制正确性。
(3.2) 由于 fork 操作运用写时复制技术,子进程只能共享 fork 操作时的内存数据。由于父进程依然响应命令,Redis 使用 “AOF 重写缓冲区 ” 保存这部分新数据,防止新AOF 文件生成期间丢失这部分数据。
(4)子进程根据内存快照,按照命令合并规则写入到新的 AOF 文件。每次批量写入硬盘数据量由配置aof-rewrite-incremental-fsync 控制,默认为32MB,防止单次刷盘数据过多造成硬盘阻塞。
(5.1)新 AOF 文件写入完成后,子进程发送信号给父进程,父进程更新统计信息,具体见info persistence 下的 aof_* 相关统计。
(5.2)父进程把 AOF 重写缓冲区的数据写入到新的 AOF 文件。
(6.2)使用新 AOF 文件替换老文件,完成 AOF 重写。
7.AOF追加堵塞
当开启 AOF 持久化时,常用的同步硬盘的策略是 everysec ,用于平衡性能和数据安全性。对于这种方式,Redis 使用另一条线程每秒执行 fsync 同步硬盘。当系统硬盘资源繁忙时,会造成Redis 主线程阻塞

(1)主线程负责写入 AOF 缓冲区。
(2)AOF 线程负责每秒执行一次同步磁盘操作,并记录最近一次同步时间。
(3)主线程负责对比上次 AOF 同步时间:
· 如果距上次同步成功时间在 2 秒内,主线程直接返回。
· 如果距上次同步成功时间超过 2 秒,主线程将会阻塞,直到同步操作完成。
所以fork 阻塞和 AOF 追加阻塞。 fork 阻塞时间跟内存量和系统有关,AOF 追加阻塞说明硬盘资源紧张。
每当发生 AOF 追加阻塞事件发生时,在 info Persistence 统计中,aof_delayed_fsync指标会累加,查看这个指标方便定位 AOF 阻塞问题
四、重启加载
AOF 和 RDB 文件都可以用于服务器重启时的数据恢复,流程如下:

AOF 持久化开启且存在 AOF 文件时,优先加载 AOF 文件,如果没有会用RDB,但是不开启AOF即便没有RDB也不会加载AOF
五、fork子进程详解
当 Redis 做 RDB 或 AOF 重写时,一个必不可少的操作就是执行 fork 操作创 建子进程,对于大多数操作系统来说fork 是个重量级错误。虽然 fork 创建的 子进程不需要拷贝父进程的物理内存空间,但是会复制父进程的空间内存页表。例如对于10GB 的 Redis 进程,需要复制大约 20MB 的内存页表,因此 fork 操作耗时跟进程总内存量息息相关
如何改善fork操作的耗时?
(1)优先使用物理机或者高效支持 fork 操作的虚拟化技术,避免使用Xen。
(2)控制 Redis 实例最大可用内存, fork 耗时跟内存量成正比,线上建议 每个Redis 实例内存控制在 10GB 以内。
(3)合理配置Linux 内存分配策略,避免物理内存不足导致 fork失败
(4)降低 fork 操作的频率,如适度放宽 AOF 自动触发时机,避免不必要的全量复制等
版权声明:本文为zhang09090606原创文章,遵循CC 4.0 BY-SA版权协议,转载请附上原文出处链接和本声明。