- 通电延时定时器(TON)

Txxx是定时器编号;
IN是使能输人端,指令盒上方输人定时器的编号(Txxx),范围为T0~T255;
PT是预置值输人端,最大预置值为32767; PT的数据类型: INT;PT操作数有:IW,QW ,MW,SMW, T,C, VW, SW, AC,常数。

- 定时器的定时间计算公式:
- 通电延时定时器指令工作原理
当使能端(IN)输入有效时,驱动定时器开始计时,当前值从0开始递增,计时到预设值时,定时器的状态位置1,之后当前值仍会递增,但不会影响定时器状态位。当使能端(IN)无效时,定时器立即复位,当前值清零,状态位也清零,即回复初始状态。
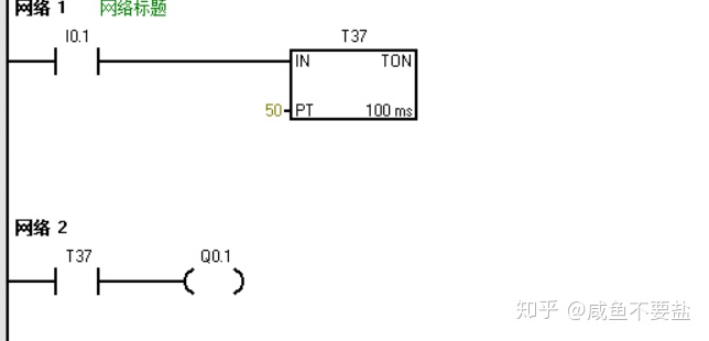
- TON指令应用举例
- 延时接通

当I0.1接通,定时器T37计时,5秒后,Q0.1接通。
2.延时断开

当I0.1输入一个信号,当I0.1接通时,Q0.1接通并保持;当I0.1断开后,定时器T37开始计时,5秒后,Q0.1断开,同时定时器T37被复位。
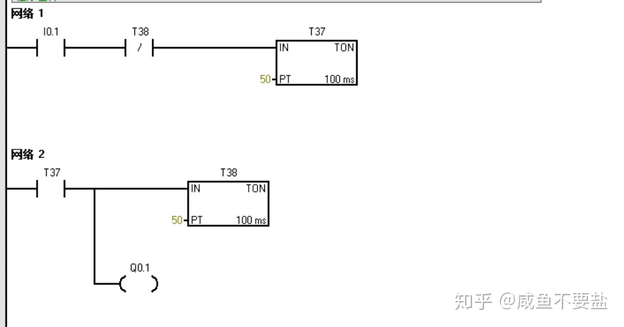
3.延时接通和断开

当I0.1常开触点接通,定时器T37计时,5秒后,Q0.1接通并保持;当I0.1断开,定时器T37复位,T38计时,5秒后,Q0.1断开,同时定时器T38被复位。
4.闪烁电路

当I0.1接通,定时器T37计时,5秒后,Q0.1接通,同时定时器T38计时,5秒后,Q0.1断开,同时T37、T38复位,T37又重新开始计时。循环(5秒后Q0.1接通,5秒后Q0.1断开)
5.时间叠加
当一个定时器满足不了定时时间时,可以使用多个定时器叠加来增加定时时间。例如:设计一个1小时定时器,启动后1小时点亮指示灯。

6.一个扫描周期的时钟脉冲发生器
a.定时器分辨率(时基)为1ms:

每隔1ms定时器刷新一次当前值,如果CPU当前值恰好在处理常开触点和常闭触点之间被刷新,Q0.0可以接通一个扫描周期,但出现这种情况的概率很小;如果执行其他指令,定时时间到,1ms刷新,使定时器输出状态位置位,常闭触点打开,定时器当前值复位,定时器输出状态位会立即复位,所以输出线圈Q0.0一般不会通电。
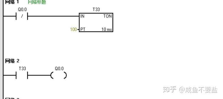
b.定时器分辨率(时基)为10ms:

当前值在每个扫描周期开始刷新,计时时间到,扫描周期开始,定时器状态位置位,常闭触点断开,立即将定时器当前值清零,定时器输出状态位复位。输出线圈Q0.0永远不可能得电。
c.定时器分辨率(时基)为100ms:

当前指令执行时刷新,Q0.0在T37计时时间达到时准确的接通一个扫描周期。可以输出一个断开为延时时间,接通为一个扫描周期的时钟脉冲。
d.适用于定时器所有分辨率(时基):
将输出线圈的常闭触点作为定时器的使能输出,无论何种时基都能正常工作。


