电影院会员管理系统说明文档
目录
电影院会员管理系统说明文档 1
一、项目技术方案 1
二、项目设计概要 1
三、模块设计及实现 1
- 会员模块 2
- 会员卡模块 2
- 电影票模块 2
- 会员关怀 2
- 数据统计 3
四、运行项目 3
五、项目截图 3 - 登录页面 3
- 系统首页 4
- 会员页面 4
- 会员卡管理 5
- 积分管理 6
- 会员关怀 6
一、项目技术方案
本设计后端使用springboot+mybatis,持久数据库使用mysql,前端使用vue.js+element-ui技术。使用前后端分离架构,前端项目使用vue-cli脚手架创建单页面应用。
二、项目设计概要
三、模块设计及实现
- 会员模块
a)会员列表:显示出当前系统中所有已注册的会员信息
b)查询:会员列表上方文本框可输入会员姓名或性别或id号进行查询
c)登录:点击按钮进入会员卡界面,显示出会员卡列表
d)注册:点击注册按钮进入注册页面,提交表单后,判断是否曾经注册过,在服务端写入数据库
e)修改:点击列表中某一个会员项左侧修改按钮,可弹出一个模态窗口进行修改
f)删除:点击列表中某一个会员项左侧删除按钮,在弹出确认对话框后,发送请求到服务端内删除数据
注: 数据表包含字段:username、password、name、sex、birthday - 会员卡模块
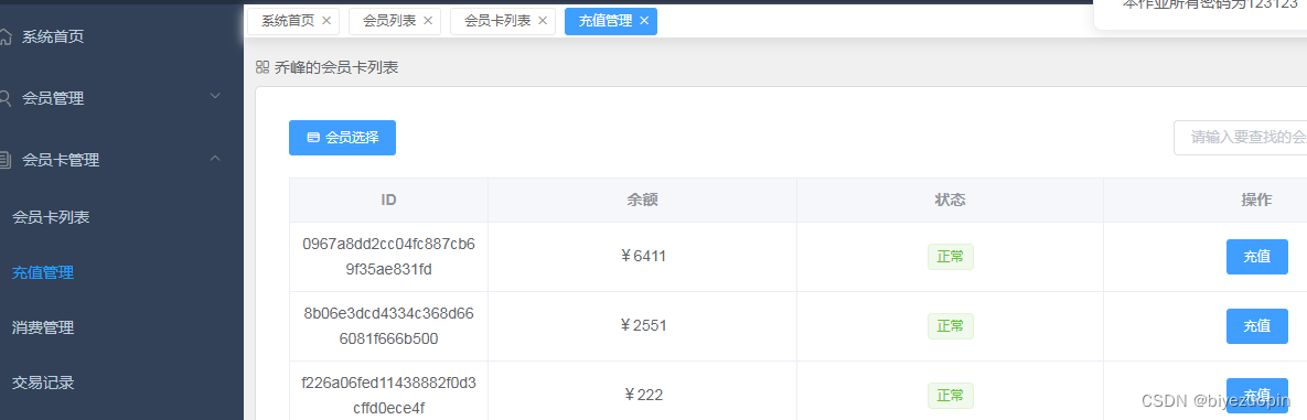
a)会员卡列表:显示出当前用户所持有的所有的会员卡信息及状态
b)会员卡查询:根据ID号查询到当前需要操作的会员卡
c)注册:用户可以点击注册,每个用户可注册多个会员卡
d)充值:在会员卡界面中,通过充值入口可以对会员卡余额进行充值,输入框中输入金额,提交表单后在服务端修改数据库,同时将消费记录记录交易数据库中
e)消费:在会员卡界面中,通过充值后的余额购买,在购买方式单选框中选择人民币,用户点击购买后,在服务端将相应金额从数据库中减去,同时将消费记录记录交易数据库中
f)挂失:在会员卡界面中,可以通过挂失入口来对会员卡进行冻结,发起请求后,在服务端将数据库中的冻结字段设为1
g)解挂:在会员卡界面中,如果当前正处于挂失状态,则显示出解挂入口,用户点击此入口后,发出请求,将冻结字段设为0
h)补卡:在会员卡界面中,如果当前正处于挂失状态,则显示出补卡入口,重新进行注册会员卡,服务端查询出与会员信息对应的会员卡数据,将数据导入到新会员卡中
i)积分兑换:电影票可以通过积分购买,弹出电影票购买窗口,在单选框中选择积分
j)交易记录查询:在会员卡界面中,通过点击消费记录查询按钮,可以以表格形式显示出当前用户所有记录
注:
会员卡数据表包含字段:cardid、username、balance、integral、lose
交易记录表字段:id、cardid、value、time、spendtype - 电影票模块
a)商品信息列表:在会员卡列表中会员卡项左侧点击购买弹出电影票模态窗口,显示当前所有电影票的商品信息
b)购买:本文转载自http://www.biyezuopin.vip/onews.asp?id=14932有两种购买选择方式:积分与余额,选择不同方式时,表单提交不同的type,服务端对其进行判断,调用相应的业务逻辑
注: 电影票表字段:mobieid、name、price、integral、time - 会员关怀
a)会员生日提醒:进入系统后,即判断当前时期是否是用户生日,如果是,则在会员名称前显示生日祝福
b)会员生日查询:可查询未来7天的哪些会员过生日,或者指定未来的某一天
c) 距离生日天数显示: 根据距离天数对列表进行正序排列 - 数据统计
package com.zrkworld.cinema.utils;
import org.junit.Test;
import java.text.ParseException;
import java.text.SimpleDateFormat;
import java.util.Calendar;
/**
* @author zrk
* @version 1.0
* @date 2020/5/1 0001 11:45
*/
public class DateManageSystem {
/**
* 返回上一周的周一到周日的字符串格式日期(时分秒清零)
* @return String[]
* @throws ParseException
*/
public String[] getLastWeek() {
Calendar cal = Calendar.getInstance();
String[] week = new String[7];
//n为推迟的周数,1本周,-1向前推迟一周,2下周,依次类推
int n = -1;
cal.add(Calendar.DATE, n * 7);
//想周几,这里就传几Calendar.MONDAY(TUESDAY...)
for (int i = 0; i < 7; i++) {
cal.set(Calendar.DAY_OF_WEEK, 2 + i);
//时分秒毫秒域清零
cal.set(Calendar.HOUR_OF_DAY, 0);
cal.set(Calendar.MINUTE, 0);
cal.set(Calendar.SECOND, 0);
cal.set(Calendar.MILLISECOND, 0);
week[i] = new SimpleDateFormat("yyyy-MM-dd HH:mm:ss").format(cal.getTime());
}
return week;
}
/*SimpleDateFormat format = new SimpleDateFormat("yyyy-MM-dd HH:mm:ss");
Calendar c = Calendar.getInstance();
1.过去七天
c.setTime(new Date());
c.add(Calendar.DATE, - 7);
Date d = c.getTime();
String day = format.format(d);
System.out.println("过去七天:"+day);
2.过去一月
c.setTime(new Date());
c.add(Calendar.MONTH, -1);
Date m = c.getTime();
String mon = format.format(m);
System.out.println("过去一个月:"+mon);
3.过去三个月
c.setTime(new Date());
c.add(Calendar.MONTH, -3);
Date m3 = c.getTime();
String mon3 = format.format(m3);
System.out.println("过去三个月:"+mon3);
4.过去一年
c.setTime(new Date());
c.add(Calendar.YEAR, -1);
Date y = c.getTime();
String year = format.format(y);
System.out.println("过去一年:"+year);
5.现在时间24小时制
SimpleDateFormat format = new SimpleDateFormat("yyyy-MM-dd HH:mm:ss");
String nowDate=format.format(new Date());
System.out.println(nowDate);
6.当天的开始时间
SimpleDateFormat format = new SimpleDateFormat("yyyy-MM-dd");
Calendar c = Calendar.getInstance();
String start = format.format(c.getTime())+" 00:00:00";
System.out.println(start);
7.当天的截止时间
SimpleDateFormat format = new SimpleDateFormat("yyyy-MM-dd");
Calendar calendar = Calendar.getInstance();
String end = format.format(calendar.getTime())+" 23:59:59";
System.out.println(end);
8.当前时间的前一个星期 开始时间
SimpleDateFormat format = new SimpleDateFormat("yyyy-MM-dd");
Calendar c = Calendar.getInstance();
c.add(Calendar.DAY_OF_MONTH, -6);
String start = format.format(c.getTime())+" 00:00:00";
System.out.println(start);
9.当天日期前一个月
SimpleDateFormat format = new SimpleDateFormat("yyyy-MM-dd");
Calendar c = Calendar.getInstance();
c.add(Calendar.MONTH, -1); //得到前一个月
String start = format.format(c.getTime())+" 00:00:00";
System.out.println(start);
10.当前时间的前一年开始时间
SimpleDateFormat format = new SimpleDateFormat("yyyy-MM-dd");
Calendar c = Calendar.getInstance();
c.add(Calendar.YEAR, -1); //年份减1
String start =format.format(c.getTime())+" 00:00:00";
System.out.println(start);
11.当前时间的周一时间和周末时间 setfirstdayofweek()方法
SimpleDateFormat format = new SimpleDateFormat("YYYY-MM-dd ");
Calendar c = Calendar.getInstance();
c.set(Calendar.DAY_OF_WEEK,Calendar.MONDAY);
String weekStart = format.format(c.getTime())+" 00:00:00";
System.out.println(weekStart);
Calendar ca = Calendar.getInstance();
ca.setFirstDayOfWeek(Calendar.MONDAY);
ca.set(Calendar.DAY_OF_WEEK, ca.getFirstDayOfWeek() + 6); // Sunday
String weekEnd = format.format(ca.getTime())+" 23:59:59";
System.out.println(weekEnd);
12.当前时所在月份的第一天和最后一天
SimpleDateFormat format=new SimpleDateFormat("yyyy-MM-dd");
Calendar c = Calendar.getInstance();
c.set(Calendar.DAY_OF_MONTH,1);//设置为1号,当前日期既为本月第一天
String monthStart = format.format(c.getTime())+" 00:00:00";
System.out.println(monthStart);
Calendar ca = Calendar.getInstance();
ca.set(Calendar.DAY_OF_MONTH, ca.getActualMaximum(Calendar.DAY_OF_MONTH));
String monthEnd = format.format(ca.getTime())+" 23:59:59";
System.out.println(monthEnd);
13.当期时间所在年份的开始时间
SimpleDateFormat format = new SimpleDateFormat("yyyy-MM-dd");
Calendar c = Calendar.getInstance();
c.set(c.get(Calendar.YEAR) ,0, 1);//开始时间日期
String yearStart = format.format(c.getTime())+" 00:00:00";
System.out.println(yearStart);
Calendar ca = Calendar.getInstance();
ca.set(ca.get(Calendar.YEAR) ,11, ca.getActualMaximum(Calendar.DAY_OF_MONTH));//结束日期
String yearEnd = format.format(ca.getTime())+" 23:59:59";
System.out.println(yearEnd);
14.计算时间差取得两个时间的微秒级的时间差
//得微秒级时间差
long val = calendarEnd.getTimeInMillis() - calendarBegin.getTimeInMillis();
//换算后得到天数
long day = val / (1000 * 60 * 60 * 24);
15.获取某个时间的上周一和周日
Calendar cal = Calendar.getInstance();
//n为推迟的周数,1本周,-1向前推迟一周,2下周,依次类推
int n = 1;
String monday;
cal.add(Calendar.DATE, n*7);
//想周几,这里就传几Calendar.MONDAY(TUESDAY...)
cal.set(Calendar.DAY_OF_WEEK,Calendar.MONDAY);
monday = new SimpleDateFormat("yyyy-MM-dd").format(cal.getTime());
System.out.println(monday);*/
}










版权声明:本文为sheziqiong原创文章,遵循CC 4.0 BY-SA版权协议,转载请附上原文出处链接和本声明。