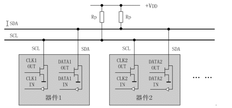
1、 I2C 硬件连接
I2C 是两线,半双工,主从结构,同步的通信方式,接线方式如下

(1) 上拉电阻一般在4.7k~10k之间 ,当总线空闲时,两根线都是 High ,连到总线上的任一设备输出低电平,都将使总线信号变低,即各器件的SDA SCL 是“与”的关系。
(2) I2C 总线上可以挂很多设备,多个主设备,多个从设备。 多个主设备,会产生总线竞争的问题,通过总线仲裁来决定哪一台主机来控制总线。
(3) 每个 I2C 的设备都有唯一的地址。
2、 I2C 数据传输信号
(1)数据的有效性规定:
I2C 总线在数据传输的时候,时钟信号SCL 为高电平期间,数据线SDA上的数据必须保持稳定,只有在是时钟线上的信号为低电平期间,数据线上的电平才允许变化。
SCL处于高电平的时候,SDA用来传输数据,必须保持电平稳定

(2)起始信号和终止信号
SCL线为高电平期间,SDA 下降沿为 Start , SDA 上升沿 为Stop

信号的发起和终止,由主机发起,在起始信号产生后,总线就处于被占用的状态;在终止信号产生后,总线就处于空闲状态。
版权声明:本文为Adrian503原创文章,遵循CC 4.0 BY-SA版权协议,转载请附上原文出处链接和本声明。