es在数据量很大的情况下(数十亿级别)如何提高查询效率啊?
问这个问题,是肯定的,说白了,就是看你有没有实际干过es,因为啥?es说白了其实性能并没有你想象中那么好的。很多时候数据量大了,特别是有几亿条数据的时候,可能你会懵逼的发现,跑个搜索怎么一下5秒~10秒,坑爹了。第一次搜索的时候,是5~10秒,后面反而就快了,可能就几百毫秒。(LRU)
你就很懵,每个用户第一次访问都会比较慢,比较卡么?
所以你要是没玩儿过es,或者就是自己玩玩儿demo,被问到这个问题容易懵逼,显示出你对es确实玩儿的不怎么样
剖析
说实话,es性能优化是没有什么银弹的,啥意思呢?就是不要期待着随手调一个参数,就可以万能的应对所有的性能慢的场景。也许有的场景是你换个参数,或者调整一下语法,就可以搞定,但是绝对不是所有场景都可以这样。
一块一块来分析吧
在这个海量数据的场景下,如何提升es搜索的性能,也是我们之前生产环境实践经验所得
(1)性能优化的杀手锏——filesystem cache
os cache,操作系统的缓存
你往es里写的数据,实际上都写到磁盘文件里去了,磁盘文件里的数据操作系统会自动将里面的数据缓存到os cache里面去
es的搜索引擎严重依赖于底层的filesystem cache,你如果给filesystem cache更多的内存,尽量让内存可以容纳所有的indx segment file索引数据文件,那么你搜索的时候就基本都是走内存的,性能会非常高。
性能差距可以有大,我们之前很多的测试和压测,如果走磁盘一般肯定上秒,搜索性能绝对是秒级别的,1秒,5秒,10秒。但是如果是走filesystem cache,是走纯内存的,那么一般来说性能比走磁盘要高一个数量级,基本上就是毫秒级的,从几毫秒到几百毫秒不等。
之前有个学员,一直在问我,说他的搜索性能,聚合性能,倒排索引,正排索引,磁盘文件,十几秒。。。。
学员的真实案例
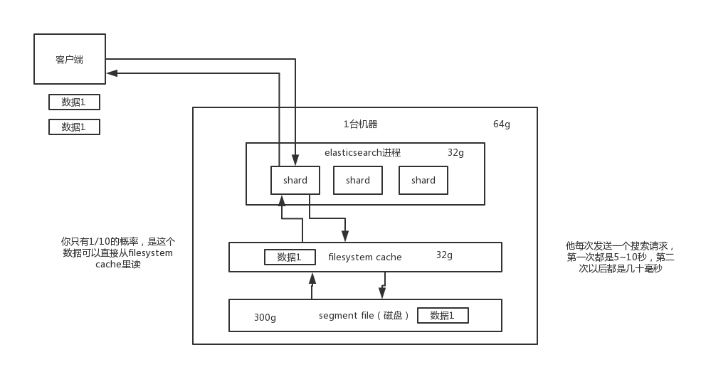
比如说,你,es节点有3台机器,每台机器,看起来内存很多,64G,总内存,64 * 3 = 192g
每台机器给es jvm heap是32G,那么剩下来留给filesystem cache的就是每台机器才32g,总共集群里给filesystem cache的就是32 * 3 = 96g内存
我就问他,ok,那么就是你往es集群里写入的数据有多少数据量?
如果你此时,你整个,磁盘上索引数据文件,在3台机器上,一共占用了1T的磁盘容量,你的es数据量是1t,每台机器的数据量是300g
你觉得你的性能能好吗?filesystem cache的内存才100g,十分之一的数据可以放内存,其他的都在磁盘,然后你执行搜索操作,大部分操作都是走磁盘,性能肯定差
当时他们的情况就是这样子,es在测试,弄了3台机器,自己觉得还不错,64G内存的物理机。自以为可以容纳1T的数据量。
归根结底,你要让es性能要好,最佳的情况下,就是你的机器的内存,至少可以容纳你的总数据量的一半
比如说,你一共要在es中存储1T的数据,那么你的多台机器留个filesystem cache的内存加起来综合,至少要到512G,至少半数的情况下,搜索是走内存的,性能一般可以到几秒钟,2秒,3秒,5秒
如果最佳的情况下,我们自己的生产环境实践经验,所以说我们当时的策略,是仅仅在es中就存少量的数据,就是你要用来搜索的那些索引,内存留给filesystem cache的,就100G,那么你就控制在100gb以内,相当于是,你的数据几乎全部走内存来搜索,性能非常之高,一般可以在1秒以内
比如说你现在有一行数据
id name age ....30个字段
但是你现在搜索,只需要根据id name age三个字段来搜索
如果你傻乎乎的往es里写入一行数据所有的字段,就会导致说70%的数据是不用来搜索的,结果硬是占据了es机器上的filesystem cache的空间,单挑数据的数据量越大,就会导致filesystem cahce能缓存的数据就越少
仅仅只是写入es中要用来检索的少数几个字段就可以了,比如说,就写入es id name age三个字段就可以了,然后你可以把其他的字段数据存在mysql里面,我们一般是建议用es + hbase的这么一个架构。
hbase的特点是适用于海量数据的在线存储,就是对hbase可以写入海量数据,不要做复杂的搜索,就是做很简单的一些根据id或者范围进行查询的这么一个操作就可以了
从es中根据name和age去搜索,拿到的结果可能就20个doc id,然后根据doc id到hbase里去查询每个doc id对应的完整的数据,给查出来,再返回给前端。
你最好是写入es的数据小于等于,或者是略微大于es的filesystem cache的内存容量
然后你从es检索可能就花费20ms,然后再根据es返回的id去hbase里查询,查20条数据,可能也就耗费个30ms,可能你原来那么玩儿,1T数据都放es,会每次查询都是5~10秒,现在可能性能就会很高,每次查询就是50ms。
elastcisearch减少数据量仅仅放要用于搜索的几个关键字段即可,尽量写入es的数据量跟es机器的filesystem cache是差不多的就可以了;其他不用来检索的数据放hbase里,或者mysql。
所以之前有些学员也是问,我也是跟他们说,尽量在es里,就存储必须用来搜索的数据,比如说你现在有一份数据,有100个字段,其实用来搜索的只有10个字段,建议是将10个字段的数据,存入es,剩下90个字段的数据,可以放mysql,hadoop hbase,都可以
这样的话,es数据量很少,10个字段的数据,都可以放内存,就用来搜索,搜索出来一些id,通过id去mysql,hbase里面去查询明细的数据
(2)数据预热
假如说,哪怕是你就按照上述的方案去做了,es集群中每个机器写入的数据量还是超过了filesystem cache一倍,比如说你写入一台机器60g数据,结果filesystem cache就30g,还是有30g数据留在了磁盘上。
举个例子,就比如说,微博,你可以把一些大v,平时看的人很多的数据给提前你自己后台搞个系统,每隔一会儿,你自己的后台系统去搜索一下热数据,刷到filesystem cache里去,后面用户实际上来看这个热数据的时候,他们就是直接从内存里搜索了,很快。
电商,你可以将平时查看最多的一些商品,比如说iphone 8,热数据提前后台搞个程序,每隔1分钟自己主动访问一次,刷到filesystem cache里去。
对于那些你觉得比较热的,经常会有人访问的数据,最好做一个专门的缓存预热子系统,就是对热数据,每隔一段时间,你就提前访问一下,让数据进入filesystem cache里面去。这样期待下次别人访问的时候,一定性能会好一些。
(3)冷热分离
关于es性能优化,数据拆分,我之前说将大量不搜索的字段,拆分到别的存储中去,这个就是类似于后面我最后要讲的mysql分库分表的垂直拆分。
es可以做类似于mysql的水平拆分,就是说将大量的访问很少,频率很低的数据,单独写一个索引,然后将访问很频繁的热数据单独写一个索引
你最好是将冷数据写入一个索引中,然后热数据写入另外一个索引中,这样可以确保热数据在被预热之后,尽量都让他们留在filesystem os cache里,别让冷数据给冲刷掉。
你看,假设你有6台机器,2个索引,一个放冷数据,一个放热数据,每个索引3个shard
3台机器放热数据index;另外3台机器放冷数据index
然后这样的话,你大量的时候是在访问热数据index,热数据可能就占总数据量的10%,此时数据量很少,几乎全都保留在filesystem cache里面了,就可以确保热数据的访问性能是很高的。
但是对于冷数据而言,是在别的index里的,跟热数据index都不再相同的机器上,大家互相之间都没什么联系了。如果有人访问冷数据,可能大量数据是在磁盘上的,此时性能差点,就10%的人去访问冷数据;90%的人在访问热数据。
(4)document模型设计
有不少同学问我,mysql,有两张表
订单表:id order_code total_price
1 测试订单 5000
订单条目表:id order_id goods_id purchase_count price
1 1 1 2 2000
2 1 2 5 200
我在mysql里,都是select * from order join order_item on order.id=order_item.order_id where order.id=1
1 测试订单 5000 1 1 1 2 2000
1 测试订单 5000 2 1 2 5 200
在es里该怎么玩儿,es里面的复杂的关联查询,复杂的查询语法,尽量别用,一旦用了性能一般都不太好
设计es里的数据模型
写入es的时候,搞成两个索引,order索引,orderItem索引
order索引,里面就包含id order_code total_price
orderItem索引,里面写入进去的时候,就完成join操作,id order_code total_price id order_id goods_id purchase_count price
写入es的java系统里,就完成关联,将关联好的数据直接写入es中,搜索的时候,就不需要利用es的搜索语法去完成join来搜索了
document模型设计是非常重要的,很多操作,不要在搜索的时候才想去执行各种复杂的乱七八糟的操作。es能支持的操作就是那么多,不要考虑用es做一些它不好操作的事情。如果真的有那种操作,尽量在document模型设计的时候,写入的时候就完成。另外对于一些太复杂的操作,比如join,nested,parent-child搜索都要尽量避免,性能都很差的。
很多同学在问我,很多复杂的乱七八糟的一些操作,如何执行
两个思路,在搜索/查询的时候,要执行一些业务强相关的特别复杂的操作:
1)在写入数据的时候,就设计好模型,加几个字段,把处理好的数据写入加的字段里面
2)自己用java程序封装,es能做的,用es来做,搜索出来的数据,在java程序里面去做,比如说我们,基于es,用java封装一些特别复杂的操作
(5)分页性能优化
es的分页是较坑的,为啥呢?举个例子吧,假如你每页是10条数据,你现在要查询第100页,实际上是会把每个shard上存储的前1000条数据都查到一个协调节点上,如果你有个5个shard,那么就有5000条数据,接着协调节点对这5000条数据进行一些合并、处理,再获取到最终第100页的10条数据。
分布式的,你要查第100页的10条数据,你是不可能说从5个shard,每个shard就查2条数据?最后到协调节点合并成10条数据?你必须得从每个shard都查1000条数据过来,然后根据你的需求进行排序、筛选等等操作,最后再次分页,拿到里面第100页的数据。
你翻页的时候,翻的越深,每个shard返回的数据就越多,而且协调节点处理的时间越长。非常坑爹。所以用es做分页的时候,你会发现越翻到后面,就越是慢。
我们之前也是遇到过这个问题,用es作分页,前几页就几十毫秒,翻到10页之后,几十页的时候,基本上就要5~10秒才能查出来一页数据了
1)不允许深度分页/默认深度分页性能很惨
你系统不允许他翻那么深的页,pm,默认翻的越深,性能就越差
2)类似于app里的推荐商品不断下拉出来一页一页的
类似于微博中,下拉刷微博,刷出来一页一页的,你可以用scroll api,自己百度
scroll会一次性给你生成所有数据的一个快照,然后每次翻页就是通过游标移动,获取下一页下一页这样子,性能会比上面说的那种分页性能也高很多很多
针对这个问题,你可以考虑用scroll来进行处理,scroll的原理实际上是保留一个数据快照,然后在一定时间内,你如果不断的滑动往后翻页的时候,类似于你现在在浏览微博,不断往下刷新翻页。那么就用scroll不断通过游标获取下一页数据,这个性能是很高的,比es实际翻页要好的多的多。
但是唯一的一点就是,这个适合于那种类似微博下拉翻页的,不能随意跳到任何一页的场景。同时这个scroll是要保留一段时间内的数据快照的,你需要确保用户不会持续不断翻页翻几个小时。
无论翻多少页,性能基本上都是毫秒级的
因为scroll api是只能一页一页往后翻的,是不能说,先进入第10页,然后去120页,回到58页,不能随意乱跳页。所以现在很多产品,都是不允许你随意翻页的,app,也有一些网站,做的就是你只能往下拉,一页一页的翻
