1.问题描述
编写用牛顿迭代法求方程根的函数。方程为ax 3 x^3x3+bx 2 x^2x2+cx+d=0,系数a、b、c、d由主函数输入,求x在1附近的一个实根。求出根后,由主函数输出。
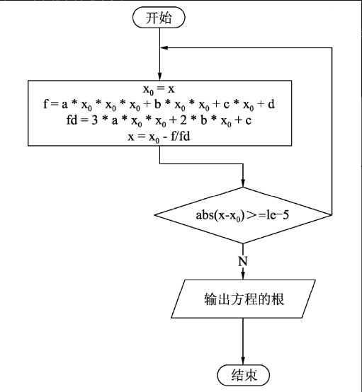
牛顿迭代法的公式:x=x0-[f(x0)/f'(x0)],设迭代到|x-x0|≤10-5时结束。
具体的设计流程图如下:
注意
编写程序时要注意的一点是判定|x-x0|>=1e-5,许多认为判定条件应该是|x-x0|<1e-5,从牛顿迭代法的原理可以看出,迭代的实质就是越来越接近方程根的精确值,最初给x0所赋初值与根的精确值是相差很多了,正是因为这个我们才需要不断地进行迭代,也就是程序中循环体的功能。在经过一番迭代之后所求得的值之间的差别也越来越小,直到求得的某两个值的差的绝对值在某个范围之内时便可结束迭代。若我们把判定条件改为|x-x0|<1e-5,则第一次的判断结果必为假,这样我们就不能进入循环体再次执行。
代码如下所示:
def solution(a,b,c,d):
x=1.5
x0=x
#f用来描述方程的值,fd用来描述方程求导之后的值
f=a*x0*x0*x0+b*x0*x0+c*x0+d
fd=3*a*x0*x0+2*b*x0+c
h=f/fd
x=x0-h
#求更接近方程根的x的值
while abs(x-x0)>=1e-5:
x0=x
f=a*x0*x0*x0+b*x0*x0+c*x0+d
fd=3*a*x0*x0+2*b*x0+c
h=f/fd
x=x0-h
return x
print("请输入方程的系数:")
a,b,c,d=map(float, input().split())
print("方程的参数为:",a,b,c,d)
x=solution(a,b,c,d)
print("所求方程的根为x=%.6f"%x)
结果如图所示:
版权声明:本文为qq_42111085原创文章,遵循CC 4.0 BY-SA版权协议,转载请附上原文出处链接和本声明。