1 lowbit运算
l o w b i t lowbitlowbit运算:l o w b i t ( x ) = x & ( − x ) lowbit(x) = x\&(-x)lowbit(x)=x&(−x),它的作用是取x xx的二进制最右边的1和它右边所有0。
整数在计算机中采用补码存储,x xx变为− x -x−x的过程就是按位取反后末位加1。二者与操作后就得到了x xx最右边的1和它右边所有0。l o w b i t ( x ) lowbit(x)lowbit(x)也可以理解为能整除x xx的最大2的幂次。

2 问题
给定一个包含N NN个元素的数组A AA,求它的区间[ i , j ] [i, j][i,j]元素之和。最自然的想法是建一个前缀和的数组,然后做减法就可以求出任意区间和,时间复杂度O ( 1 ) O(1)O(1),空间复杂度O ( n ) O(n)O(n)。
但是,如果对数组A AA进行更新,那我们就不得不再更新前缀和,就很麻烦。
树状数组可以很好地解决这个问题,它可以使得查询和更新的时间复杂度都变成O ( l o g n ) O(logn)O(logn)。
3 树状数组(Binary Indexed Tree, BIT)
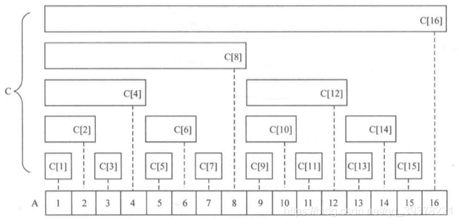
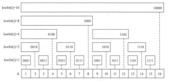
树状数组与前缀和数组类似,是一个用来记录和的数组,不过它存的是在i ii号位之前(包含i ii号位)的l o w b i t ( i ) lowbit(i)lowbit(i)个整数之和。另外,树状数组的下标必须从1开始。如下图C CC数组,C [ i ] C[i]C[i]的覆盖范围是l o w b i t ( i ) lowbit(i)lowbit(i)。
再结合下图就很容易理解了
3.1 单点更新与区间查询
为了解决刚才提出的问题,需要设计以下两个函数:
- g e t S u m ( n ) getSum(n)getSum(n):返回前n nn个数的和A [ 1 ] + ⋯ + A [ n ] A[1] + \cdots +A[n]A[1]+⋯+A[n]
- u p d a t e ( n , v ) update(n, v)update(n,v):实现将第n nn个数加上一个数v vv的功能,即A [ n ] + = v A[n] += vA[n]+=v
先解决第一个函数,看几个例子:
A [ 1 ] + ⋯ + A [ 14 ] = C [ 8 ] + C [ 12 ] + C [ 14 ] A [ 1 ] + ⋯ + A [ 11 ] = C [ 8 ] + C [ 10 ] + C [ 11 ] A[1] + \cdots + A[14] = C[8] + C[12] + C[14]\\ A[1] + \cdots + A[11] = C[8] + C[10] + C[11]\\A[1]+⋯+A[14]=C[8]+C[12]+C[14]A[1]+⋯+A[11]=C[8]+C[10]+C[11]
类似地,数组A AA的前n nn项和都可以由树状数组中的一些项的求和来表达,我们可以通过l o w b i t lowbitlowbit操作来找出这些项:
g e t S u m ( n ) = A [ 1 ] + ⋯ + A [ n ] = A [ 1 ] + ⋯ + A [ n − l o w b i t ( n ) ] + A [ n − l o w b i t ( n ) + 1 ] + ⋯ + A [ n ] = g e t S u m ( n − l o w b i t ( n ) ) + C ( n ) \begin{aligned} getSum(n) &= A[1] + \cdots + A[n] \\ &= A[1] + \cdots + A[n - lowbit(n)] + A[n - lowbit(n) + 1] + \cdots + A[n]\\ &= getSum(n - lowbit(n)) + C(n) \end{aligned}getSum(n)=A[1]+⋯+A[n]=A[1]+⋯+A[n−lowbit(n)]+A[n−lowbit(n)+1]+⋯+A[n]=getSum(n−lowbit(n))+C(n)
这样就可以写出g e t S u m ( n ) getSum(n)getSum(n)了:
//getSum返回前n个整数之和
int getSum(int n){
int sum = 0;
for (int i = n; i > 0; i -= lowbit(x)){
sum += C[i];
}
return sum;
}
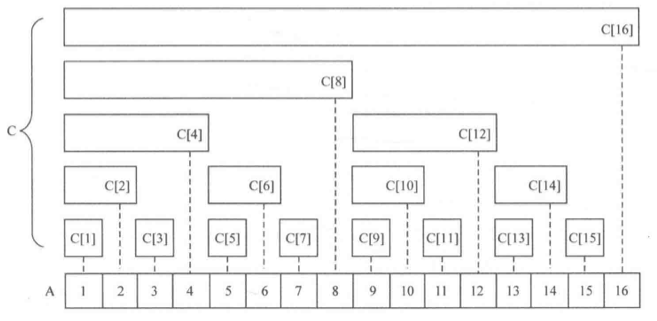
这样我们就可以通过g e t S u m ( j ) − g e t S u m ( i − 1 ) getSum(j) - getSum(i-1)getSum(j)−getSum(i−1)求区间[ i , j ] [i, j][i,j]的和。这个过程就像不断向左上爬,如下图
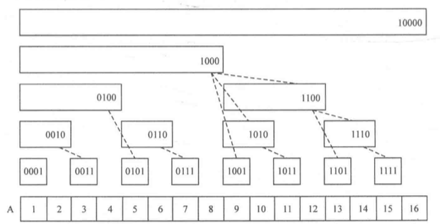
然后看第二个函数,更新A AA中的一个值后如何对树状数组进行更新。还是先看例子,如果更新A [ 6 ] A[6]A[6],我们要去找C CC中哪些项包含了A [ 6 ] A[6]A[6],我们看上图,可以看到包含A [ 6 ] A[6]A[6]的有C [ 6 ] , C [ 8 ] , C [ 16 ] C[6],C[8],C[16]C[6],C[8],C[16],放在上图中,就是寻找包含A [ 6 ] A[6]A[6]的那些矩形。
实际上这就是刚刚求和的逆操作,每次加上一个l o w b i t lowbitlowbit就可以得到下一个位置:
C [ 6 ] : 110 C [ 8 ] : 1000 = 6 + l o w b i t ( 6 ) = 110 + 10 C [ 16 ] : 10000 = 8 + l o w b i t ( 8 ) = 1000 + 1000 \begin{aligned} & C[6]: 110\\ & C[8]: 1000 = 6 + lowbit(6) = 110 + 10\\ & C[16]: 10000 = 8 + lowbit(8) = 1000 + 1000 \end{aligned}C[6]:110C[8]:1000=6+lowbit(6)=110+10C[16]:10000=8+lowbit(8)=1000+1000
这样就可以写出u p d a t e ( n , v ) update(n, v)update(n,v)了:
void update(int n, int v){
for(int i = n; i <= n; i += lowbit(i)){
C[i] += v;
}
}
这个过程就像不断向右上爬,如下图
练习题
4 参考资料
- 《算法笔记》第13章