一、相关配置信息
服务器采用阿里云服务器,ECS实例2核2G,性能突发型,新注册用户,百十来块用一年
镜像是ubuntu_20_04_x64,40G系统盘,记得改名改密码什么的
电脑端win10,软件是xftp(传文件),secureCRT/PUTTY(对服务器进行指令操作)
自行下载,参考的激活码
通过云服务器公网IP地址以及账户密码进行连接
配置完成进行第二步
二、linux下安装JDK
参考这篇Ubuntu20.04安装JDK
如果不熟悉linux可以在官网下载linux系统的JDK安装包然后通过xftp软件传输过去再解压缩
JDK安装测试完成之后,接下来重头戏,安装Neo4j
注意,此处不要安装最新的JDK,也不要老的JDK,中间的版本刚刚好我安装的JDK版本是11.0.14
三、linux下安装Neo4j
自行官网下载,传输过去
参考1
参考2
参考3
安装完成之后
四、配置文件
由于云服务器本身性能限制,conf文件配置是512M到1G内存与10G缓存
Neo4j版本是community的4.4.3,shell语句在conf文件中并无,直接跳过如下的配置,
多少行的位置取决于Neo4j的版本,版本不同所在的行数不同,如下引用参考链接的行位置没有改动,请各位自行查找。
# 修改246行,允许使用neo4j-shell,类似于mysql 命令行之类的
dbms.shell.enabled=true
# 修改235行,去掉#,设置连接neo4j-shell的端口,一般都是localhost或者127.0.0.1,这样安全,其他地址的话,一般使用https就行
dbms.shell.host=127.0.0.1
# 修改250行,去掉#,设置neo4j-shell端口,端口可以自定义,只要不和其他端口冲突就行
dbms.shell.port=1337
其他按照参考1和参考2步骤完成
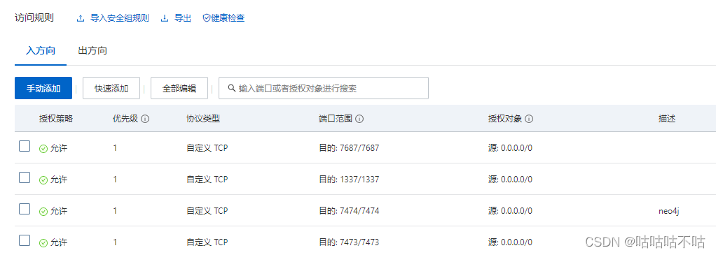
完成之后需要去阿里云服务器管理界面开放相应的端口,7474,7473,7687,(1337我忘了是不是Neo4j还是csgo的,可以自行尝试设置)端口可以任意改动,和conf文件对应即可,这里不推荐开放全部端口
我的如下图
7687应该是是端口映射,也要打开

配置完成之后浏览器输入你的云服务器IP地址:7474/browser/
样例:111.111.111.111:7474/browser/
配置完成默认账户密码都是neo4j

部署完成之后是这样子的
版本号以及相关信息可以自行查阅,随后可以进行测试Cyber语句
近期会写Neo4j与protege的相关操作,xmind、protege、Neo4j等,.owl与.rdf文件的操作
等会在近期更新