一、Scala
1、Scala简介
从英文的角度来讲,Scala并不是一个单词,而是Scalable Language两个单词的缩写,表示可伸缩语言的意思。从计算机的角度来讲,Scala是一门完整的软件编程语言,那么连在一起就表示Scala是一门可伸缩的软件编程语言。之所以说它是可伸缩,是因为这门语言体现了面向对象,函数式编程等多种不同的语言范式,且融合了不同语言新的特性。
Scala编程语言是由联邦理工学院洛桑(EPFL)的Martin Odersky于2001年基于Funnel的工作开始设计并开发的。由于Martin Odersky之前的工作是开发通用Java和Javac(Sun公司的Java编译器),所以基于Java平台的Scala语言于2003年底/2004年初发布。
截至到2020年8月,Scala最新版本为2.13.3,支持JVM和JavaScript
Scala官网:The Scala Programming Language
为什么学习Scala?
主要基于以下几个原因:
- 大数据主要的批处理计算引擎框架Spark是基于Scala语言开发的
- 大数据主要的流式计算引擎框架Flink也提供了Scala相应的API
- 大数据领域中函数式编程的开发效率更高,更直观,更容易理解
Java andScala
Martin Odersky是狂热的编译器爱好者,长时间的编程后,希望开发一种语言,能够让写程序的过程变得简单,高效,所以当接触到Java语言后,感受到了这门语言的魅力,决定将函数式编程语言的特性融合到Java语言中,由此产生了2门语言(Pizza & Scala),这两种语言极大地推动了Java语言的发展
- JDK1.5的泛型,增强for循环,自动类型转换等都是从Pizza语言引入的新特性
- JDK1.8的类型推断,λ(lambda)表达式是从Scala语言引入的新特性
由上可知,Scala语言是基于Java开发的,所以其编译后的文件也是字节码文件,并可以运行在JVM中。
2、Scala环境安装
1)安装JDK 1.8
2)安装Scala2.12
- 解压文件:scala-2.12.11.zip,解压目录要求无中文无空格
- 配置环境变量


3)环境测试
如果出现如下窗口内容,表示环境安装成功:

3)Scala插件安装
默认情况下IDEA不支持Scala的开发,需要安装Scala插件。

如果下载慢的,请访问网址:https://plugins.jetbrains.com/plugin/1347-scala/versions
3、Hello Scala案例
1)创建Maven项目



2)增加Scala框架支持
默认情况,IDEA中创建项目时不支持Scala的开发,需要添加Scala框架的支持。

3)创建类
在main文件目录中创建Scala类:com.yyds.bigdata.scala.HelloScala
package com.yyds.bigdata.scala
object HelloScala {
def main(args: Array[String]): Unit = {
System.out.println("Hello Scala")
println("Hello Scala")
}
}4)代码解析
- object
- def
- args : Array[String]
- Unit
- System.out.println
- println
如果只是通过代码来进行语法的解析,并不能了解其真正的实现原理。scala语言是基于Java语言开发的,所以也会编译为class文件,那么我们可以通过反编译指令javap:
javap -c -l 类名
或反编译工具jd-gui.exe查看scala编译后的代码:

通过对比和java语言之间的关系,来掌握具体代码的实现原理。
- 设置path,classpath环境变量的作用?
- IDEA中哪里是classpath?
5)源码关联
在使用Scala过程中,为了搞清楚Scala底层的机制,需要查看源码,那么就需要关联和查看Scala的源码包。


4、变量和数据类型
1. 注释
Scala注释使用和Java完全一样。注释是一个程序员必须要具有的良好编程习惯。将自己的思想通过注释先整理出来,再用代码去体现。
1)单行注释
package com.yyds.bigdata.scala
object ScalaComment{
def main(args: Array[String]): Unit = {
// 单行注释
}
}2)多行注释
package com.yyds.bigdata.scala
object ScalaComment{
def main(args: Array[String]): Unit = {
/*
多行注释
*/
}
}3)文档注释
package com.yyds.bigdata.scala
/**
* doc注释
*/
object ScalaComment{
def main(args: Array[String]): Unit = {
}
}2. 变量
变量是一种使用方便的占位符,用于引用计算机内存地址,变量创建后会占用一定的内存空间。基于变量的数据类型,操作系统会进行内存分配并且决定什么将被储存在保留内存中。因此,通过给变量分配不同的数据类型,你可以在这些变量中存储整数,小数或者字母。
1)语法声明
变量的类型在变量名之后等号之前声明。
object ScalaVariable {
def main(args: Array[String]): Unit = {
// var | val 变量名 :变量类型 = 变量值
// 用户名称
var username : String = "zhangsan"
// 用户密码
val userpswd : String = "000000"
}
}变量的类型如果能够通过变量值推断出来,那么可以省略类型声明,这里的省略,并不是不声明,而是由Scala编译器在编译时自动声明编译的。
object ScalaVariable {
def main(args: Array[String]): Unit = {
// 因为变量值为字符串,又因为Scala是静态类型语言,所以即使不声明类型
// Scala也能在编译时正确的判断出变量的类型,这体现了Scala语言的简洁特性。
var username = "zhangsan"
val userpswd = "000000"
}
}2)变量初始化
Java语法中变量在使用前进行初始化就可以,但是Scala语法中是不允许的,必须显示进行初始化操作。
object ScalaVariable {
def main(args: Array[String]): Unit = {
var username // Error
val username = "zhangsan" // OK
}
}3)可变变量
值可以改变的变量,称之为可变变量,但是变量类型无法发生改变, Scala中可变变量使用关键字var进行声明。
object ScalaVariable {
def main(args: Array[String]): Unit = {
// 用户名称
var username : String = "zhangsan"
username = "lisi" // OK
username = true // Error
}
}4)不可变变量
值一旦初始化后无法改变的变量,称之为不可变变量。Scala中不可变变量使用关键字val进行声明, 类似于Java语言中的final关键字
object ScalaVariable {
def main(args: Array[String]): Unit = {
// 用户名称
val username : String = "zhangsan"
username = "lisi" // Error
username = true // Error
}
}3. 标识符
Scala 可以使用两种形式的标志符,字符数字和符号。
- 字符数字使用字母或是下划线开头,后面可以接字母或是数字,符号"$"在 Scala 中也看作为字母。然而以"$"开头的标识符为保留的 Scala 编译器产生的标志符使用,应用程序应该避免使用"$"开始的标识符,以免造成冲突。
- Scala 的命名规范采用和 Java 类似的 camel 命名规范,首字符小写,比如 toString。类名的首字符还是使用大写。此外也应该避免使用以下划线结尾的标志符以避免冲突。
- Scala 内部实现时会使用转义的标志符,比如:-> 使用 $colon$minus$greater 来表示这个符号。
// 和Java一样的标识符命名规则
val name = "zhangsan" // OK
val name1 = "zhangsan0" // OK
//val 1name = "zhangsan0" // Error
val name$ = "zhangsan1" // OK
val $name = "zhangsan2" // OK
val name_ = "zhangsan3" // OK
val _name = "zhangsan4" // OK
val $ = "zhangsan5" // OK
val _ = "zhangsan6" // OK
//val 1 = "zhangsan6" // Error
//val true = "zhangsan6" // Error
// 和Java不一样的标识符命名规则
val + = "lisi" // OK
val - = "lisi" // OK
val * = "lisi" // OK
val / = "lisi" // OK
val ! = "lisi" // OK
//val @ = "lisi" // Error
val @@ = "lisi" // OK
//val # = "lisi" // Error
val ## = "lisi" // OK
val % = "lisi" // OK
val ^ = "lisi" // OK
val & = "lisi" // OK
//val ( = "lisi" // Error
//val ( = "lisi" // Error
//val ) = "lisi" // Error
//val = = "lisi" // Error
val == = "lisi" // OK
//val [ = "lisi" // Error
//val ] = "lisi" // Error
//val : = "lisi" // Error
val :: = "lisi" // OK
//val ; = "lisi" // Error
//val ' = "lisi" // Error
//val " = "lisi" // Error
val "" = "lisi" // OK
val < = "lisi" // OK
val > = "lisi" // OK
val ? = "lisi" // OK
val | = "lisi" // OK
val \ = "lisi" // OK
//val ` = "lisi" // Error
val ~ = "lisi" // OK
val :-> = "wangwu" // OK
val :-< = "wangwu" // OK
// 切记,能声明和能使用是两回事Scala 中的标识符也不能是关键字或保留字,那么Scala中有多少关键字或保留字呢?

4. 字符串
在 Scala 中,字符串的类型实际上就是 Java中的 String类,它本身是没有 String 类的。
在 Scala 中,String 是一个不可变的字符串对象,所以该对象不可被修改。这就意味着你如果修改字符串就会产生一个新的字符串对象。
object ScalaString {
def main(args: Array[String]): Unit = {
val name : String = "scala"
val subname : String = name.substring(0,2)
}
}1)字符串连接
object ScalaString {
def main(args: Array[String]): Unit = {
// 字符串连接
println("Hello " + name)
}
}2)传值字符串
object ScalaString {
def main(args: Array[String]): Unit = {
// 传值字符串(格式化字符串)
printf("name=%s\n", name)
}
}3)插值字符串
object ScalaString {
def main(args: Array[String]): Unit = {
// 插值字符串
// 将变量值插入到字符串
println(s"name=${name}")
}
}4)多行字符串
object ScalaString {
def main(args: Array[String]): Unit = {
// 多行格式化字符串
// 在封装JSON或SQL时比较常用
// | 默认顶格符
println(
s"""
| Hello
| ${name}
""".stripMargin)
}
}5. 输入输出
1)输入
从屏幕(控制台)中获取输入:
object ScalaIn {
def main(args: Array[String]): Unit = {
// 标准化屏幕输入
val age : Int = scala.io.StdIn.readInt()
println(age)
}
}从文件中获取输入:
object ScalaIn {
def main(args: Array[String]): Unit = {
// 请注意文件路径的位置
scala.io.Source.fromFile("input/user.json").foreach(
line => {
print(line)
}
)
scala.io.Source.fromFile("input/user.json").getLines()
}
}2)输出
Scala进行文件写操作,用的都是 java中的I/O类:
object ScalaOut {
def main(args: Array[String]): Unit = {
val writer = new PrintWriter(new File("output/test.txt" ))
writer.write("Hello Scala")
writer.close()
}
}3)网络
Scala进行网络数据交互时,采用的也依然是 java中的I/O类:
object TestServer {
def main(args: Array[String]): Unit = {
val server = new ServerSocket(9999)
while ( true ) {
val socket: Socket = server.accept()
val reader = new BufferedReader(
new InputStreamReader(
socket.getInputStream,
"UTF-8"
)
)
var s : String = ""
var flg = true
while ( flg ) {
s = reader.readLine()
if ( s != null ) {
println(s)
} else {
flg = false
}
}
}
}
}
...
object TestClient {
def main(args: Array[String]): Unit = {
val client = new Socket("localhost", 9999)
val out = new PrintWriter(
new OutputStreamWriter(
client.getOutputStream,
"UTF-8"
)
)
out.print("hello Scala")
out.flush()
out.close()
client.close()
}
}6. 数据类型
Scala与Java有着相同的数据类型,但是又有不一样的地方。
1)Java数据类型
Java的数据类型包含基本类型和引用类型
- 基本类型:byte,short,char,int,long,float,double,boolean
- 引用类型:Object,数组,字符串,包装类,集合,POJO对象等
2)Scala数据类型
Scala是完全面向对象的语言,所以不存在基本数据类型的概念,有的只是任意值对象类型(AnyVal)和任意引用对象类型(AnyRef)


7. 类型转换
1)自动类型转化(隐式转换)
object ScalaDataType {
def main(args: Array[String]): Unit = {
val b : Byte = 10
val s : Short = b
val i : Int = s
val lon : Long = i
}
}2)强制类型转化
Java语言:
int a = 10
byte b = (byte)aScala语言:
var a : Int = 10
Var b : Byte = a.toByte
// 基本上Scala的AnyVal类型之间都提供了相应转换的方法。3)字符串类型转化
scala是完全面向对象的语言,所有的类型都提供了toString方法,可以直接转换为字符串:
lon.toString任意类型都提供了和字符串进行拼接的方法:
val i = 10
val s = "hello " + i5、运算符
scala运算符的使用和Java运算符的使用基本相同,只有个别细节上不同。
1)算数运算符
假定变量 A 为 10,B 为 20:

2)关系运算符
假定变量A为10,B为20:

3)赋值运算符

++运算有歧义,容易理解出现错误,所以scala中没有这样的语法,所以采用 +=的方式来代替。
4)逻辑运算符
假定变量 A 为 1,B 为 0:

5)位运算符
如果指定 A = 60; 及 B = 13; 两个变量对应的二进制为:
A = 0011 1100
B = 0000 1101
6) 运算符本质
在Scala中其实是没有运算符的,所有运算符都是方法。
- scala是完全面向对象的语言,所以数字其实也是对象
- 当调用对象的方法时,点.可以省略
- 如果函数参数只有一个,或者没有参数,()可以省略
object ScalaOper {
def main(args: Array[String]): Unit = {
val i : Int = 10
val j : Int = i.+(10)
val k : Int = j +(20)
val m : Int = k + 30
println(m)
}
}6、流程控制
Scala程序代码和所有编程语言代码一样,都会有特定的执行流程顺序,默认情况下是顺序执行,上一条逻辑执行完成后才会执行下一条逻辑,执行期间也可以根据某些条件执行不同的分支逻辑代码。
1. 分支控制
让程序有选择的的执行,分支控制有三种:单分支、双分支、多分支。
1)单分支
IF...ELSE 语句是通过一条或多条语句的执行结果(true或者false)来决定执行的代码块:
if(布尔表达式) {
// 如果布尔表达式为 true 则执行该语句块
}如果布尔表达式为 true 则执行大括号内的语句块,否则跳过大括号内的语句块,执行大括号之后的语句块。
object ScalaBranch {
def main(args: Array[String]): Unit = {
val b = true
if ( b ) {
println("true")
}
}
}2)双分支
if(布尔表达式) {
// 如果布尔表达式为 true 则执行该语句块
} else {
// 如果布尔表达式为 false 则执行该语句块
}如果布尔表达式为 true 则执行接着的大括号内的语句块,否则执行else后的大括号内的语句块。
object ScalaBranch {
def main(args: Array[String]): Unit = {
val b = true
if ( b ) {
println("true")
} else {
println("false")
}
}
}3)多分支
if(布尔表达式1) {
// 如果布尔表达式1为 true,则执行该语句块
} else if ( 布尔表达式2 ) {
// 如果布尔表达式2为 true,则执行该语句块
}...
} else {
// 上面条件都不满足的场合,则执行该语句块
}实现一个小功能:输入年龄,如果年龄小于18岁,则输出“童年”。如果年龄大于等于18且小于等于30,则输出“青年”,如果年龄大于30小于等于50,则输出”中年”,否则,输出“老年”。
object ScalaBranch {
def main(args: Array[String]): Unit = {
val age = 30
if ( age < 18 ) {
println("童年")
} else if ( age <= 30 ) {
println("青年")
} else if ( age <= 50 ) {
println("中年")
} else {
println("老年")
}
}
}实际上,Scala中的表达式都是有返回值的,所以上面的小功能还有其他的实现方式:
object ScalaBranch {
def main(args: Array[String]): Unit = {
val age = 30
val result = if ( age < 18 ) {
"童年"
} else if ( age <= 30 ) {
"青年"
} else if ( age <= 50 ) {
"中年"
} else {
"老年"
}
println(result)
}
}Scala语言中没有三元运算符的,使用if分支判断来代替三元运算符。
2. 循环控制
有的时候,我们可能需要多次执行同一块代码。一般情况下,语句是按顺序执行的:函数中的第一个语句先执行,接着是第二个语句,依此类推。编程语言提供了更为复杂执行路径的多种控制结构。循环语句允许我们多次执行一个语句或语句组
Scala语言提供了以下几种循环类型:

1)for循环
基本语法:
for ( 循环变量 <- 数据集 ) {
循环体
}这里的数据集可以是任意类型的数据集合,如字符串,集合,数组等。
object ScalaLoop {
def main(args: Array[String]): Unit = {
for ( i <- Range(1,5) ) { // 范围集合
println("i = " + i )
}
for ( i <- 1 to 5 ) { // 包含5
println("i = " + i )
}
for ( i <- 1 until 5 ) { // 不包含5
println("i = " + i )
}
}
}循环守卫:
循环时可以增加条件来决定是否继续循环体的执行,这里的判断条件我们称之为循环守卫:
object ScalaLoop {
def main(args: Array[String]): Unit = {
for ( i <- Range(1,5) if i != 3 ) {
println("i = " + i )
}
}
}循环步长:
scala的集合也可以设定循环的增长幅度,也就是所谓的步长step:
object ScalaLoop {
def main(args: Array[String]): Unit = {
for ( i <- Range(1,5,2) ) {
println("i = " + i )
}
for ( i <- 1 to 5 by 2 ) {
println("i = " + i )
}
}
}循环嵌套:
object ScalaLoop {
def main(args: Array[String]): Unit = {
for ( i <- Range(1,5); j <- Range(1,4) ) {
println("i = " + i + ",j = " + j )
}
for ( i <- Range(1,5) ) {
for ( j <- Range(1,4) ) {
println("i = " + i + ",j = " + j )
}
}
}
}请好好体会上面两种嵌套方式的区别。
引入变量:
object ScalaLoop {
def main(args: Array[String]): Unit = {
for ( i <- Range(1,5); j = i - 1 ) {
println("j = " + j )
}
}
}循环返回值:
scala所有的表达式都是有返回值的。但是这里的返回值并不一定都是有值的哟。
如果希望for循环表达式的返回值有具体的值,需要使用关键字yield:
object ScalaLoop {
def main(args: Array[String]): Unit = {
val result = for ( i <- Range(1,5) ) yield {
i * 2
}
println(result)
}
}2)while循环
基本语法:
当循环条件表达式返回值为true时,执行循环体代码:
while( 循环条件表达式 ) {
循环体
}一种特殊的while循环就是,先执行循环体,再判断循环条件是否成立:
do {
循环体
} while ( 循环条件表达式 )while循环:
object ScalaLoop {
def main(args: Array[String]): Unit = {
var i = 0
while ( i < 5 ) {
println(i)
i += 1
}
}
}do...while循环:
object ScalaLoop {
def main(args: Array[String]): Unit = {
var i = 5
do {
println(i)
} while ( i < 5 )
}
}3)循环中断
scala是完全面向对象的语言,所以无法使用break,continue关键字这样的方式来中断,或继续循环逻辑,而是采用了函数式编程的方式代替了循环语法中的break和continue。
object ScalaLoop {
def main(args: Array[String]): Unit = {
scala.util.control.Breaks.breakable {
for ( i <- 1 to 5 ) {
if ( i == 3 ) {
scala.util.control.Breaks.break
}
println(i)
}
}
}
}4)嵌套循环
循环中有循环,就是嵌套循环。通过嵌套循环可以实现特殊的功能,比如说九九乘法表。
7、函数式编程
在之前Java课程的学习中,我们一直学习的就是面向对象编程,所以解决问题都是按照面向对象的方式来处理的。比如用户登陆等业务功能,但是接下来,我们会学习函数式编程,采用函数式编程的思路来解决问题。scala编程语言将函数式编程和面向对象编程完美地融合在一起了。
面向对象编程:
分解对象,行为,属性,然后通过对象的关系以及行为的调用来解决问题。
函数式编程:
将问题分解成一个一个的步骤,将每个步骤进行封装(函数),通过调用这些封装好的功能按照指定的步骤,解决问题。
1. 基础函数编程
1)基本语法
[修饰符] def 函数名 ( 参数列表 ) [:返回值类型] = {
函数体
}
private def test( s : String ) : Unit = {
println(s)
}2)函数&方法
- scala 中存在方法与函数两个不同的概念,二者在语义上的区别很小。scala 方法是类的一部分,而函数是一个对象,可以赋值给一个变量。换句话来说在类中定义的函数即是方法。scala 中的方法跟 Java 的类似,方法是组成类的一部分。scala 中的函数则是一个完整的对象。
- Scala中的方法和函数从语法概念上来讲,一般不好区分,所以简单的理解就是:方法也是函数。只不过类中声明的函数称之为方法,其他场合声明的就是函数了。类中的方法是有重载和重写的。而函数可就没有重载和重写的概念了,但是函数可以嵌套声明使用,方法就没有这个能力了,千万记得哟。
3)函数定义
无参,无返回值:
object ScalaFunction {
def main(args: Array[String]): Unit = {
def fun1(): Unit = {
println("函数体")
}
fun1()
}
}无参,有返回值:
object ScalaFunction {
def main(args: Array[String]): Unit = {
def fun2(): String = {
"zhangsan"
}
println( fun2() )
}
}有参,无返回值:
object ScalaFunction {
def main(args: Array[String]): Unit = {
def fun3( name:String ): Unit = {
println( name )
}
fun3("zhangsan")
}
}有参,有返回值:
object ScalaFunction {
def main(args: Array[String]): Unit = {
def fun4(name:String): String = {
"Hello " + name
}
println( fun4("zhangsan") )
}
}多参,无返回值:
object ScalaFunction {
def main(args: Array[String]): Unit = {
def fun5(hello:String, name:String): Unit = {
println( hello + " " + name )
}
fun5("Hello", "zhangsan")
}
}多参,有返回值:
object ScalaFunction {
def main(args: Array[String]): Unit = {
def fun6(hello:String, name:String): String = {
hello + " " + name
}
println( fun6("Hello", "zhangsan"))
}
}4)函数参数
可变参数:
object ScalaFunction {
def main(args: Array[String]): Unit = {
def fun7(names:String*): Unit = {
println(names)
}
fun7()
fun7( "zhangsan" )
fun7( "zhangsan", "lisi" )
}
}可变参数不能放置在参数列表的前面,一般放置在参数列表的最后:
oobject ScalaFunction {
def main(args: Array[String]): Unit = {
// Error
//def fun77(names:String*, name:String): Unit = {
//}
def fun777( name:String, names:String* ): Unit = {
println( name )
println( names )
}
}
}参数默认值:
object ScalaFunction {
def main(args: Array[String]): Unit = {
def fun8( name:String, password:String = "000000" ): Unit = {
println( name + "," + password )
}
fun8("zhangsan", "123123")
fun8("zhangsan")
}
}带名参数:
object ScalaFunction {
def main(args: Array[String]): Unit = {
def fun9( password:String = "000000", name:String ): Unit = {
println( name + "," + password )
}
fun9("123123", "zhangsan" )
fun9(name="zhangsan")
}
}5)函数至简原则
所谓的至简原则,其实就是Scala的作者为了开发人员能够大幅度提高开发效率。通过编译器的动态判定功能,帮助我们将函数声明中能简化的地方全部都进行了简化。也就是说将函数声明中那些能省的地方全部都省掉。所以这里的至简原则,简单来说就是:能省则省。
省略return关键字:
object ScalaFunction {
def main(args: Array[String]): Unit = {
def fun1(): String = {
return "zhangsan"
}
def fun11(): String = {
"zhangsan"
}
}
}省略花括号:
object ScalaFunction {
def main(args: Array[String]): Unit = {
def fun2(): String = "zhangsan"
}
}省略返回值类型:
object ScalaFunction {
def main(args: Array[String]): Unit = {
def fun3() = "zhangsan"
}
}省略参数列表:
object ScalaFunction {
def main(args: Array[String]): Unit = {
def fun4 = "zhangsan"
fun4// OK
fun4()//(ERROR)
}
}省略等号:
如果函数体中有明确的return语句,那么返回值类型不能省略:
object ScalaFunction {
def main(args: Array[String]): Unit = {
def fun5(): String = {
return "zhangsan"
}
println(fun5())
}
}如果函数体返回值类型明确为Unit, 那么函数体中即使有return关键字也不起作用:
object ScalaFunction {
def main(args: Array[String]): Unit = {
def fun5(): Unit = {
return "zhangsan"
}
println(fun5())
}
}如果函数体返回值类型声明为Unit, 但是又想省略,那么此时就必须连同等号一起省略:
object ScalaFunction {
def main(args: Array[String]): Unit = {
def fun5() {
return "zhangsan"
}
println(fun5())
}
}省略名称和关键字:
object ScalaFunction {
def main(args: Array[String]): Unit = {
() => {
println("zhangsan")
}
}
}2. 高阶函数编程
所谓的高阶函数,其实就是将函数当成一个类型来使用,而不是当成特定的语法结构。
1)函数作为值
object ScalaFunction {
def main(args: Array[String]): Unit = {
def fun1(): String = {
"zhangsan"
}
val a = fun1
val b = fun1 _
val c : ()=>Unit = fun1
println(a)
println(b)
}
}2)函数作为参数
object ScalaFunction {
def main(args: Array[String]): Unit = {
def fun2( i:Int ): Int = {
i * 2
}
def fun22( f : Int => Int ): Int = {
f(10)
}
println(fun22(fun2))
}
}3)函数作为返回值
object ScalaFunction {
def main(args: Array[String]): Unit = {
def fun3( i:Int ): Int = {
i * 2
}
def fun33( ) = {
fun3 _
}
println(fun33()(10))
}
}4)匿名函数
object ScalaFunction {
def main(args: Array[String]): Unit = {
def fun4( f:Int => Int ): Int = {
f(10)
}
println(fun4((x:Int)=>{x * 20}))
println(fun4((x)=>{x * 20}))
println(fun4((x)=>x * 20))
println(fun4(x=>x * 20))
println(fun4(_ * 20))
}
}5)控制抽象
object ScalaFunction {
def main(args: Array[String]): Unit = {
def fun7(op: => Unit) = {
op
}
fun7{
println("xx")
}
}
}6)闭包
object ScalaFunction {
def main(args: Array[String]): Unit = {
def fun5() = {
val i = 20
def fun55() = {
i * 2
}
fun55 _
}
fun5()()
}
}7)函数柯里化
object ScalaFunction {
def main(args: Array[String]): Unit = {
def fun6(i:Int)(j:Int) = {
i * j
}
}
}8)递归函数
object ScalaFunction {
def main(args: Array[String]): Unit = {
def fun8(j:Int):Int = {
if ( j <= 1 ) {
1
} else {
j * fun8(j-1)
}
}
println(fun8(5))
}
}9)惰性函数
当函数返回值被声明为lazy时,函数的执行将被推迟,直到我们首次对此取值,该函数才会执行。这种函数我们称之为惰性函数。
object ScalaFunction {
def main(args: Array[String]): Unit = {
def fun9(): String = {
println("function...")
"zhangsan"
}
lazy val a = fun9()
println("----------")
println(a)
}
}8、面向对象编程
Scala是一门完全面向对象的语言,摒弃了Java中很多不是面向对象的语法。虽然如此,但其面向对象思想和Java的面向对象思想还是一致的
1. 基础面向对象编程
1)包
基本语法:
Scala中基本的package包语法和Java完全一致:
package com.yyds.bigdata.scala扩展语法:
Java中package包的语法比较单一,Scala对此进行扩展
- Scala中的包和类的物理路径没有关系
- package关键字可以嵌套声明使用
package com
package yyds {
package bigdata {
package scala {
object ScalaPackage {
def test(): Unit = {
println("test...")
}
}
}
}
}同一个源码文件中子包可以直接访问父包中的内容,而无需import:
package com
package yyds {
package bigdata {
class Test {
}
package scala {
object ScalaPackage {
def test(): Unit = {
new Test()
}
}
}
}
}Scala中package也可以看作对象,并声明属性和函数:
package com
package object yyds {
val name : String = "zhangsan"
def test(): Unit = {
println( name )
}
}
package yyds {
package bigdata {
package scala {
object ScalaPackage {
def test(): Unit = {
}
}
}
}
}2)导入
基本语法:
Scala中基本的import导入语法和Java完全一致:
import java.util.List
import java.util._ // Scala中使用下划线代替Java中的星号扩展语法:
Java中import导入的语法比较单一,Scala对此进行扩展。
Scala中的import语法可以在任意位置使用:
object ScalaImport{
def main(args: Array[String]): Unit = {
import java.util.ArrayList
new ArrayList()
}
}Scala中可以导包,而不是导类:
object ScalaImport{
def main(args: Array[String]): Unit = {
import java.util
new util.ArrayList()
}
}Scala中可以在同一行中导入相同包中的多个类,简化代码:
import java.util.{List, ArrayList}Scala中可以屏蔽某个包中的类:
import java.util._
import java.sql.{ Date=>_, Array=>_, _ }Scala中可以给类起别名,简化使用:
import java.util.{ArrayList=>AList}
object ScalaImport{
def main(args: Array[String]): Unit = {
new AList()
}
}Scala中可以使用类的绝对路径而不是相对路径:
import _root_.java.util.ArrayList默认情况下,Scala中会导入如下包和对象:
import java.lang._
import scala._
import scala.Predef._3)类
面向对象编程中类可以看成一个模板,而对象可以看成是根据模板所创建的具体事物。
基本语法:
// 声明类:访问权限 class 类名 { 类主体内容 }
class User {
// 类的主体内容
}
// 对象:new 类名(参数列表)
new User()扩展语法:
Scala中一个源文件中可以声明多个公共类。
4)属性
基本语法:
class User {
var name : String = _ // 类属性其实就是类变量
var age : Int = _ // 下划线表示类的属性默认初始化
}扩展语法:
Scala中的属性其实在编译后也会生成方法:
class User {
var name : String = _
val age : Int = 30
private val email : String = _
@BeanProperty var address : String = _
}5)访问权限
Scala中的访问权限和Java中的访问权限类似,但是又有区别:
private : 私有访问权限
private[包名]: 包访问权限
protected : 受保护权限,不能同包
: 公共访问权限6)方法
Scala中的类的方法其实就是函数,所以声明方式完全一样,但是必须通过使用对象进行调用:
object ScalaMethod{
def main(args: Array[String]): Unit = {
val user = new User
user.login("zhangsan", "000000")
}
}
class User {
def login( name:String, password:String ): Boolean = {
false
}
}7)对象
Scala中的对象和Java是类似的。
val | var 对象名 [:类型] = new 类型()
var user : User = new User()8)构造方法
和Java一样,Scala中构造对象也需要调用类的构造方法来创建。并且一个类中可以有任意多个不相同的构造方法。这些构造方法可以分为2大类:主构造函数和辅助构造函数。
class User() { // 主构造函数
var username : String = _
def this( name:String ) { // 辅助构造函数,使用this关键字声明
this() // 辅助构造函数应该直接或间接调用主构造函数
username = name
}
def this( name:String, password:String ) {
this(name) // 构造器调用其他另外的构造器,要求被调用构造器必须提前声明
}
}2. 高阶面向对象编程
1)继承
和Java一样,Scala中的继承也是单继承,且使用extends关键字。
class Person {
}
class User extends Person {
}构造对象时需要考虑构造方法的执行顺序。
2)封装
封装就是把抽象出的数据和对数据的操作封装在一起,数据被保护在内部,程序的其它部分只有通过被授权的操作(成员方法),才能对数据进行访问。
- 将属性进行私有化
- 提供一个公共的set方法,用于对属性赋值
- 提供一个公共的get方法,用于获取属性的值
3)抽象
Scala将一个不完整的类称之为抽象类。
abstract class Person {
}Scala中如果一个方法只有声明而没有实现,那么是抽象方法,因为它不完整。
abstract class Person {
def test():Unit
}Scala中如果一个属性只有声明没有初始化,那么是抽象属性,因为它不完整。
abstract class Person {
var name:String
}子类如果继承抽象类,必须实现抽象方法或补全抽象属性,否则也必须声明为抽象的,因为依然不完整。
abstract class Person {
var name:String
}
class User extends Person {
var name : String = "zhangsan"
}4)单例对象
- 所谓的单例对象,就是在程序运行过程中,指定类的对象只能创建一个,而不能创建多个。这样的对象可以由特殊的设计方式获得,也可以由语言本身设计得到,比如object伴生对象
- Scala语言是完全面向对象的语言,所以并没有静态的操作(即在Scala中没有静态的概念)。但是为了能够和Java语言交互(因为Java中有静态概念),就产生了一种特殊的对象来模拟类对象,该对象为单例对象。若单例对象名与类名一致,则称该单例对象这个类的伴生对象,这个类的所有“静态”内容都可以放置在它的伴生对象中声明,然后通过伴生对象名称直接调用
- 如果类名和伴生对象名称保持一致,那么这个类称之为伴生类。Scala编译器可以通过伴生对象的apply方法创建伴生类对象。apply方法可以重载,并传递参数,且可由Scala编译器自动识别。所以在使用时,其实是可以省略的。
class User { // 伴生类
}
object User { // 伴生对象
def apply() = new User() // 构造伴生类对象
}
...
val user1 = new User()// 通过构造方法创建对象
Val user2 = User.apply() // 通过伴生对象的apply方法构造伴生类对象
val user3 = User() // scala编译器省略apply方法,自动完成调用5)特质
Scala将多个类的相同特征从类中剥离出来,形成一个独立的语法结构,称之为“特质”(特征)。这种方式在Java中称之为接口,但是Scala中没有接口的概念。所以scala中没有interface关键字,而是采用特殊的关键字trait来声明特质, 如果一个类符合某一个特征(特质),那么就可以将这个特征(特质)“混入”到类中。这种混入的操作可以在声明类时使用,也可以在创建类对象时动态使用。
基本语法:
trait 特质名称
class 类名 extends 父类(特质1) with 特质2 with特质3
trait Operator {
}
trait DB{
}
class MySQL extends Operator with DB{
}动态混入:
object ScalaTrait{
def main(args: Array[String]): Unit = {
val mysql = new MySQL with Operator
mysql.insert()
}
}
trait Operator {
def insert(): Unit = {
println("insert data...")
}
}
class MySQL {
}初始化叠加:
object ScalaTrait{
def main(args: Array[String]): Unit = {
val mysql = new MySQL
}
}
trait Operator {
println("operator...")
}
trait DB {
println("db...")
}
class MySQL extends DB with Operator{
println("mysql...")
}功能叠加:
object ScalaTrait {
def main(args: Array[String]): Unit = {
val mysql: MySQL = new MySQL
mysql.operData()
}
}
trait Operate{
def operData():Unit={
println("操作数据。。")
}
}
trait DB extends Operate{
override def operData(): Unit = {
print("向数据库中。。")
super.operData()
}
}
trait Log extends Operate{
override def operData(): Unit = {
super.operData()
}
}
class MySQL extends DB with Log {
}6)扩展
类型检查和转换:
class Person{
}
object Person {
def main(args: Array[String]): Unit = {
val person = new Person
//(1)判断对象是否为某个类型的实例
val bool: Boolean = person.isInstanceOf[Person]
if ( bool ) {
//(2)将对象转换为某个类型的实例
val p1: Person = person.asInstanceOf[Person]
println(p1)
}
//(3)获取类的信息
val pClass: Class[Person] = classOf[Person]
println(pClass)
}
}枚举类和应用类:
object Test {
def main(args: Array[String]): Unit = {
println(Color.RED)
}
}
// 枚举类
object Color extends Enumeration {
val RED = Value(1, "red")
val YELLOW = Value(2, "yellow")
val BLUE = Value(3, "blue")
}
// 应用类
object AppTest extends App {
println("application");
}Type定义新类型:
使用type关键字可以定义新的数据数据类型名称,本质上就是类型的一个别名:
object Test {
def main(args: Array[String]): Unit = {
type S = String
var v : S = "abc"
}
}9、集合
Scala的集合有三大类:序列Seq、集Set、映射Map,所有的集合都扩展自Iterable特质。对于几乎所有的集合类,Scala都同时提供了可变和不可变的版本。
可变集合可以在适当的地方被更新或扩展。这意味着你可以修改,添加,移除一个集合的元素。而不可变集合类,相比之下,永远不会改变。不过,你仍然可以模拟添加,移除或更新操作。但是这些操作将在每一种情况下都返回一个新的集合,同时使原来的集合不发生改变,所以这里的不可变并不是变量本身的值不可变,而是变量指向的那个内存地址不可变
可变集合和不可变集合,在scala中该如何进行区分呢?我们一般可以根据集合所在包名进行区分:
- scala.collection.immutable

- scala.collection.mutable

1. 数组
1)不可变数组
基本语法:
object ScalaCollection{
def main(args: Array[String]): Unit = {
//(1)数组定义
val arr01 = new Array[Int](4)
println(arr01.length) // 4
//(2)数组赋值
//(2.1)修改某个元素的值
arr01(3) = 10
val i = 10
arr01(i/3) = 20
//(2.2)采用方法的形式修改数组的值
arr01.update(0,1)
//(3)遍历数组
//(3.1)查看数组
println(arr01.mkString(","))
//(3.2)普通遍历
for (i <- arr01) {
println(i)
}
//(3.3)简化遍历
def printx(elem:Int): Unit = {
println(elem)
}
arr01.foreach(printx)
arr01.foreach((x)=>{println(x)})
arr01.foreach(println(_))
arr01.foreach(println)
}
}基本操作:
object ScalaCollection{
def main(args: Array[String]): Unit = {
// 创建数组的另外一种方式
val arr1 = Array(1,2,3,4)
val arr2 = Array(5,6,7,8)
// 添加数组元素,创建新数组
val arr3: Array[Int] = arr1 :+ 5
println( arr1 eq arr3 ) // false
val arr4: Array[Int] = arr1 ++: arr2
// 添加集合
val arr5: Array[Int] = arr1 ++ arr2
arr4.foreach(println)
println("****************")
arr5.foreach(println)
println("****************")
// 多维数组
var myMatrix = Array.ofDim[Int](3,3)
myMatrix.foreach(list=>list.foreach(println))
// 合并数组
val arr6: Array[Int] = Array.concat(arr1, arr2)
arr6.foreach(println)
// 创建指定范围的数组
val arr7: Array[Int] = Array.range(0,2)
arr7.foreach(println)
// 创建并填充指定数量的数组
val arr8:Array[Int] = Array.fill[Int](5)(-1)
arr8.foreach(println)
}
}2)可变数组
基本语法:
import scala.collection.mutable.ArrayBuffer
object ScalaCollection{
def main(args: Array[String]): Unit = {
val buffer = new ArrayBuffer[Int]
// 增加数据
buffer.append(1,2,3,4)
// 修改数据
buffer.update(0,5)
buffer(1) = 6
// 删除数据
val i: Int = buffer.remove(2)
buffer.remove(2,2)
// 查询数据
println(buffer(3))
// 循环集合
for ( i <- buffer ) {
println(i)
}
}
}基本操作:
import scala.collection.mutable.ArrayBuffer
object ScalaCollection{
def main(args: Array[String]): Unit = {
val buffer1 = ArrayBuffer(1,2,3,4)
val buffer2 = ArrayBuffer(5,6,7,8)
val buffer3: ArrayBuffer[Int] = buffer1 += 5
println( buffer1 eq buffer3 ) // true
// 使用 ++ 运算符会产生新的集合数组
val buffer4: ArrayBuffer[Int] = buffer1 ++ buffer2
// 使用 ++= 运算符会更新之前的集合,不会产生新的数组
val buffer5: ArrayBuffer[Int] = buffer1 ++= buffer2
println( buffer1 eq buffer4 ) // false
println( buffer1 eq buffer5 ) // true
}
}3)可变数组和不可变数组转换
import scala.collection.mutable
import scala.collection.mutable.ArrayBuffer
object ScalaCollection{
def main(args: Array[String]): Unit = {
val buffer = ArrayBuffer(1,2,3,4)
val array = Array(4,5,6,7)
// 将不可变数组转换为可变数组
val buffer1: mutable.Buffer[Int] = array.toBuffer
// 将可变数组转换为不可变数组
val array1: Array[Int] = buffer.toArray
}
}2. Seq集合
1)不可变List
基本语法:
object ScalaCollection{
def main(args: Array[String]): Unit = {
// Seq集合
val list = List(1,2,3,4)
// 增加数据
val list1: List[Int] = list :+ 1
println(list1 eq list)
list1.foreach(println)
val list2: List[Int] = 1 +: list
list2.foreach(println)
println("*****************")
val list3: List[Int] = list.updated(1,5)
println(list eq list3)
List3.foreach(println)
}
}基本操作:
object ScalaCollection{
def main(args: Array[String]): Unit = {
// Seq集合
val list1 = List(1,2,3,4)
// 空集合
val list2: List[Nothing] = List()
val nil = Nil
println(list2 eq nil)
// 创建集合
val list3: List[Int] = 1::2::3::Nil
val list4: List[Int] = list1 ::: Nil
// 连接集合
val list5: List[Int] = List.concat(list3, list4)
list5.foreach(println)
// 创建一个指定重复数量的元素列表
val list6: List[String] = List.fill[String](3)("a")
list6.foreach(println)
}
}2)可变List
基本语法:
import scala.collection.mutable.ListBuffer
object ScalaCollection{
def main(args: Array[String]): Unit = {
// 可变集合
val buffer = new ListBuffer[Int]()
// 增加数据
buffer.append(1,2,3,4)
// 修改数据
buffer.update(1,3)
// 删除数据
buffer.remove(2)
buffer.remove(2,2)
// 获取数据
println(buffer(1))
// 遍历集合
buffer.foreach(println)
}
}基本操作:
import scala.collection.mutable.ListBuffer
object ScalaCollection{
def main(args: Array[String]): Unit = {
// 可变集合
val buffer1 = ListBuffer(1,2,3,4)
val buffer2 = ListBuffer(5,6,7,8)
// 增加数据
val buffer3: ListBuffer[Int] = buffer1 :+ 5
val buffer4: ListBuffer[Int] = buffer1 += 5
val buffer5: ListBuffer[Int] = buffer1 ++ buffer2
val buffer6: ListBuffer[Int] = buffer1 ++= buffer2
println( buffer5 eq buffer1 )
println( buffer6 eq buffer1 )
val buffer7: ListBuffer[Int] = buffer1 - 2
val buffer8: ListBuffer[Int] = buffer1 -= 2
println( buffer7 eq buffer1 )
println( buffer8 eq buffer1 )
}
}3)可变集合和不可变集合转换
import scala.collection.mutable
import scala.collection.mutable.ListBuffer
object ScalaCollection{
def main(args: Array[String]): Unit = {
val buffer = ListBuffer(1,2,3,4)
val list = List(5,6,7,8)
// 可变集合转变为不可变集合
val list1: List[Int] = buffer.toList
// 不可变集合转变为可变集合
val buffer1: mutable.Buffer[Int] = list.toBuffer
}
}3. Set集合
1)不可变Set
基本语法:
object ScalaCollection{
def main(args: Array[String]): Unit = {
val set1 = Set(1,2,3,4)
val set2 = Set(5,6,7,8)
// 增加数据
val set3: Set[Int] = set1 + 5 + 6
val set4: Set[Int] = set1.+(6,7,8)
println( set1 eq set3 ) // false
println( set1 eq set4 ) // false
set4.foreach(println)
// 删除数据
val set5: Set[Int] = set1 - 2 - 3
set5.foreach(println)
val set6: Set[Int] = set1 ++ set2
set6.foreach(println)
println("********")
val set7: Set[Int] = set2 ++: set1
set7.foreach(println)
println(set6 eq set7)
}
}基本操作:
object ScalaCollection{
def main(args: Array[String]): Unit = {
val set1 = Set(1,2,3,4)
val set2 = Set(5,6,7,8)
// 增加数据
val set3: Set[Int] = set1 + 5 + 6
val set4: Set[Int] = set1.+(6,7,8)
println( set1 eq set3 ) // false
println( set1 eq set4 ) // false
set4.foreach(println)
// 删除数据
val set5: Set[Int] = set1 - 2 - 3
set5.foreach(println)
val set6: Set[Int] = set1 ++ set2
set6.foreach(println)
println("********")
val set7: Set[Int] = set2 ++: set1
set7.foreach(println)
println(set6 eq set7)
}
}2)可变Set
基本语法:
import scala.collection.mutable
object ScalaCollection{
def main(args: Array[String]): Unit = {
val set1 = mutable.Set(1,2,3,4)
val set2 = mutable.Set(5,6,7,8)
// 增加数据
set1.add(5)
// 添加数据
set1.update(6,true)
println(set1.mkString(","))
// 删除数据
set1.update(3,false)
println(set1.mkString(","))
// 删除数据
set1.remove(2)
println(set1.mkString(","))
// 遍历数据
set1.foreach(println)
}
}基本操作:
import scala.collection.mutable
object ScalaCollection{
def main(args: Array[String]): Unit = {
val set1 = mutable.Set(1,2,3,4)
val set2 = mutable.Set(4,5,6,7)
// 交集
val set3: mutable.Set[Int] = set1 & set2
println(set3.mkString(","))
// 差集
val set4: mutable.Set[Int] = set1 &~ set2
println(set4.mkString(","))
}
}4. Map集合
Map(映射)是一种可迭代的键值对(key/value)结构。所有的值都可以通过键来获取。Map 中的键都是唯一的。
1)不可变Map
基本语法:
object ScalaCollection{
def main(args: Array[String]): Unit = {
val map1 = Map( "a" -> 1, "b" -> 2, "c" -> 3 )
val map2 = Map( "d" -> 4, "e" -> 5, "f" -> 6 )
// 添加数据
val map3 = map1 + ("d" -> 4)
println(map1 eq map3) // false
// 删除数据
val map4 = map3 - "d"
println(map4.mkString(","))
val map5: Map[String, Int] = map1 ++ map2
println(map5 eq map1)
println(map5.mkString(","))
val map6: Map[String, Int] = map1 ++: map2
println(map6 eq map1)
println(map6.mkString(","))
// 修改数据
val map7: Map[String, Int] = map1.updated("b", 5)
println(map7.mkString(","))
// 遍历数据
map1.foreach(println)
}
}基本操作:
object ScalaCollection{
def main(args: Array[String]): Unit = {
val map1 = Map( "a" -> 1, "b" -> 2, "c" -> 3 )
val map2 = Map( "d" -> 4, "e" -> 5, "f" -> 6 )
// 创建空集合
val empty: Map[String, Int] = Map.empty
println(empty)
// 获取指定key的值
val i: Int = map1.apply("c")
println(i)
println(map1("c"))
// 获取可能存在的key值
val maybeInt: Option[Int] = map1.get("c")
// 判断key值是否存在
if ( !maybeInt.isEmpty ) {
// 获取值
println(maybeInt.get)
} else {
// 如果不存在,获取默认值
println(maybeInt.getOrElse(0))
}
// 获取可能存在的key值, 如果不存在就使用默认值
println(map1.getOrElse("c", 0))
}
}2)可变Map
基本语法:
import scala.collection.mutable
object ScalaCollection{
def main(args: Array[String]): Unit = {
val map1 = mutable.Map( "a" -> 1, "b" -> 2, "c" -> 3 )
val map2 = mutable.Map( "d" -> 4, "e" -> 5, "f" -> 6 )
// 添加数据
map1.put("d", 4)
val map3: mutable.Map[String, Int] = map1 + ("e" -> 4)
println(map1 eq map3)
val map4: mutable.Map[String, Int] = map1 += ("e" -> 5)
println(map1 eq map4)
// 修改数据
map1.update("e",8)
map1("e") = 8
// 删除数据
map1.remove("e")
val map5: mutable.Map[String, Int] = map1 - "e"
println(map1 eq map5)
val map6: mutable.Map[String, Int] = map1 -= "e"
println(map1 eq map6)
// 清除集合
map1.clear()
}
}基本操作:
import scala.collection.mutable
object ScalaCollection{
def main(args: Array[String]): Unit = {
val map1 = mutable.Map( "a" -> 1, "b" -> 2, "c" -> 3 )
val map2 = mutable.Map( "d" -> 4, "e" -> 5, "f" -> 6 )
val set: Set[(String, Int)] = map1.toSet
val list: List[(String, Int)] = map1.toList
val seq: Seq[(String, Int)] = map1.toSeq
val array: Array[(String, Int)] = map1.toArray
println(set.mkString(","))
println(list.mkString(","))
println(seq.mkString(","))
println(array.mkString(","))
println(map1.get("a"))
println(map1.getOrElse("a", 0))
println(map1.keys)
println(map1.keySet)
println(map1.keysIterator)
println(map1.values)
println(map1.valuesIterator)
}
}5. 元组
在Scala语言中,我们可以将多个无关的数据元素封装为一个整体,这个整体我们称之为:元素组合,简称元组。有时也可将元组看成容纳元素的容器,其中最多只能容纳22个
object ScalaCollection{
def main(args: Array[String]): Unit = {
// 创建元组,使用小括号
val tuple = (1, "zhangsan", 30)
// 根据顺序号访问元组的数据
println(tuple._1)
println(tuple._2)
println(tuple._3)
// 迭代器
val iterator: Iterator[Any] = tuple.productIterator
// 根据索引访问元素
tuple.productElement(0)
// 如果元组的元素只有两个,那么我们称之为对偶元组,也称之为键值对
val kv: (String, Int) = ("a", 1)
val kv1: (String, Int) = "a" -> 1
println( kv eq kv1 )
}
}6. 队列
Scala也提供了队列(Queue)的数据结构,队列的特点就是先进先出。进队和出队的方法分别为enqueue和dequeue。
import scala.collection.mutable
object ScalaCollection{
def main(args: Array[String]): Unit = {
val que = new mutable.Queue[String]()
// 添加元素
que.enqueue("a", "b", "c")
val que1: mutable.Queue[String] = que += "d"
println(que eq que1)
// 获取元素
println(que.dequeue())
println(que.dequeue())
println(que.dequeue())
}
}7. 并行
Scala为了充分使用多核CPU,提供了并行集合(有别于前面的串行集合),用于多核环境的并行计算。
object ScalaCollection{
def main(args: Array[String]): Unit = {
val result1 = (0 to 100).map{x => Thread.currentThread.getName}
val result2 = (0 to 100).par.map{x => Thread.currentThread.getName}
println(result1)
println(result2)
}
}8. 常用方法
常用方法:
object ScalaCollection{
def main(args: Array[String]): Unit = {
val list = List(1,2,3,4)
// 集合长度
println("size =>" + list.size)
println("length =>" + list.length)
// 判断集合是否为空
println("isEmpty =>" + list.isEmpty)
// 集合迭代器
println("iterator =>" + list.iterator)
// 循环遍历集合
list.foreach(println)
// 将集合转换为字符串
println("mkString =>" + list.mkString(","))
// 判断集合中是否包含某个元素
println("contains =>" + list.contains(2))
// 取集合的前几个元素
println("take =>" + list.take(2))
// 取集合的后几个元素
println("takeRight =>" + list.takeRight(2))
// 查找元素
println("find =>" + list.find(x => x % 2== 0))
// 丢弃前几个元素
println("drop =>" + list.drop(2))
// 丢弃后几个元素
println("dropRight =>" + list.dropRight(2))
// 反转集合
println("reverse =>" + list.reverse)
// 去重
println("distinct =>" + list.distinct)
}
}衍生集合:
object ScalaCollection{
def main(args: Array[String]): Unit = {
val list = List(1,2,3,4)
val list1 = List(1,2,3,4)
val list2 = List(3,4,5,6)
// 集合头
println("head => " + list.head)
// 集合尾
println("tail => " + list.tail)
// 集合尾迭代
println("tails => " + list.tails)
// 集合初始值
println("init => " + list.init)
// 集合初始值迭代
println("inits => " + list.inits)
// 集合最后元素
println("last => " + list.last)
// 集合并集
println("union => " + list.union(list1))
// 集合交集
println("intersect => " + list.intersect(list1))
// 集合差集
println("diff => " + list.diff(list1))
// 切分集合
println("splitAt => " + list.splitAt(2))
// 滑动(窗口)
println("sliding => " + list.sliding(2))
// 滚动(没有重复)
println("sliding => " + list.sliding(2,2))
// 拉链
println("zip => " + list.zip(list1))
// 数据索引拉链
println("zipWithIndex => " + list.zipWithIndex)
}
}计算函数:
object ScalaCollection{
def main(args: Array[String]): Unit = {
val list = List(1,2,3,4)
val list1 = List(3,4,5,6)
// 集合最小值
println("min => " + list.min)
// 集合最大值
println("max => " + list.max)
// 集合求和
println("sum => " + list.sum)
// 集合乘积
println("product => " + list.product)
// 集合简化规约
println("reduce => " + list.reduce((x:Int,y:Int)=>{x+y}))
println("reduce => " + list.reduce((x,y)=>{x+y}))
println("reduce => " + list.reduce((x,y)=>x+y))
println("reduce => " + list.reduce(_+_))
// 集合简化规约(左)
println("reduceLeft => " + list.reduceLeft(_+_))
// 集合简化规约(右)
println("reduceRight => " + list.reduceRight(_+_))
// 集合折叠
println("fold => " + list.fold(0)(_+_))
// 集合折叠(左)
println("foldLeft => " + list.foldLeft(0)(_+_))
// 集合折叠(右)
println("foldRight => " + list.foldRight(0)(_+_))
// 集合扫描
println("scan => " + list.scan(0)(_+_))
// 集合扫描(左)
println("scanLeft => " + list.scanLeft(0)(_+_))
// 集合扫描(右)
println("scanRight => " + list.scanRight(0)(_+_))
}
}功能函数:
object ScalaCollection{
def main(args: Array[String]): Unit = {
val list = List(1,2,3,4)
// 集合映射
println("map => " + list.map(x=>{x*2}))
println("map => " + list.map(x=>x*2))
println("map => " + list.map(_*2))
// 集合扁平化
val list1 = List(
List(1,2),
List(3,4)
)
println("flatten =>" + list1.flatten)
// 集合扁平映射
println("flatMap =>" + list1.flatMap(list=>list))
// 集合过滤数据
println("filter =>" + list.filter(_%2 == 0))
// 集合分组数据
println("groupBy =>" + list.groupBy(_%2))
// 集合排序
println("sortBy =>" + list.sortBy(num=>num)(Ordering.Int.reverse))
println("sortWith =>" + list.sortWith((left, right) => {left < right}))
}
}9. 案例实操 - WordCount TopN
1)数据准备
Hello Scala
Hello Spark
Hello Hadoop2. 功能实现
object ScalaWordCount{
def main(args: Array[String]): Unit = {
val list: List[String] = Source.fromFile("input/word.txt").getLines().toList
val wordList: List[String] = list.flatMap(_.split(" "))
val word2OneList: List[(String, Int)] = wordList.map((_,1))
val word2ListMap: Map[String, List[(String, Int)]] = word2OneList.groupBy(_._1)
val word2CountMap: Map[String, Int] = word2ListMap.map(
kv => {
(kv._1, kv._2.size)
}
)
println(word2CountMap)
}
} 3. 另外一种WordCount
val dataList = List(
("Hello Scala", 4), ("Hello Spark", 2)
)10、模式匹配
Scala中的模式匹配类似于Java中的switch语法,但是scala从语法中补充了更多的功能,可以按照指定的规则对数据或对象进行匹配, 所以更加强大。
int i = 20
switch (i) {
default :
System.out.println("other number");
break;
case 10 :
System.out.println("10");
//break;
case 20 :
System.out.println("20");
break;
}1. 基本语法
模式匹配语法中,采用match关键字声明,每个分支采用case关键字进行声明,当需要匹配时,会从第一个case分支开始,如果匹配成功,那么执行对应的逻辑代码,如果匹配不成功,继续执行下一个分支进行判断。如果所有case都不匹配,那么会执行case _分支,类似于Java中default语句。如果不存在case _分支,那么会发生错误。
object ScalaMatch{
def main(args: Array[String]): Unit = {
var a: Int = 10
var b: Int = 20
var operator: Char = 'd'
var result = operator match {
case '+' => a + b
case '-' => a - b
case '*' => a * b
case '/' => a / b
case _ => "illegal"
}
println(result)
}
}2. 匹配规则
1)匹配常量
def describe(x: Any) = x match {
case 5 => "Int five"
case "hello" => "String hello"
case true => "Boolean true"
case '+' => "Char +"
}2)匹配类型
def describe(x: Any) = x match {
case i: Int => "Int"
case s: String => "String hello"
case m: List[_] => "List"
case c: Array[Int] => "Array[Int]"
case someThing => "something else " + someThing
}3)匹配数组
for (arr <- Array(Array(0), Array(1, 0), Array(0, 1, 0), Array(1, 1, 0), Array(1, 1, 0, 1), Array("hello", 90))) { // 对一个数组集合进行遍历
val result = arr match {
case Array(0) => "0" //匹配Array(0) 这个数组
case Array(x, y) => x + "," + y //匹配有两个元素的数组,然后将将元素值赋给对应的x,y
case Array(0, _*) => "以0开头的数组" //匹配以0开头和数组
case _ => "something else"
}
println("result = " + result)
}4)匹配列表
for (list <- Array(List(0), List(1, 0), List(0, 0, 0), List(1, 0, 0), List(88))) {
val result = list match {
case List(0) => "0" //匹配List(0)
case List(x, y) => x + "," + y //匹配有两个元素的List
case List(0, _*) => "0 ..."
case _ => "something else"
}
println(result)
}
val list: List[Int] = List(1, 2, 5, 6, 7)
list match {
case first :: second :: rest => println(first + "-" + second + "-" + rest)
case _ => println("something else")
}5)匹配元组
for (tuple <- Array((0, 1), (1, 0), (1, 1), (1, 0, 2))) {
val result = tuple match {
case (0, _) => "0 ..." //是第一个元素是0的元组
case (y, 0) => "" + y + "0" // 匹配后一个元素是0的对偶元组
case (a, b) => "" + a + " " + b
case _ => "something else" //默认
}
println(result)
}6)匹配对象
class User(val name: String, val age: Int)
object User{
def apply(name: String, age: Int): User = new User(name, age)
def unapply(user: User): Option[(String, Int)] = {
if (user == null)
None
else
Some(user.name, user.age)
}
}
val user: User = User("zhangsan", 11)
val result = user match {
case User("zhangsan", 11) => "yes"
case _ => "no"
}7)样例类
- 样例类就是使用case关键字声明的类
- 样例类仍然是类,和普通类相比,只是其自动生成了伴生对象,并且伴生对象中自动提供了一些常用的方法,如apply、unapply、toString、equals、hashCode和copy。
- 样例类是为模式匹配而优化的类,因为其默认提供了unapply方法,因此,样例类可以直接使用模式匹配,而无需自己实现unapply方法。
构造器中的每一个参数都成为val,除非它被显式地声明为var(不建议这样做)
case class User(name: String, var age: Int)
object ScalaCaseClass {
def main(args: Array[String]): Unit = {
val user: User = User("zhangsan", 11)
val result = user match {
case User("zhangsan", 11) => "yes"
case _ => "no"
}
println(result)
}
}3. 应用场景
1)变量声明
object ScalaMatch {
def main(args: Array[String]): Unit = {
val (x, y) = (1, 2)
println(s"x=$x,y=$y")
val Array(first, second, _*) = Array(1, 7, 2, 9)
println(s"first=$first,second=$second")
val Person(name, age) = Person("zhangsan", 16)
println(s"name=$name,age=$age")
}
case class Person(name: String, age: Int)
}2)循环匹配
object ScalaMatch {
def main(args: Array[String]): Unit = {
val map = Map("A" -> 1, "B" -> 0, "C" -> 3)
for ((k, v) <- map) { //直接将map中的k-v遍历出来
println(k + " -> " + v) //3个
}
println("----------------------")
//遍历value=0的 k-v ,如果v不是0,过滤
for ((k, 0) <- map) {
println(k + " --> " + 0) // B->0
}
println("----------------------")
//if v == 0 是一个过滤的条件
for ((k, v) <- map if v >= 1) {
println(k + " ---> " + v) // A->1 和 c->33
}
}
}3)函数参数
object ScalaMatch {
def main(args: Array[String]): Unit = {
val list = List(
("a", 1), ("b", 2), ("c", 3)
)
val list1 = list.map {
case ( k, v ) => {
(k, v*2)
}
}
println(list1)
}
}4)偏函数
所谓的偏函数,其实就是对集合中符合条件的数据进行处理的函数
偏函数也是函数的一种,通过偏函数我们可以方便的对输入参数做更精确的检查。例如该偏函数的输入类型为Int,但是我们只考虑数值为1的时候,数据该如何处理,其他不考虑。
基本语法:
// 声明偏函数
val pf: PartialFunction[Int, String] = { case 1 => "one" }
。。。
// 应用偏函数
println(List(1, 2, 3, 4).collect(pf))案例实操:
将该List(1,2,3,4,5,6,"test")中的Int类型的元素加一,并去掉字符串。
不使用偏函数:
List(1,2,3,4,5,6,"test").filter(_.isInstanceOf[Int]).map(_.asInstanceOf[Int] + 1).foreach(println)使用偏函数:
List(1, 2, 3, 4, 5, 6, "test").collect { case x: Int => x + 1 }.foreach(println)11、异常
Scala异常语法处理上和Java类似,但是又不尽相同。
Java异常:
try {
int a = 10;
int b = 0;
int c = a / b;
} catch (ArithmeticException e){
// catch时,需要将范围小的写到前面
e.printStackTrace();
} catch (Exception e){
e.printStackTrace();
} finally {
System.out.println("finally");
}1. 基本语法
object ScalaException {
def main(args: Array[String]): Unit = {
try {
var n= 10 / 0
} catch {
case ex: ArithmeticException=>{
// 发生算术异常
println("发生算术异常")
}
case ex: Exception=>{
// 对异常处理
println("发生了异常1")
}
} finally {
println("finally")
}
}
}Scala中的异常不区分所谓的编译时异常和运行时异常,也无需显示抛出方法异常,所以Scala中没有throws关键字。
- 如果Java程序调用scala代码,如何明确异常?
增加注解 @throws(Exception)。
12、隐式转换
在之前的类型学习中,我们已经学习了自动类型转换,精度小的类型可以自动转换为精度大的类型,这个转换过程无需开发人员参与,由编译器自动完成,这个转换操作我们称之为隐式转换。
在其他的场合,隐式转换也起到了非常重要的作用。如Scala在程序编译错误时,可以通过隐式转换中类型转换机制尝试进行二次编译,将本身错误无法编译通过的代码通过类型转换后编译通过。慢慢地,这也形成了一种扩展功能的转换机制。这个听着很抽象,不好理解,不急,咱慢慢体会。
1. 隐式函数
object ScalaImplicit {
def main(args: Array[String]): Unit = {
implicit def transform( d : Double ): Int = {
d.toInt
}
var d : Double = 2.0
val i : Int = d
println(i)
}
}2. 隐式参数 & 隐式变量
object ScalaImplicit {
def main(args: Array[String]): Unit = {
def transform( implicit d : Double ) = {
d.toInt
}
implicit val dd : Double = 2.0
println(transform)
}
}3. 隐式类
在Scala2.10后提供了隐式类,可以使用implicit声明类,隐式类非常强大,同样可以扩展类的功能,在集合的数据处理中,隐式类发挥了重要的作用。
- 其所带的构造参数有且只能有一个
- 隐式类必须被定义在“类”或“伴生对象”或“包对象”里,即隐式类不能是顶级的。
object ScalaImplicit {
def main(args: Array[String]): Unit = {
val emp = new Emp()
emp.insertUser()
}
class Emp {
}
implicit class User( emp : Emp) {
def insertUser(): Unit = {
println("insert user...")
}
}
}4. 隐式机制
所谓的隐式机制,就是一旦出现编译错误时,编译器会从哪些地方查找对应的隐式转换规则
- 当前代码作用域
- 当前代码上级作用域
- 当前类所在的包对象
- 当前类(对象)的父类(父类)或特质(父特质)
其实最直接的方式就是直接导入。
13、泛型
Scala的泛型和Java中的泛型表达的含义都是一样的,对处理的数据类型进行约束,但是Scala提供了更加强大的功能:
class Test[A] {
private var elements: List[A] = Nil
}1. 泛型转换
Scala的泛型可以根据功能进行改变。
1)泛型不可变
object ScalaGeneric {
def main(args: Array[String]): Unit = {
val test1 : Test[User] = new Test[User] // OK
val test2 : Test[User] = new Test[Parent] // Error
val test3 : Test[User] = new Test[SubUser] // Error
}
class Test[T] {
}
class Parent {
}
class User extends Parent{
}
class SubUser extends User {
}
}2)泛型协变
object ScalaGeneric {
def main(args: Array[String]): Unit = {
val test1 : Test[User] = new Test[User] // OK
val test2 : Test[User] = new Test[Parent] // Error
val test3 : Test[User] = new Test[SubUser] // OK
}
class Test[+T] {
}
class Parent {
}
class User extends Parent{
}
class SubUser extends User {
}
}3)泛型逆变
object ScalaGeneric {
def main(args: Array[String]): Unit = {
val test1 : Test[User] = new Test[User] // OK
val test2 : Test[User] = new Test[Parent] // OK
val test3 : Test[User] = new Test[SubUser] // Error
}
class Test[-T] {
}
class Parent {
}
class User extends Parent{
}
class SubUser extends User {
}
}2. 泛型边界
Scala的泛型可以根据功能设定类树的边界。
object ScalaGeneric {
def main(args: Array[String]): Unit = {
val parent : Parent = new Parent()
val user : User = new User()
val subuser : SubUser = new SubUser()
test[User](parent) // Error
test[User](user) // OK
test[User](subuser) // OK
}
def test[A]( a : A ): Unit = {
println(a)
}
class Parent {
}
class User extends Parent{
}
class SubUser extends User {
}
}1)泛型上限
object ScalaGeneric {
def main(args: Array[String]): Unit = {
val parent : Parent = new Parent()
val user : User = new User()
val subuser : SubUser = new SubUser()
test[Parent](parent) // Error
test[User](user) // OK
test[SubUser](subuser) // OK
}
def test[A<:User]( a : A ): Unit = {
println(a)
}
class Parent {
}
class User extends Parent{
}
class SubUser extends User {
}
}2)泛型下限
object ScalaGeneric {
def main(args: Array[String]): Unit = {
val parent : Parent = new Parent()
val user : User = new User()
val subuser : SubUser = new SubUser()
test[Parent](parent) // OK
test[User](user) // OK
test[SubUser](subuser) // Error
}
def test[A>:User]( a : A ): Unit = {
println(a)
}
class Parent {
}
class User extends Parent{
}
class SubUser extends User {
}
}3. 上下文限定
上下文限定是将泛型和隐式转换的结合产物,以下两者功能相同,使用上下文限定[A : Ordering]之后,方法内无法使用隐式参数名调用隐式参数,需要通过implicitly[Ordering[A]]获取隐式变量,如果此时无法查找到对应类型的隐式变量,会发生出错误。
object ScalaGeneric {
def main(args: Array[String]): Unit = {
def f[A : Test](a: A) = println(a)
implicit val test : Test[User] = new Test[User]
f( new User() )
}
class Test[T] {
}
class Parent {
}
class User extends Parent{
}
class SubUser extends User {
}
}14、正则表达式
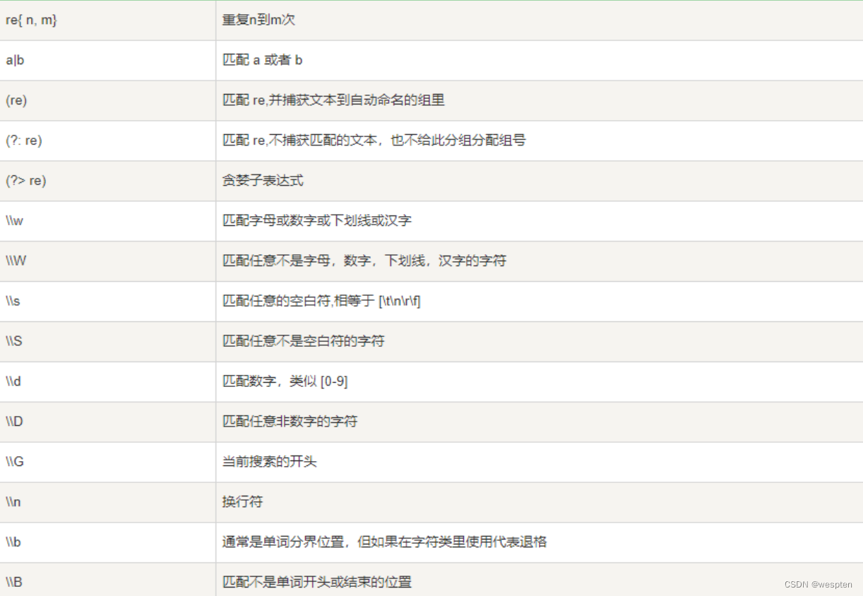
正则表达式(regular expression)描述了一种字符串匹配的模式(pattern),可以用来检查一个串是否含有某种子串、将匹配的子串替换或者从某个串中取出符合某个条件的子串等。



1. 基本语法
object ScalaRegex {
def main(args: Array[String]): Unit = {
// 构建正则表达式
val pattern = "Scala".r
val str = "Scala is Scalable Language"
// 匹配字符串 - 第一个
println(pattern findFirstIn str)
// 匹配字符串 - 所有
val iterator: Regex.MatchIterator = pattern findAllIn str
while ( iterator.hasNext ) {
println(iterator.next())
}
println("***************************")
// 匹配规则:大写,小写都可
val pattern1 = new Regex("(S|s)cala")
val str1 = "Scala is scalable Language"
println((pattern1 findAllIn str1).mkString(","))
}
}2. 案例实操
手机号正则表达式验证方法:
object ScalaRegex {
def main(args: Array[String]): Unit = {
// 构建正则表达式
println(isMobileNumber("18801234567"))
println(isMobileNumber("11111111111"))
}
def isMobileNumber(number: String): Boolean ={
val regex = "^((13[0-9])|(14[5,7,9])|(15[^4])|(18[0-9])|(17[0,1,3,5,6,7,8]))[0-9]{8}$".r
val length = number.length
regex.findFirstMatchIn(number.slice(length-11,length)) != None
}
}提取邮件地址的域名部分:
object ScalaRegex {
def main(args: Array[String]): Unit = {
// 构建正则表达式
val r = """([_A-Za-z0-9-]+(?:\.[_A-Za-z0-9-\+]+)*)(@[A-Za-z0-9-]+(?:\.[A-Za-z0-9-]+)*(?:\.[A-Za-z]{2,})) ?""".r
println(r.replaceAllIn("abc.edf+jianli@gmail.com hello@gmail.com.cn", (m => "*****" + m.group(2))))
}
}