(一) uA741集成运算放大器特性
uA741集成块器件是一款具有失调电压清零功能通用运算放大器。
此放大器具有高共模输出电压范围且无锁存,因此是电压跟随器应用的理想选择。
该放大器具有短路保护功能,并且内部频率补偿可在无需外部组件的情况下确保稳定性。失调电压清零输入之间可以连接一个低值电位器,从而将失调电压清零。
uA741特性: 短路保护,失调电压清零功能,宽泛的共模和差分电压范围,无需频率补偿,无锁存,工作温度范围0℃一70℃。
(二) uA741外观如图①,各引脚功能如图②

图① uA741外形

图② uA741各引脚功能
見图②,uA741,2脚是反相输入端,3脚是同相输入端,6脚是输出端,7脚接正电源,4脚接负电源(双电源工作时或地(单电源工作时),1脚和5脚是失调电压调零端,8脚是空脚内部没任何连接。
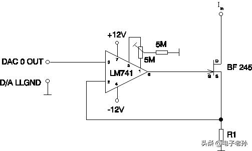
(三) uA741运算放大器应用控制电路2例,如图①,图②

图①数字/模拟输出接口电路

图②恒温控制电路
見电路图②,其工作原理: RT在低温下阻值很大,在高温下阻值变很小,即为热敏电阻(NTC负温度系数),当环镜溫度低于设定溫度时,电压比较器uA741的2脚电压高于1脚电压,4脚输出高电平,使ⅤL2发光指示,同时触发双向晶闸管ⅤTH导通,使加热器通电,加热升温。当环境温度高于设定溫度时,电压比较器uA741的2脚电压低于1脚,4脚输出低电平,于是VL2熄灭,双问晶闸管ⅤTH截止,加热断电,停止加热,从而实现温度的恒定控制。
版权声明:本文为weixin_39735166原创文章,遵循CC 4.0 BY-SA版权协议,转载请附上原文出处链接和本声明。