在大学阶段,购买并搭建了自己的第一个服务器,心情激动无比,写下本片博文记录购买并搭建服务器的全过程,方便自己以后在服务器方面进行更加深入的学习。阿里云和腾讯的服务器都有学生价,价格都是一折左右,真心实惠。本人因为学习的Java,所以偏向于阿里一点。因此,选择了购买阿里云ESC云服务器。
一、进入阿里云-云翼计划,购买服务器

这里本人购买的是阿里云ESC服务器,出于以后还要和服务器打交道,所以购买了ESC服务器,而不是轻量应用服务器。
购买之后可以设置密码,也可以购买后设置密码。


这样,就成功购买了服务器了。
二、进入管理控制台,设置服务器控制台密码和linux root 密码
进入阿里云官网,登陆进去后,点击管理控制台。

进入控制台,点击云服务器ECS->概览,可以看到,这里实例数量数。因为之前本人领取了一个月的免费服务器,作为练手试用,所以实例总数为2。这里实例就是值服务器的台数为2台。

点击云服务器ECS->实例,进入实例列表。可以看到实例的一些信息。点击刚购买的实例->管理。

点击重置密码,这里的重置密码指的是控制台的登陆密码。而登陆linux服务器的root密码是可以在下图的更多按钮中点击密码->重置密码中进行修改。


按照条件输入了新密码之后,就可以登陆linux服务器了。这里,可以有两种方式进入linux的服务器,一种是通过网页的远程连接登陆;另一种就是可以通过如XShell、putty之类的远程访问服务器的工具进行登陆linux服务器。如果没有远程访问服务器的工具,那就使用网页的远程连接。
不过,在使用网页的远程连接之前,要获取远程连接的密码。第一次使用远程连接,阿里云会给出一个初始密码。


这样,就登陆了linux服务器了。
三、在linux服务器上搭建Java环境
有两种方式在linux服务器上搭建Java环境。一、通过wget命令下载jdk。二、先在oracle官网下载好jdk的linux版本,然后再通过WinSCP将下好的jdk传输到linux服务器上。
这里,本人用的第一种方法:


下载好jdk的linux版本压缩包后,输入:
tar -zxvf jdk-8u171-linux-x64.tar.gz

安装好后,需要配置java环境变量。
进入打开系统配置文件:
vi /etc/profile
然后点击 I 进入编辑状态,在配置文件的最下面添加上:
export JAVA_HOME=/opt/jdk1.8.0_171
export JRE_HOME=![]()
![]()
![]()
![]()

![]()
![]()
![]()










![]()
![]()
![]()
![]()
![]()
![]()
![]()
![]()
![]()


JAVAHOME/jreexportCLASSPATH=.:{JAVA_HOME}/lib:![]()
![]()
![]()

![]()
![]()
![]()










![]()
![]()
![]()
![]()
JREHOME/libexportPATH={JAVA_HOME}/bin:$PATH
然后按ESC退出vim的编辑状态,输入
:wq
保存并退出。
输入以下一下命令,让配置文件生效。
source /etc/profile
然后输入:
java -version
或者
javac
来检查java环境是否配置好。
四、域名的申请、和服务器IP绑定
在阿里云网站中进行域名购买,然后进入控制台,域名管理,进行域名备份。





进入阿里云控制台,备案服务号管理,找到备案服务号,填入备案服务号。
优惠详情路径

填写好信息后,开始上传资料。


然后打印三张备案信息真实性审核单,然后拍照片,上传至阿里云。
提交后,等待阿里云进行电话确认信息。

待阿里云工作人员进行电话信息确认后,即可进行幕布拍照办理了。幕布可以免费申请。将背景为阿里云标志幕布的全身照拍好后,上传至阿里云。就可以提交到公安进行备案了。
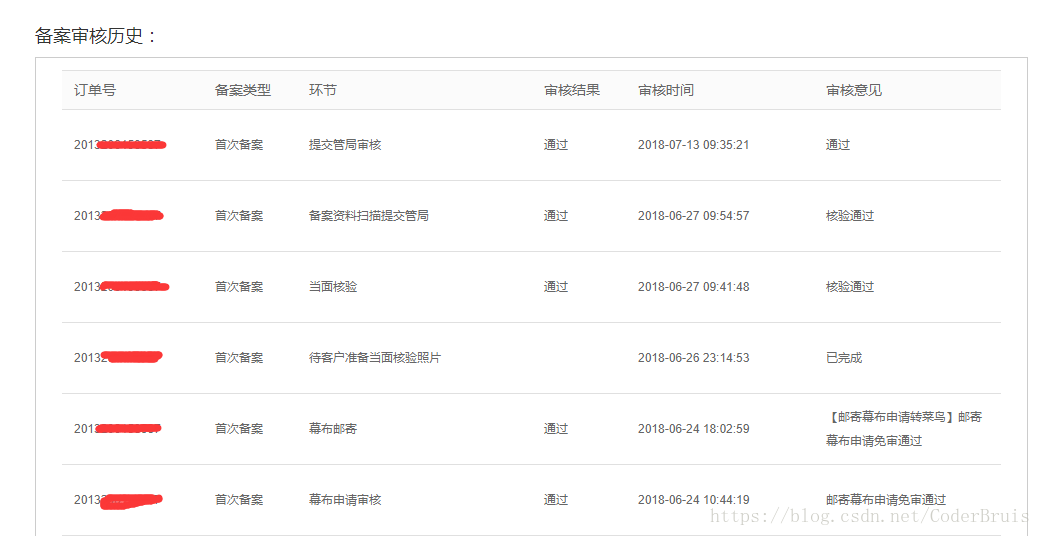
大概等个16天(本人等了16天),备案就完成了。备案成功后,会有短信以及邮箱通知。下面是备案成功后的ICP备案信息。

查看一下备案审核历史:
下面就可以将域名和IP进行绑定了。




点击确认后,重启阿里云ESC服务器。之后就可以通过域名访问自己的服务器了。
五、验证域名是否绑定成功
在服务器中,开启tomcat,并且端口改为80端口;访问域名,返回如下页面及访问成功!
这样,就可以开启我们的第一个网站之旅啦....