概述
加密算法分为单向加密和双向加密。
单向加密包括MD5,SHA等摘要算法。单向加密算法是不可逆的,也就是无法将加密后的数据恢复成原始数据,除非采取碰撞攻击和穷举的方式。像是银行账户密码的存储,一般采用的就是单向加密的方式。
双向加密是可逆的,存在密文的密钥,持有密文的一方可以根据密钥解密得到原始明文,一般用于发送方和接收方都能通过密钥获取明文的情况。双向加密包括对称加密和非对称加密。对称加密包括DES加密,AES加密等,非对称加密包括RSA加密,ECC加密。AES算法全称Advanced Encryption Standard,是DES算法的替代者,也是当今最流行的对称加密算法之一。
AES基本概念
要想学习AES算法,首先要弄清楚三个基本的概念:密钥、填充、模式。
密钥
密钥是AES算法实现加密和解密的根本。对称加密算法之所以对称,是因为这类算法对明文的加密和解密需要使用同一个密钥。
AES支持三种长度的密钥:
128位,192位,256位
平时大家所说的AES128,AES192,AES256,实际上就是指的AES算法对不同长度密钥的使用。从安全性来看,AES256安全性最高。从性能来看,AES128性能最高。本质原因是它们的加密处理轮数不同。
填充
要想了解填充的概念,我们先要了解AES的分组加密特性。AES算法在对明文加密的时候,并不是把整个明文一股脑加密成一整段密文,而是把明文拆分成一个个独立的明文块,每一个明文块长度128bit。
这些明文块经过AES加密器的复杂处理,生成一个个独立的密文块,这些密文块拼接在一起,就是最终的AES加密结果。
但是这里涉及到一个问题:
假如一段明文长度是192bit,如果按每128bit一个明文块来拆分的话,第二个明文块只有64bit,不足128bit。这时候怎么办呢?就需要对明文块进行填充(Padding)。AES在不同的语言实现中有许多不同的填充算法,我们只举出集中典型的填充来介绍一下。
- NoPadding:
不做任何填充,但是要求明文必须是16字节的整数倍。
- PKCS5Padding(默认):
如果明文块少于16个字节(128bit),在明文块末尾补足相应数量的字符,且每个字节的值等于缺少的字符数。
比如明文:{1,2,3,4,5,a,b,c,d,e},缺少6个字节,则补全为{1,2,3,4,5,a,b,c,d,e,6,6,6,6,6,6}
- ISO10126Padding:
如果明文块少于16个字节(128bit),在明文块末尾补足相应数量的字节,最后一个字符值等于缺少的字符数,其他字符填充随机数。
比如明文:{1,2,3,4,5,a,b,c,d,e},缺少6个字节,则可能补全为{1,2,3,4,5,a,b,c,d,e,5,c,3,G,$,6}
需要注意的是,如果在AES加密的时候使用了某一种填充方式,解密的时候也必须采用同样的填充方式。
模式
AES的工作模式,体现在把明文块加密成密文块的处理过程中。AES加密算法提供了五种不同的工作模式:
ECB、CBC、CTR、CFB、OFB
模式之间的主题思想是近似的,在处理细节上有一些差别。我们这一期只介绍各个模式的基本定义。
- ECB模式(默认):
电码本模式 Electronic Codebook Book
- CBC模式:
密码分组链接模式 CipherBlock Chaining
- CTR模式:
计算器模式 Counter
- CFB模式:
密码反馈模式 CipherFeedBack
- OFB模式:
输出反馈模式 OutputFeedBack
如果在AES加密的时候使用了某一种工作模式,解密的时候也必须采用同样的工作模式。
AES算法原理

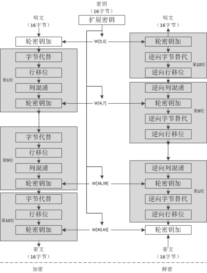
AES加密算法的流程
AES加密主要包括两个步骤:密钥扩展和明文加密。
密钥扩展:将输入的密钥(16字节、24字节和32字节)进行扩展,根据密钥长度的不同,得到扩展后的密钥进行加密的轮数也不相同。

密钥扩展算法
密钥扩展过程说明(密钥为16字节):
- 将初始密钥以列为主,转化为4个32 bits的字,分别记为w[0…3];
- 按照如下方式,依次求解w[j],其中j是整数并且属于[4,43];
- 若j%4=0,则w[j]=w[j-4]⊕g(w[j-1]),否则w[j]=w[j-4]⊕w[j-1];
函数g的流程说明:
- 将w循环左移一个字节;
- 分别对每个字节按S盒进行映射;
- 与32 bits的轮常量Rcon[j]进行异或。
轮常量(Rcon)是一个字,最右边三个字节总为0。因此字与Rcon相异或,其结果只是与该字最左的那个字节相异或。每轮的轮常量不同,定位为Rcon[j] = (RC[j], 0, 0, 0)。(RC是一维数组)
RC生成函数:RC[1] = 1, RC[j] = 2 * RC[j – 1]。
因为16字节密钥的只进行10轮的扩展,所以最后生成的RC[j]的值按16进制表示为:

RC值
十轮的密钥扩展后,就能生成44个字大小的扩展密钥。扩展后的密钥将用于AES对明文的加密过程。
明文加密:无论是AES的加密和解密过程,都涉及到四个主要的步骤:字节代替、行移位、列混淆和轮密钥加。以下对这四个过程进行详细说明。
- 字节代替:将输入状态的每个字节使用S盒上对应的字节进行替换.
输入状态:是一个4×4的数组,数组内每个元素由输入的明文分组组成,按照列进行排序,比如输入的明文数据为193de3bea0f4e22b9ac68d2ae9f84808,则输入状态为

输入状态矩阵
S盒是16×16个字节组成的矩阵,行列的索引值分别从0开始,到十六进制的F结束,每个字节的范围为(00-FF)。

S盒
进行字节代替的时候,把状态中的每个字节分为高4位和低4位。高4位作为行值,低4位作为列值,以这些行列值作为索引从S盒的对应位置取出元素作为输出,如下图所示:

S盒替换
S盒的构造方式如下:
(1) 按字节值得升序逐行初始化S盒。在行y列x的字节值是{yx}。
(2) 把S盒中的每个字节映射为它在有限域GF中的逆;{00}映射为它自身{00}。
(3) 把S盒中的每个字节的8个构成位记为(b7, b6, b5, b4, b3, b2, b1)。对S盒的每个字节的每个位做如下的变换:

S-box盒生成公式
ci指的是值为{63}的字节c的第i位。
解密过程逆字节代替使用的是逆S盒,构造方式为
![]()
逆S-box盒生成公式
字节d={05}。
- 行移位:状态的第一行保持不变。第二行循环左移一个字节,第三行左移两个字节,第四行循环左移三个字节。

正向行移位
逆向行移位将状态中后三行执行相反方向的移位操作,如第二行向右循环移动一个字节,其他行类似。
- 列混淆:将每列中的每个字节映射为一个新值,新值由该列中的4个字节通过函数变换得到。

正向列混淆
要注意,图示的矩阵的乘法和加法都是定义在GF(2^8)上的。
逆向列混淆原理如下:

逆向列混淆
- 轮密钥加(AddRoundKey):将当前分组和扩展密钥的一部分进行按位异或。
扩展密钥通过扩展密钥算法已经求出来了,所以这一步的步骤就是将分组与一部分扩展密钥按位异或操作。

轮密钥加
轮密钥加后的分组再进行一次轮密钥加就能恢复原值.所以,只要经过密钥扩展和明文加密,就能将明文加密成密文,进行解密的时候,只需要进行逆向变换即可。
图[AES加密算法的流程]中还需要注意,明文输入到输入状态后,需要进行一轮的轮密钥加,对输入状态进行初始化。前9轮的加密过程,都需要进行字节替代、行移位、列混淆和轮密钥加,但是第10轮则不再需要进行列混淆。
进行解密的时候,需要进行逆向字节替代,逆向行移位、逆向列混淆和轮密钥加。
AES算法的Java代码
- 加密
/**
* AES加密字符串
*
* @param content
* 需要被加密的字符串
* @param password
* 加密需要的密码
* @return 密文
*/
public static byte[] encrypt(String content, String password) {
try {
KeyGenerator kgen = KeyGenerator.getInstance("AES");// 创建AES的Key生产者
kgen.init(128, new SecureRandom(password.getBytes()));// 利用用户密码作为随机数初始化出
// 128位的key生产者
//加密没关系,SecureRandom是生成安全随机数序列,password.getBytes()是种子,只要种子相同,序列就一样,所以解密只要有password就行
SecretKey secretKey = kgen.generateKey();// 根据用户密码,生成一个密钥
byte[] enCodeFormat = secretKey.getEncoded();// 返回基本编码格式的密钥,如果此密钥不支持编码,则返回
// null。
SecretKeySpec key = new SecretKeySpec(enCodeFormat, "AES");// 转换为AES专用密钥
Cipher cipher = Cipher.getInstance("AES");// 创建密码器
byte[] byteContent = content.getBytes("utf-8");
cipher.init(Cipher.ENCRYPT_MODE, key);// 初始化为加密模式的密码器
byte[] result = cipher.doFinal(byteContent);// 加密
return result;
} catch (NoSuchPaddingException e) {
e.printStackTrace();
} catch (NoSuchAlgorithmException e) {
e.printStackTrace();
} catch (UnsupportedEncodingException e) {
e.printStackTrace();
} catch (InvalidKeyException e) {
e.printStackTrace();
} catch (IllegalBlockSizeException e) {
e.printStackTrace();
} catch (BadPaddingException e) {
e.printStackTrace();
}
return null;
}
- 解密
/**
* 解密AES加密过的字符串
*
* @param content
* AES加密过过的内容
* @param password
* 加密时的密码
* @return 明文
*/
public static byte[] decrypt(byte[] content, String password) {
try {
KeyGenerator kgen = KeyGenerator.getInstance("AES");// 创建AES的Key生产者
kgen.init(128, new SecureRandom(password.getBytes()));
SecretKey secretKey = kgen.generateKey();// 根据用户密码,生成一个密钥
byte[] enCodeFormat = secretKey.getEncoded();// 返回基本编码格式的密钥
SecretKeySpec key = new SecretKeySpec(enCodeFormat, "AES");// 转换为AES专用密钥
Cipher cipher = Cipher.getInstance("AES");// 创建密码器
cipher.init(Cipher.DECRYPT_MODE, key);// 初始化为解密模式的密码器
byte[] result = cipher.doFinal(content);
return result; // 明文
} catch (NoSuchAlgorithmException e) {
e.printStackTrace();
} catch (NoSuchPaddingException e) {
e.printStackTrace();
} catch (InvalidKeyException e) {
e.printStackTrace();
} catch (IllegalBlockSizeException e) {
e.printStackTrace();
} catch (BadPaddingException e) {
e.printStackTrace();
}
return null;
}