解释一下名词
透传消息:无论手机app,是否在运行(打开了),还是清了后台(关闭),都可以收到消息
通知消息:只能app打开了,才能收到1.开通unipush

2.点击上图的unipush2.0下面的配置,进入以下页面,选择平台,将其余项配置好(关联服务空间后面讲)
3.进入开发者中心

4.点击上图中的应用信息,可以配置应用
5.点击上图厂商推送设置,进入,并配置文件

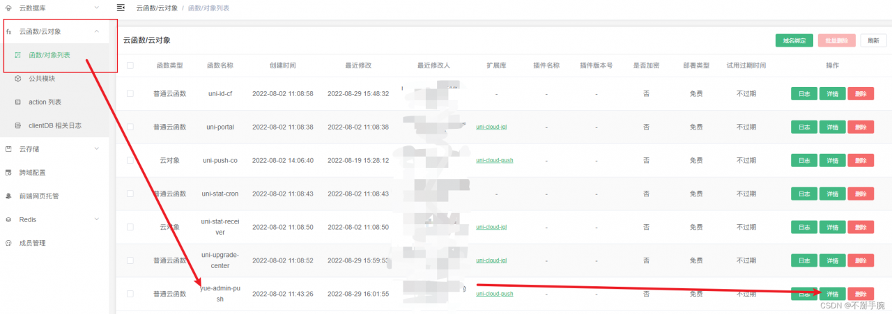
6.返回到步骤三的页面,点击消息推送,点击透传消息,进入

进行如下输入

获取cid

在项目的app.vue文件中,写入以下代码

制作自定义基座,并运行,用测试证书即可

运行(选择ios app基座)

然后在hbx的运行台中获取cid

运行时选择,链接云端函数

把cid复制到,这里

安卓配置(需要特殊注意-通知类型这个格式,他的写法是固定的,下面给出固定格式,你只要把安卓包名换掉即可)
intent:#Intent;action=android.intent.action.oppopush;launchFlags=0x14000000;component=安卓包名/io.dcloud.PandoraEntry;S.UP-OL-SU=true;S.title=测试标题;S.content=测试内容;S.payload=test;end
获取安卓包名的方法


点击预览

再次输入cid,之后点击后面的测试即可,无需点击确定,点击确定,有可能会影响线上用户

然后你就可以收到推送信息了
关联云服务空间,按照以下步骤进入,
1.打开uniapp官网
2.:进入unicloud,创建,建议选阿里云。方便后续操作
关联服务空间
先安装这个插件
- https://ext.dcloud.net.cn/plugin?id=3268
然后在插件里面需要再重新装一下这个插件
https://ext.dcloud.net.cn/plugin?id=8686


运行这个框架时,需要注意选择云端函数,不然会登不上

刚下载完只有这本身一个项目,而我们要添加要推送的项目

刚进来,没有这个目录,自己添加




在你原来的项目里,要推送的项目

安卓离线推送,需要保活,插件市场有专门的的插件,暂不推荐了
ios离线推送需要插件,
https://ext.dcloud.net.cn/plugin?id=7482



需要注意,ios使用自己的语音,一定要把包名配置对

测试方法

到此为止前端的任务就结束了
下面介绍后端发送请求
首先去uniCloud中,找到这里
这里配置url化,方便后端请求,默认即可,后面自己加个后缀,复制路径

然后我们就可以测试一下了,返回结果如下,就算可以了,不放心自己可以去云函数日志里看看,即可,参数与设置的云函数的对应一下呀
所需参数:

JAVA代码
public void test(){
HashMap<String, String> data =new HashMap<>();
data.put("title","支付111");
data.put("content", "支付宝收款100元1111");
data.put("push_clientid", "");
String data1 = ParaMap.create()
.put("push_clientid", "" )
.put("title", "支付")
.put("content", "支付宝收款100元1111")
.getPostData();
System.out.println(HttpKit.post("",data1));
}
测试结果

文章到此结束,细心按照步骤来,一定能实现,加油!
有问题可以发私信,需要帮忙调试的,请用打赏声,叫我,创作不易。
